高压卡套球阀
GB标准气动球阀
销售:13671530603
咨询:021-57522756
邮箱:sw@wotuo.net
地址:上海市奉贤区川南奉公路9860号
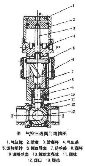
气控三通阀门的结构
三通阀门在化工、塑料、铸造业中应用广泛,过去大都是人工操作。随着科学技术的发展,自动控制技术已广泛应用于各个生产领域,气控三通阀门就是在这种情况下诞生的。气控三通阀门可以通过电一气控制技术在生产过程中实现自动控制。
气控三通阀门的结构如图 1。

图 1 气控三通阀门结构图(1.气缸体 2.活塞 3.活塞杆 4.气缸盖 5.滚柱组件 6.螺旋导套 7.防护盖 8.阀杆 9.调整丝套 10.螺旋套壳体 11.阀体 12.阀口 13.阀芯)
气控三通阀门的工作原理如下:
如图 1,气控三通阀门的结构气控三通阀门由上、中、下 3 部分组成,上部为一双作用气缸,中部为一旋转部组件,下部为一三通球阀。活塞 2 在气缸上端时,Ⅰ腔与Ⅱ腔相通,当气源从 P1 进入气缸时,气缸中活塞 2 在气压的作用下向下运动,活塞杆 3 带动滚柱 5 沿螺旋导套壳体导向槽向下运动使螺旋导套 6 旋转,当活塞 2 向下运动至气缸下端时,螺旋导套旋转 90°,螺旋导套带动球阀阀杆 8 旋转 90°,阀芯 13 旋转 90°,这样Ⅰ腔与Ⅱ腔隔离,Ⅰ腔与Ⅲ腔相通。
反之,当气源从 P2 进入气缸时,气缸中活塞 2 在气压作用下向上运动,活塞杆 3 带动滚柱 5 向上运动,使螺旋导套 6 旋转,当活塞 2 向上运动至气缸上端时,螺旋导套向反方向旋转 90°,螺旋导套带动球阀阀杆 8 反向旋转 90°,阀芯 13 反向旋转 90°,这样Ⅰ腔与Ⅲ腔隔离,Ⅰ腔与Ⅱ腔相通。
气控三通阀门可以通过气动电磁换向阀控制 P1、P2 口的进出气方向来控制。气控三通阀门可以通过的介质为流体、气液混合体及半流体。