高压卡套球阀
GB标准气动球阀
销售:13671530603
咨询:021-57522756
邮箱:sw@wotuo.net
地址:上海市奉贤区川南奉公路9860号
一、前言
为了满足高温、低温、强腐蚀、强冲蚀以及长寿命等工业的使用要求,金属密封蝶阀成为近年来发展最快的阀门品种之一。在一些特殊场合对金属硬密封蝶阀的密封提出了更高的要求,必须双向承压。而目前国内外市场上金属硬密封蝶阀多采用双偏心和三维偏心密封原理,这两种密封结构都是在介质正向流动状态下,密封效果较好;当介质在逆流状态时,由于介质的压力作用于蝶板产生偏心力矩,不利于阀门的密封。再则,由于机加工的间隙问题,反向密封性能大大降低。
二、结构
楔式双向金属密封蝶阀(如图 1 所示)是以开、关阀时自动研磨密封补偿理论为基础,结合闸阀、可撑拢球阀、轨道式球阀等产品结构特点设计而成的。

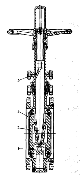
图 1 轨道楔式双向硬密封蝶阀结构图(1.弹黄定位销 2.燕尾槽收缩机构 3.双阀座密封结构 4.螺旋升降机构)
弹赞定位销可保证蝶板不会因为蝶板重力作用下坠,还可在下阀杆端部设置调整块来保证蝶板位置固定。在整个启闭过程,阀杆依靠燕尾槽收缩机构、螺旋升降轨道完成垂直直线运动,而蝶板须依靠燕尾槽收缩机构、螺旋升降轨道完成向中心收缩脱离阀座,在这一过程中密封面采用先脱开后开启的方式,保证从密封到瞬时脱离阀座后始终保持间隙,没有摩擦,所以阀门密封面没有磨损,使用寿命长,扭矩小。而且由于阀杆的楔形块与燕尾槽的作用,对阀门增加了强制密封力,增大了密封比压,实现双向密封。
组合式密封圈可根据用户使用需求采用以聚四氟乙烯为主要材料加工成型的软密封圈、由不锈钢与柔性石墨层叠压而成的多层密封圈或整体不锈钢全金属密封圈等各种形式。依靠其对称设置的左右蝶板,分别与阀体内对称设置的左右阀座的密封贴合,没有偏心距,形成两道密封,从而大大提高了密封性能的可靠性,蝶板双向零泄漏。
本产品还可在阀体中部增加水封装置,它可以在发生紧急情况或管线检修时往中腔充水,起到安全保障和一阀二用的作用。
楔式双向金属密封蝶阀采用了双蝶板全锥面密封面结构,可以实现开关阀过程中蝶板密封面与阀体密封面不断的进行研磨、自我矫正,提高了使用寿命。操作过程由于介质压力是有助于阀门开启的,所以减小了操作力矩。
三、结语
楔式双向金属密封蝶阀的密封结构新颖独特,双蝶板具有双向密封功能,因此更适合于高温、高压的工况。阀门加工工艺性好,设计制造成本低,是一种适应高技术参数、高性能工业输送系统的硬密封蝶阀。