高压卡套球阀
GB标准气动球阀
销售:13671530603
咨询:021-57522756
邮箱:sw@wotuo.net
地址:上海市奉贤区川南奉公路9860号
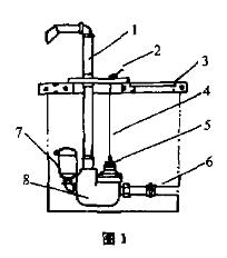
PDJ-100-I射流防冻阀结构及工作原理
1 引言
在我国北方地区,冬季最低气温大都在 -30℃ ~ -20℃ 之间,个别地区可达 -40℃,大地冻层深度一般在 0.5 m ~ 1.5 m 之间,这对于农村和城市冬季用水是个很大的困难。目前,在自来水工业中,现有的防冻装置或者结构复杂、价格较高;或者滴漏严重,使用效果不理想。我们根据喉管射流原理研制成功的 FDJ-100-I 型射流防冻阀,克服了上述防冻装置的缺点,具有良好的防冻效果。

| 供水压力 / MPa | 储水罐里的水全部抽走所需时间 / s | 出水管流量 / L s-1 | 出水管回水时间 |
|---|---|---|---|
| 0.05 | 9.3 | 0.418 | 11 |
| 0.2 | 2.93 | 0.729 | 10.6 |
| 0.3 | 2.43 | 0.791 | 10 |
4 技术性能
1) 外形尺寸:长 × 宽 × 高 = 300 mm × 70 mm × 1590 mm。
2) 防冻深度为 1 m 以下。
5 特点
1) 结构简单、紧凑,体积小,制造成本低,防冻效果好,使用方便。
2) 将射流喉管与储水罐巧妙的结合起来,解决了一般防冻阀的滴漏问题。
3) 每开启一次,储水罐里的水就被更新一次,不会造成水质污染和水源浪费。
4) 对供水压力要求低,适用性能好。
6 应用前景
PDJ-100-I 型射流防冻阀适用于我国北方地区农村和城市的冬季用水。通过改变储水罐的容积,可以适应不同的防冻深度,市场前景广阔。