高压卡套球阀
GB标准气动球阀
销售:13671530603
咨询:021-57522756
邮箱:sw@wotuo.net
地址:上海市奉贤区川南奉公路9860号
阀门常见故障及维修
本书共分 7 章。主要介绍国内外工业管道及阀门的现状与发展;工业管道及阀门维修、安装必备的基本知识;管道布置和常用竹材、管件及附件;介绍管通和阀门的修理及安装;管道的试压与防腐保温;管道故障及维护。附录还介绍管路系统图形符号和图例。
本书可供管道、阀门机械设备维修人员和广大工程技术人员参考使用。
序言
由中国机被工程学会设备与维修工程分会主编,机械工业出版社 1964 年 12 月出版发行的 《机修手册》(8 卷 10 本),深受设备工程技术人员和广大读者的欢迎,曾于 1978 年和 1993 年两次再版和 6 次印刷,对我国设备管理和维修工作起到了积极的作用。
随着科技发展和知识更新,设备的更新换代,《机修手册》的内容已不能适应时代发展的要求,应该重新编写和修订。但是,由于工程浩大,力不从心。为满足广大设备管理和维修工作者的需要,经机械工业出版杜和中国机械工程学会设备与维修工程分会共同商定,从《机修手册》中选出部分常用的、有代表性的机型,充实新技术、新内容,以丛书的形式重新编写。
从 2000 年开始,中国机械工程学会设备与维修工程分会组织四川省设备维修学会和中国第二重型机械集团公司、中国航天工业总公司第一研究院、兵器工业集团公司、沈阳市机械工程学会、陕西省设备维修学会和陕西鼓风机厂,上海市设备维修专业委员会和上海重型机器厂、天津塘沽设备维修学会和大沽化工厂、大连海事大学、武汉钢铁公司氧气有限责任公司、广东省机械工程学会和广州工业大学、山西省设备维修学会和太原理工大学等单位进行编写。
从 2002 年开始.到现在已经出版 19 种。其中,2002 年出版了《液压与气动设备维修问答》、《空调制冷设备维修问答》、《数控机床故障检测与维修问答》、《工业锅炉维修与改造问答》4 种;2003 年出版了《电焊机维修问答》、《机床电器设备维修问答》、《电梯使用与维修问答》3 种;2004 年出版了《风机及系统运行与维修问答》、《发生炉煤气生产设备运行与维修问答》、《起重设备维修问答》、《输送设备维修问答》4 种;2005 年出版了《工厂电气设备维修问答》、《密封使用与维修问答》、《设备润滑维修问答》3 中。2006 年出版了《工程机械维修问答》、《工业炉维修问答》2 种。2007—2008 年出版了《泵类设备维修问答》、《段压设备维修问答》、《铸造设备维修问答》3 种。2009 年已出版与将出版的有《空分设备维修问答》、《压力容器设备管理与维护问答》、《工业管道及阀门维修问答》。
正在编写的有《矿山机械设备维护问答》、《焦炉机械设备安装与维护问答》。
我们对积极参加组织、编写和关心支持丛书编写工作的同志表示感谢,也热烈欢迎从事设备与维修工程的行家里手积极参加丛书的编写工作,使这套丛书真正成为从事设备维修人员的良师益友。
编写说明
管道及阀门在国民经济建设和人民生活中是不可缺少的设施。它涉及的领城较为广泛,例如:热能传递,给排水,各种气体,液体和物料输送。均要靠管道的输送来完成。
从 20 世纪 50 年代开始,管道的接口采用焊接结构代替螺纹联接。管道的材质从铸铁和碳钢单一品种发展为多品种。仅从钢的品种而言,就有碳钢、合金钢、耐热钢、耐酸钢、不锈钢等。有色金姚管材有铝及铝合金、铜及铜合金、铅及铅合金等。非金属管材有硬质聚氯乙烯管、水泥管、石棒水泥管、耐酸陶瓷管等许多品种。焊接工艺技术也随着管材有了新的发展。因此,甘道及阀门维修、安装也有了新的要求和国家新的标准检验。为此,中国机械工程学会设备与维修工程分会和机械工业出版社组织编写了《工业管道及闷门维修问答》。
《工业管道及阀门维修问答》 是结合我们的实践。对《机修手册》第 5 卷第 6 篇工业管道的修理进行了修订。并增加了管道及阀门维修、安装必备的基本知识,以及新检修标准和先进维修方法,对管道及阀门的使用、维护、检修都有一定指导作用。这是管道及阀门的管理、选用、维修、安装人员必备的一本新书。
本书第 1、3、7 章由王凤喜编写,第 2、4 章由黄进旗编写,第 5 章由朱佺编写,第 6 章由杨晓滨编写,附录由徐游编写,孙先强也参加了部分编写。全书由蒋世忠,曾翰林审稿。本书在编写过程中得到中国策二重型机械集团公司总经理石柯,副总经理曾祥东。装备部长郭国英等的热情帮助和支持,在此表示感谢。
答:近年来,国外在管道完整性管理方面开展了大量的研究和实践。在 2006 年召开的国际管道会议上,介绍了美国管道完整性管理的最新进展和发展趋势,包括管道完整性管理的进展与实践、直接评价技术、内检测技术进展等方面,并对我国开展管道完整性管理工作提出了建议。
(1)概述
国际管道会议(International Pipeline Conference)是由美国机械工程师学会(ASME)主办的全球油气管道工业界的盛会。2006 年 9 月 24~29 日,国际管道会议在加拿大卡尔加里市举行。管道完整性管理 PIM(Pipeline Integrity Management),在此会议上依然是国际管道工业关注的热点,论文多大 95 篇,内容涉及管道完整性管理及技术的各个方面,体现了管道完整性管理的最新进展。
根据此会议情况,对美国危险液体管道完整性管理检查工作、直接评价技术和内检测技术的最新进展和发展方向进行了分析,并针对上述方面对我国开展管道完整性管理工作提出建议。
(2)对危险液体管道完整性管理工作的检查
2002 年 11 月,美国国会通过了专门的 H.R.3609 号法案—《管道安全增进法》,并于 2002 年 12 月 27 日 经总统签署后生效。此法案要求管道运营商在出现安全后果严重地区实施管道完整性管理计划,按照管道长度对管道进行了分类:长度超过 804km(500mile)的为一类管道,长度小于804km(500mile)的为二类管道。要求运营商在 2004 年 9 月 30 日前,完成一类管道 50% 的基线评价;在 2005 年 8 月 16 日前,完成二类管道 50% 的管道基线评价。
为检查管道运营商对法案的执行情况及进一步推进完整性管理,美国管道和危险物质管理局(PHMSA)从 2002 年 9 月开始,对危险液体管道完整性管理的实施情况进行了首轮检查。在首轮检查中,PHMSA 完成了所有一类管道以及部门二类管道的检查。截止 2005 年 12 月,并完成了 175 个危险液体管道的首轮检查,管道合计 273104km(169841mile),其中以确定为出现安全后果严重地区的为 121534km(75581mile)。在总结首轮检查经验的基础上,从 2005 年中期开始,PHMSA 及其州属管道安全机构开始对危险液体管道进行第二轮检查,重点在于落实首轮检查中发现的需要改进的地方以及高风险因素。
1)检查内容:根据《风险管理示范纲要》、《系统完整性检查指导纲要》,以及 APLI160《危险液体管道完整性管理》标准,对管道运营商建立完整性管理体系的要求。检查内容包括:①检查完整性管理方案的程序、执行情况和文档编制;②检查管道运营商完成的完整性评价;③检查内检测结果及问题识别;④检查修复和减缓计划;⑤确认是否按法规要求的时间进行修复;⑥检查试压记录是否按联邦法规 49CFR495 执行,检查运营商对所有实验失效的评估;⑦确认预防和减缓措施是否得到执行;⑧检查组进一步对资产、实际修复、直接评价及完整性管理方案相关的内容进行全面监督。
2)检查结果:绝大多数管道运营商已经建立并执行了完整性管理体系,基本掌握了后果严重地区的管段,并按照规则要求,对这些地区进行了完整性评价。截止 2005 年 12 月,已经完成了 86% 的危险液体管道的基线评价,只有极少数运营商未在最后时限前完成 50% 管段的完整性评价。在首轮检查中,PHMSA 对 1200 个需要“立即修复”的缺陷处理情况进行了核实。除需要立即修复或 60 天、180 天之内必须修复的情况外,运营商也修复了大量的其他异常情况,运营商也修复了大量的其他异常情况。行业数据显示,2004 年共有 11674 种情况被修复或减缓,包括影响后果严重地区和非影响区域。
PHMSA 总结首轮检查经验,就以下方面提出了改进意见:①数据整合。有效的数据整合是完整性管理的关键,目前已经开发了一些工具和方法,对不同类型数据进行组合分析,但这方面的工作还处于开始阶段。②对内检测结果的响应。部分运营商没有利用内检测的结果进行分析,未及时根据内检测结果制定并执行修复或减缓计划,从而影响了对内检测结果的有效利用。③风险分析。多数运营商已应用风险分析技术,对进行基数评价的管道进行排序;但一些运营商所运用的风险模型,还没有覆盖管道风险的全部范围,仍然需要改进分析方法以覆盖所有风险,尤其是要整合所有数据来恰当地评价管道风险。④预防和减缓措施。首轮检查中发现许多运营商缺乏预防和减缓措施的分析,包括对捡漏能力及紧急情况处理能力的评估。在已经开始的第二轮检查中,还未见到明显的改进。⑤持续的评估和评价。完成基线评价后,在如何合理确定周期评价的时间间隔方面,需要进行进一步研究,应着重于分析运营商进行周期评价的实施效果。⑥完整性管理实施细则。APLI160 是完整性管理的通用标准,运营商还应建立实施细则,以增强完整性管理的有效性。⑦完整性决策和分析的技术基础。运营商仍然没有充分的利用历史数据,来决定风险因素和再评价;另外,对历史数据不充分情况下的决策分析方法有待改进。PHMSA 希望有更多的技术和方法,作为完整性决策和分析的基础。⑧完整性程序文件。文件编制的完整性和质量,是完整性程序的关键要素。许多运营商对评价记录、修复记录、文件的编制过程、技术验证、决策基础缺乏足够的重视。
(3)直接评价技术的进展
内检测、试压、直接评价是管道完整性评价的三种主要方法。尽管智能检测器在不断更新,但仍有许多管道不能使用内检测设备,试压法是针对一些特定管道的评价方法,但要求管道在停输状态下使用。对无法进行内检测和试压的管道,可以选择使用直接评价技术进行完整性评价。与内检测、试压等传统评价方法相比,直接评价具有成本低、易实施等特点。近年来,许多管道运营商在完整性管理方案中,已经列入了直接评价技术,例如:在 Gasunie 公司管辖的 12000km 的高压管道中,仅有 50% 适合进行管道内检测,该公司从 2005 年开始,对不适合内检测的管道进行直接评价。
1)直接评价方法及相关技术:直接评价是一种把管道的物理特性、操作历史与管道的检测、检查结果结合起来,采用不开挖检测技术(一般为地上或间接检测)、并根据检测结果进行开挖和检查,来确定管道完整性的方法。一般分为预评价、间接检测、直接检查、后评价四个步骤:①预评价。通过数据收集和分析、确定直接评价是否可行,划分评价区域和选择间接检测工具。②间接测评。主要为地面检测,目的是确定涂层缺陷严重程度、其他异常及管道上已发生或可能发生腐蚀的区域。③直接检查。根据间接检查结果的分析,来选择开挖点位置和数量,并在开挖后对管道表面直接检查。④后评价。验证直接评价方法的有效性,并确定下一次评价的时间间隔。
直接评价按照管道的威胁因素,分为外腐蚀直接评价(ECDA)、内腐蚀直接评价(ICDA)和应力腐蚀开裂直接评价(SCCDA)。
ECDA 方法已较成熟。2002 年,美国腐蚀工程师协会(NACE)提出了 ECDA 方法的推荐标准 NACE RPO502-2002《管道外部腐蚀直接评价推荐作法》。
ICDA 方法分为三类,分别适用于干气、湿气和液体管道。目前针对干气的 ICDA 方法,还有还有许多技术难题要克服。
SCCDA 方法步骤与 ECDA 相似,重点是识别容易发生 SCC 的情况和评估可疑的管道系统。此方法适用于高 pH 值的 SCC(传统的)和接近中性 pH 值的 SCC(新型 SCC)。目前,北美已着手建立应力腐蚀开裂的直接评价方法。针对应力腐蚀开裂压力试验间隔时间的方法的研究也有了新的进展。
直接评价方法是实施,需要间接检测方法作为技术支持。为提高检测可靠性,NACE 要求运营商使用两种或更多间接检测工具,已对检测结果相互验证。
常用的间接评价及时有直流电位梯度检测技术(DCVG)、密间隔电位检测技术(CIPS)、交流电流衰减技术、电压差技术等。
直接点位梯度检测技术用来探测和查明涂层缺陷。其原理是:在施加了阴极保护埋地管线上,电流经过土壤介质,流入管道防腐层破损而裸露的管道处,在管道防腐层破坏处地面上形成一个电压梯度场。在接近破损裸露点部位,电流密度增大,电压梯度增大。一般情况下、电压梯度与裸露面积成正比例关系该技术能检测出较小的防腐层破损点、并可以精确定位,误差为 ±15cm。这是世界上比较先进的埋地管道防腐层缺陷测试技术。
密间隔电位检测技术是当今尖端的检测技术之一,是一种用来提供管道对地电位与距离关系的地面检测技术,能指示管道沿线的阴极保护效果,指出缺陷的严重性,并自动采集数据。其缺点是工作人员需携检测设备沿管道连续测量,其检查结果不能指示图层的剥离情况,还可能受到干扰电流的影响使用范围受到一定的限制。
交流电流衰减技术采用等效电流原理,来评价防腐层绝缘电阻。当外加交流电流流过管道时,在管道周围产生相应的磁场。当管道外防腐层完好时,随着管道的延伸,电流较平衡,无电流流失现象或流失较少,其管道周围产生的磁场比较稳定;当管道外防腐涂层破损或老化时,在破损处就会有电流流失现象,随着管道的延伸,其在管道周围磁场的强度就会减弱,这是目前国内外应用比较成熟的一种检测方法,可长间距快速探测整条管线的防腐层状况,也可缩短间距对损破点进行定位。
电流差检测技术原理是:在管道与大地之间施加的交变电压信号,通过管道防腐层破损点处时,会流失在大地土壤中;因而电流密度随着远离破损点的距离而减小,在破算点的上方地表面形成了一个交流电压梯度,经过滤波放大后,显示检测结果。
根据 2006 年国际管道会议上战士的最新研究结果,美国西南研究院和 CC 技术公司,开发了应用薄膜腐蚀传感器与移动无线技术相结合的检测管道内腐蚀的技术;中国石油天然气集团公司,开发了应用超声导波测量管道涂层内腐蚀技术;PETROBRAS 公司开发了应用声学发射技术的直接评价方法;Trans Canada 公司开发出了应用磁学的金属损失检测工具等。目前,结合 DCVC、CIPS、后处理差分全球定位系统(dGPS)三种技术的新型检测设备正在研发之中。
2)直接评价技术标准:美国腐蚀工程师协会(NACE)正在或已经编制了ECDA、DG-ICDA(干气)、WG-ICDA(湿气)和 SCCDA 标准。ECDA 标准已经完成,也会并入该项规则。NACE 关于 DG-ICDA 的标准有望在近期出台;WG-ICDA 和液体管道 ICDA 的初稿还处于编制的前期阶段,有望在 NACE 2007年国际腐蚀会议上进行讨论。
3)专题研究工作:为加强完整性相关技术的研究,美国国会加大了对 PHMSA 管道安全研发项目的支持力度。经过过会的授权,PHMSA 重点资助了一些研发项目,以加强美国能源运输和配送管道的安全性、可靠性和合乎环境要求的操作工艺的解决方案。从 2002 年开始,PHMSA 一共支持了 25 个与直接评价技术相关的研发项目,一些工业组织、管道运营商、管理者和研究机构共同为这些项目提供了近 1400 万美元的资助。这些项目由美国、加拿大和欧洲的研究机构分别承担,重点在于扩大直接评价的应用范围,以及在直接评价过程中各项完整性技术的整合。国际管道研究会(PRCI)、美国天然气协会(AGA)和美国能源部州际天然气协会(INGAA)等组织,也对许多企业和项目进行了赞助。
这些专题研究包括了实际效果研究、间接检测设备应用效果、流体力学模型、直接评价的不正确性和可靠性、对实践的总结等,具体有以下几个方面:①对 ECDA 和内检测数据进行对比,以对 ECDA 方法进行验证;通过实例论证 NACE 发布推荐的有效性;对复合管、光管、岩石区和其他难以进行 ECDA 评价的情况进行试验;对不合适进行 ECDA 评价的条件进行研究;针对难以进行 ECDA 的区域开发机器人系统。②检查验证 DG-ICDA 作为预测内腐蚀位置的方法,开展对 WG-ICDA 的初步研究。③评估导波技术的有效性,研究对远距离超声导波信号的增强及区域扩大可能性的评估;远距离超声导波与计算机终端的数据处理和通信系统结合技术;加大地面检测管壁金属损失工具的研发力度,使之能与智能检测器技术抗衡。
PHMSA 和美国管道安全代表协会(NAPSR),联合组织美国能源部州际天然气协会(INGAA)、美国天然气协会(AGA)、美国腐蚀工程师协会(NACE)、美国民用天然气协会(APGA)举办了论坛,专题讨论与天然气完整性相关的直接评价技术。PHMSA 向管理者和行业推介直接评价研发的现状,提供直接评价实施的典型案例。并讨论 NACE 有关 ECDA、ICDA、SCCDA 标准的进展情况。
直接评价技术将不断为现在难以评价的区域,提供改进了的解决方案。直接评价不仅作为一种制药的评价工具,同时作为智能检测器和试压的辅助工具,将具有更加广泛的应用前景。
(4)内检测技术的进展以及存在的问题
随着完整性管理的发展,需要精确可靠的数据,来执行先进的完整性评价计划和优化方法;对内检测器的精确性、可靠性、可重复性、可对比性以及高分辨率等方面,提出了更高的要求。各种检测技术不断发展,应用各种原理的管道智能内检测不断更新,内检测技术取得了实质性的进展,但仍然存在一些问题。
1)裂纹内检测技术:目前最适合于检测裂纹的技术是超声波方法,脉冲波在管道内表面和表面反向产生周向横波;如果脉冲遇到裂纹,他就会原路返回并被变换器接收,由此检测到该裂纹的存在。其主要优点是能够提供对管壁的定量检测,具有较高的数据精度和置信度;缺点是需要耦合剂,应用于输气管道时较复杂。
德国 ROSEN 公司研发出一种新型高分辨率超声波检测器。该探测器使用电磁声波传感检测技术(EMAT),提供了能有效和精确地检测裂纹的新方法。研究人员花费 2 年的时间,验证 EMAT 传感器的技术和设计,从实验室获得的大量数据,证明了 EMAT 作为探测管道应力腐蚀开裂和其他结构缺陷的可行性。这一新型检测器已经通过了工业试验,可以判断 SCC、涂层剥落、其他裂纹缺陷、异常沟槽、人为缺陷等。该技术最大优点是借助电子声波传感器,代替了传统的压电传感器,使超声波能在一种弹性导电介质中得到激励,不需要机械接触或液体耦合,是适用于天然气管道的超声裂纹检测器,其检测指标见表 1-1。
| 工具参数 | 检测参数 | ||||||||
| 温度范围/℃ | 最大工作压力/MPa | 速度范围/(m/s) | 最长操作时间/h | 弯曲半径 | 距离/km | 壁厚/mm | 最小检测临界值/mm | 轴向经度/(°) | |
| 深度 | 长度 | ||||||||
| 0~65 | 15 | 0.3~5 | 72 | 3D | 120 | 5~20 | 1 | 20 | ±18 |
注:D 为管径
传统的裂纹探测器可检测的裂纹长度最小临界值为 30mm。由表 1-1 可见,新型检测器的裂纹长度最小临界值达到 20mm。
2)同时进行金属损失和裂纹的内检测技术;金属损失及裂纹是管道的两大主要缺陷,存在于管道的整个生命周期内。在现有技术条件下,管道运营商必须分别使用裂纹探测仪和金属损失检测仪,对管道的金属损失和裂纹进行检测,这会花费巨大的精力和财力。
2006 年的国际管道会议上,美国 GE-P Ⅱ 和德国 NDP 公司分别推出了一种先进的内检测器。应用新一代超声、电子技术与相控阵技术相结合,对超声波传感器进行了全新的设计,把金属损失、壁厚及裂纹检测功能融为一体,实现了一次通过可以同时检测出管道的腐蚀和裂纹。
该技术的特点是:电子设施控制的超声波束允许一次通过检测金属损失和裂纹;优化的传感器、超声波束及大量的测量通道,实现了覆盖整个管壁圆周的高分辨率;可敏感地探测小的凹陷和腐蚀造成的裂纹。
相控阵技术与传统超声技术相比,报本改进在于:传统无损检测技术使用的超声波束的形状及传播方向.被每个传感器所固定,每个独立的传感器被固定排列,如果测量条件改变,则必须改变传感器的排列类型;相控阵技术所使用的传感器的排列和发射模式是程序化的,每个独立的传感器具有可以发射不同方向及不同声束特性的功能,当测量条件发生变化时,超声波束的设置全部由计算机界面执行操作,不需要再对传感器进行人工校准。
GE-P Ⅱ 公司的一次通过可同时检测金属损失及裂纹的新一代超声波检测器,已经在 2005 年 3 月应用于欧洲一条管径为 609.6mm(24in)的成品油管道,并于 2005 年 9月,对北美一条管径为 863.6mm(34in)的原油管道进行了检测。这两条管道以前均使用过金属损失检测器和裂纹检测器,与以往的检测数据进行对比表明,可以是圆周分辨率从 8mm 提高到 3.3mm。相控超声技术内检测器不仅分辨率高,节约时间和费用,同时检测数据具有高效的精确度和可靠度。
3)机械损伤检测技术:机械损伤来自对管道表面的直接冲击,包括岩石与管道的直接接触、不适当的建设行为以及第三方挖掘等。有些损伤在未被发现情况下会维持相当长的时间,从而进一步形成腐蚀或裂纹,有可能导致管道以后的失效。目前,机械损伤已经成为导致管道失效的主要原因之一。管道运营商希望通过使用适当的内检测工具,可以检测各种原因造成的、影响管道有效内径的几何异常现象,并确定其程度和位置。
最近两年,几何检测要求提高了,其中对凹陷尺寸的最小要求是:高分辨率的几何工具应该能够探测和定位深度大于等于 6.35mm(0.25in)的凹陷,而再用的几何检测器现状是:对椭圆变形和大的变形难以提供凹陷评价的有效信息,基于 78 例现场挖掘证实,其探测率仅为 32%,无法满足要求;对凹陷和椭圆变形的特征仍然没有一个适当的缺陷评价技术。对凹陷和机械损伤的高质量内检测过程,应能提供要求的信息,如凹陷的几何形状和数据,这些都对探测器机械损伤的内检测提出了更高的要求。
漏磁(MFL)技术应用于管道内检测,已有超过 40 年的时间,一般用来探测腐蚀造成的金属损失,是目前最适宜的腐蚀检测技术;但由于机械损伤产生的漏磁信号,不能很好地判断的 MFL 技术很少用于检测机械损伤带来的缺陷,在识别第三方破坏方面效果不佳。来自凹陷的漏磁信号的解释困难由以下原因造成:机械损伤的漏磁信号在几何和应力的作用下是重叠的;机械损伤区域的应力分布十分复杂,包括塑性变形和残余应力。
由于楼此技术被认为是最具有成本效率的内检测方法。管道运营商、管理者和研发人员都希望提高漏磁技术检测机械损伤的灵敏度,从而使漏磁探测技术有效应用于机械损伤缺陷的识别。目前该项工作有了以下新的发展:①德国 ROSEN 公司开发出用于内检测器的新一代几何传感器,可以提供高精度的管道内部轮廓的几何数据,如能探测到的最小凹陷是 4.47mm(0.176in)。这种传感器结合了非接触远距离测量法与测径器手臂的优势,允许传感器在高动态运行载荷作用下工作;该传感器与导航器、高分辨率漏磁检测技术相结合,推进了机械损伤检测工具的发展。②加拿大 BJ 公司开展了基于三轴漏磁信号是识别凹陷特性的研究。应用三轴楼此工具检测小凹陷(深度少于直径 1%)的技术已经有了重大进展,其检测能力已在现场挖掘中得到了验证。该项技术目前具有国际领先水平。
4)金属损失检测技术:过去几年里,人们重点关注了金属腐蚀的最小检测深度;而现在对于金属损失普遍关注的,是对腐蚀引起的金属损失的探测、定位和尺寸测定。早期的漏磁检测工具仅能探测大面积的腐蚀或腐蚀群。由于检测其设计、传感器、电子学和其他要素的改进,新型检测工具已经具有探测小缺陷能力,预测的缺陷尺寸也更加精确,并通过多种途径进行了很大的改进,如大多数低分辨率检测器,测量漏磁场仅在一个单一方向,现在高分辨率检测器的检测范围是两个或是三个相互垂直的方向,取样率、特定距离收集的数据样本和时间间隔也大大增大。
加拿大 BJ 公司应用三轴漏磁技术的轴向磁场 MFL 检测器研究,有了一定的进展。在三轴传感器中,有三个单独的、互相垂直的传感方向;轴向传感器记录沿管道的平行方向;径向传感器记录管道垂直方向;环向传感器记录圆周方向。第四个传感器称为旋转传感器,被用来识别内外部的区别,也帮助识别和进行特征分类。这类高分辨率漏磁检测器,可识别的金属损失特征有金属增长和金属损失、复杂腐蚀情况、延长的轴向缺陷、制造缺陷、建设缺陷、焊缝裂纹、凹陷、折皱、圆凿、圆周裂纹等。一般认为凹陷、折皱等管道凹陷无法被 MFL 识别,因此漏磁技术中关于非腐蚀特征的进一步研究变得更加重要,这仍是目前漏磁技术研究的方向
5)内检测技术存在的问题及发展方向:经过多年应用,内检测技术已经成为评价管道缺陷和确保管道完整性的首选技术。高分辨率的内检测器(几何、腐蚀、裂纹)可探测、定位、测量并显示管壁上的异常。这些异常可以表示为几何变形(凹陷、圆凿、椭圆变形、折皱、弯曲)、腐蚀、裂纹和其他缺陷。但是、研究世界上最近发生的危险液体和天然气管道事故,却发现一些内检测结论为可继续运行的管道,在内检测后的 6~12 个月内就发生了失效事故。
2005 年,美国管道安全办公室发布的数据表明,这些经过检测却很快出现故障的管道,失效原因中,缺陷未被探测到的占 51%;对缺陷特征低估的占 32.3%;错误辨识的占 16.7%。这种现象对内检测器及相应的内检测器技术提出了质疑,文献指出了内检测器面临的问题和发展的问题。
内检测其已经从纯粹的检测工具,转变为一个精确地测量手段,目前面临的问题如下:①管道测量的目标处在一个复杂、连续、变化的内部环境(压力、温度、腐蚀等)和外部环境(周围土壤、腐蚀、第三方干扰等)。②内检测器运行过程中,其关键部件可能会失效,但无法及时更换。③智能检测器的运行参数不稳定,如速率、磁场、检测期间传感器故障。④实际存在的缺陷数量大于被内检测器检测到的数量,缺陷的实际大小一般大于内检测器给出的数据。⑤创建一个内检测方法与对比标准非常困难。
分析以上情况,内检测技术应该在以下方面进行改进:①需要进一步改进内检测器的基本原理和技术,以改进现有内检测技术存在的未探测到、低估危险及错误辨识等方面的性能。②对内检测数据进行整体的统计分析,确定内检测遗漏和错误辨识的缺陷的数量、尺寸和位置,评价内检测器检测到的缺陷的实际数量和尺寸。③对各种内检测数据的差异进行对比分析,以对测量错误进行归纳、验证检测器、现场和计算机数据。
(5)工作建议
完整性管理是保证管道安全运行的有效手段。中国管道行业已经初步建立起完整性管理的理念,开始制定完整性实施计划及相关技术标准,并已经对陕京管道、广东 LNG 管道等进行了内检测实践,取得了良好的效果。为了更好地开展完整性管理,现结合国际上完整性管理的最新进展,提出以下建议。
1)提高对直接评价的重视程度。由于内检测技术适用范围的局限性,相当数量的管道需要通过直接评价技术进行完整性评价。应该加强对直接评价技术的研究,适当引进直接评价技术,对不适合内检测评价的管道进行完整性评价,提高完整性管理技术水平。
2)制定并监督实施强制性的完整性评价计划。在国内缺乏强制性法律的情况下,各大石油公司应该制定包括直接评价和内检测等评价方法在内的完整性评价计划,提出强制性要求,使管道完整性管理从试点逐步纳入规范化管理的轨道。
3)加强行业数据库建设。注重整个管道行业的管道失效等数据收集和分析,为完整性管理提供参考;在开展内检测实践的基础上、加强对内检测数据和结果的对比研究,提高对内检测技术的认识。
4)加大对完整性管理技术的研究力度。密切跟踪国外最新技术发展状态,有计划地开展直接评价技术和内检测技术的研究,加大研究投入,培育具有自主知识产权的评价技术。
答:十五期间中国钢管市场消费结构的变化,反映了十一五期间中国钢管发展的经济背景,分析了中国钢管市场主要用户的要求,从宏观层面对钢管和钢材市场的动态比例关系进行了评估,对十一五期间中国钢管市场需求惊醒了预测。
(1)十五期间中国钢管页的发展情况
十五期间,中国钢管产量由 1153.10×104t/a 上升到 2614.11×104t/a,五年间上升 1461.10×104t/a,年均增加 292.2×104t/a。由于产能不断增加,从十五初期的生产能力不足,已转为生产能力过剩。中国钢管十五时期的产量和构成比例见表 1-2。
| 年份 | 焊管/104t/a | 无缝管/104t/a | 钢管总产量/104t/a | 钢材总产量/104t/a | 钢管产量占钢材产量的比例(%) | 焊管占钢管的比例(%) | 无缝钢管占钢管的比例(%) |
| 2001 | 640.36 | 512.70 | 1153.06 | 16170.00 | 7.13 | 55.54 | 44.46 |
| 2002 | 830.59 | 610.00 | 1440.59 | 19404.00 | 7.42 | 57.66 | 42.34 |
| 2003 | 1030.77 | 733.90 | 1764.67 | 24082.00 | 7.33 | 58.41 | 41.59 |
| 2004 | 1301.26 | 848.05 | 2149.31 | 29903.00 | 7.19 | 60.54 | 39.46 |
| 2005 | 1567.06 | 1047.05 | 2614.11 | 37117.02 | 7.04 | 59.95 | 40.05 |
由表 1-2 可知,五年来,钢管产量和表观消费量平均以 22.46% 和 19.77% 的幅度高速增长。2003 年以后,钢管自给率逐渐呈供大于求的局面,即自给率大于百分之百进口管。中国钢铁工业协会指出:管材在钢材表观消费总量中的比例,2000 年为 6.61%,2005 年为 6.42%,变化不大。其中,无缝钢管由 2000 年的净出口 3×104t,转为 2005 年净出口 71.4×104t;焊接钢管由 2000 年的净出口 3×104t,转为 2005 年净出口 124.5×104t。管材在国内市场的国产化率已达 95.5%。
十五期间中国钢管业的发展情况表明,中国钢管业已进入供大于求的新阶段。这给十一五期间中国钢管业的发展以新的启示。
(2)十一五期间钢管市场需求分析和评估
1)十一五期间中国钢管业发展的经济背景:处于中国工业化由中期阶段向后期阶段的过渡时期,是中国钢管业发展的拐点。这意味着钢管产量和消费量由高速增长,过渡到持续、快速增长,钢管业发展的增速放慢。当我国工业化基本实现时,钢管产量和消费产量将到达历史峰值。这个时期,中国经济仍然只要是靠投资和外贸拉动,由粗放型增长方式向集约型增长方式过渡。十一五期间中国钢管业就处在这样两个过渡时期的发展阶段。
十一五期间规划经济发展的态势是又好又快,其着力点是创新、节能和环保。至于 GDP 增长率,十一五前两年(2006 年和 2007年)预计分别是 10.7% 和 8%。平均为 9% 左右。预计后三年可能是 7.5%~8%。十一五期间 GDP 增长率平均约为 8%。中国钢铁协会预测 2010 年我国粗钢消费达到 4.9×108t,钢材消费达到 4.7×108t。这个预测是在总结十五期间预测的经验教训基础上得出的。
2)十一五期间钢管市场的需求评价:十一五期间,中国能源需求强劲是中国钢管行业发展的直接动力。预测 2010 年将消费(25~33)×108t 标煤,十一五期间能源建设将投资 3.5 万亿元。到 2020 年,我国能源工业累计投资将达到 10 万亿元,从 2005 年起,每年投资 7000 多亿元。其中 2020 年煤炭生产能力将达到 28×108t,年均投资 700 亿元;2010年石油产量将达到 1.8×108t,年均投资 500 亿元;2010 年天然气产量达到 1100×108m³,年均投资 300 亿元;2010 年电力装机,包括火电、水电、喝点、天然气发电、风电等新能源发电达到 7×108Kw,年均投资 5000 多亿元。
①煤炭用钢管。煤炭用钢管的数量比较大,用途也比较广。按钢管占 20% 来估计,支护用钢管 2006~2010 年共用 990×104t;矿用带式输送机拖辊等设备和排水、通风用钢管 130×104t。由此可见,煤炭用钢管共计约 1120×104t。
②石油天然气钢管。石油天然气用钢管的主题市场是中石油、中石化和中海油三家石油巨头,其用途主要是油井管、油气长输管线钢管。
2006~2010 年共计需油井管 1800×104t。石油行业十一五期间油井管和管线钢管用量之和约 3800×104t。
③化工用钢管。十一五期间无缝钢管、焊管等共计 900×104t。
④电力用钢管,包括火电用钢管(蒸汽管、高压给水管等)、核电用管(传热管)、水电用钢管(焊接钢管、压力管)、风电用钢管(焊管)、电网用钢管(输电塔一般用角钢改为用焊管)。以上电力用钢管 2006~2010 年总计需求量 575×104t。
⑤钢结构用钢管。钢结构的发展同城市化有密切的关系。华东、中南仍是我国钢结构消费的主要区域,西北、西南地区的消费比重呈增长势头。十一五期间,中国城镇化率将由 2005 年的 43%,上升到 2010 年的 47%,农村人口转移到城镇约 8545×104 人,年需建筑用钢约 2655×104t。其中,东南部 844×104t,中部 1046×104t,西部 765×104t。五年共需建筑用钢材约 1.3275×108t。
国内一般以上的钢材用于建筑行业,推算出 2006~2010 年,钢结构用钢管需要 600~700×104t。
⑥房地产用钢管。房地产用钢管包括三个方面:一是钢结构,见⑤中分析;二是城市地下给排水、热力、通风管道;三是住宅用来水镀锌钢管。十一五期间城市地下水及热力管网,年需钢管平均约为 50×104t;地面房屋用镀锌钢管平均约需 800×104t;十一五期间房地产用钢管量约 4250×104t。
⑦汽车工业用钢管。2005 年我国汽车产量为 500×104 辆,2006 年达到 650×104 辆,2007 年可达 850×104 辆,2010 年将超过 900×104 辆。关于汽车用刚量的评估,按 2005 年汽车用钢管 24×104t(其中无缝管 16.91×104t,焊管 7.09×104t)来推算,十一五期间汽车用钢管量约 160×104t。
⑧造船工业用钢管。目前世界造船市场处于发展的高峰期。在世界海运贸易增长的推动下,尤其是在中国,石油、矿石进口持续快速增长和集装箱货运增速上升的推动下,2005 年我国制船行业产量突破 1222×104t 载重吨,同比增长 41.86%,占世界产量的 18.2%,2006 年造船产量为 1500×104t 载重吨,用钢材 600×104t,其中管材占 7%,约为 42×104t。2006~2010 年我国造船达到每年平均 830×104t 载重吨,总计为 4152×104t 载重吨。按 2006 年船用钢管量为基数,推算十一五期间我国造船工业用钢管量为 250×104t。
⑨集装箱行业用钢管。我国集装箱行业在产销上已连续 14 年居世界第 1 位,生产集装箱所用钢材为耐候钢,主要有热轧薄板(1.6~6.0mm)、型钢和焊管。预计 十一五期间集装箱需求焊管将达 105×104t。
⑩机械工业用钢管。中国机械工业有庞大的内需支持,同时其有明显的国际比较优势,是今后国际重点振兴的产业。到 2010 年将投资 3555 亿元,占国民经济总投资的 4%,增长速度为 47%,产销总体呈平稳发展趋势。
机械工业的机床工业,欧、亚、美三足鼎立,欧洲势强,德、日、美争雄。机械工业发展如何,标志着一个国家技术水平的高低。
机械工业钢材用量的主要行业有:重型矿山机械、工程机械、通用机械、农业机械、石油及化工机械。此外,还有零部件制造业,增速为 20%;制冷及空调机械制造业,增速为 15%~20%;环保机械制造业增速为 17%;文化办公机械制造业增速为 15%;食品及包装机械制造业增速为 10%~15%;液压、气动、密封件制造业增速为 10%~15%;印刷机械制造业增速为 10%;轴承制造业增速为 8%~10%;内燃机制造业增速为 5%~8%;工程机械制造业增速为 5%。
据不完全统计,机械行业 2004 年消耗钢材 4500×104t,2005 年消耗钢材 5200×104t。2006 年机械工业产销同比增长 15%,由此,预测十一五期间机械工业用钢量为 2200×104t 左右。
机械制造业用管以大中直径、中厚壁碳结钢和低合金钢管、无缝钢管为主。用无缝钢管代替实心段坯制造缸、筒、轴、辊、滚筒、轴承、管模等中空体和结构体,可节约钢材 20%~30%。又如压力容器、高压气瓶年需无缝钢管约 10×104t。机械用管中,大中直径无缝钢管约占 30%。近几年,年消耗无缝钢管(150~160)×104t,约占无缝钢管消费的 15%。美国的机械结构管消费比例,1997 年为 29.4%,2002 年保持在 24%。随着我国机械装备业的发展,我国钢管用于机械结构管的比例还会增加,将达到 20% 左右。
⑪轻工业用钢管。轻工业是我国净出口量较大的行业,2005 年出口顺差为 1400~1500 亿元,增长幅度较大。由于国际竞争激烈,需要钢材品种升级换代。
轻工业用钢管涉及自行车、影剧院、体育场馆、会议厅设备(座椅等)、健身器材、家电、家具、医疗机械、小五金、旅游用品等。2005 年自行车用钢材 185×104t,其中焊管约 110×104t,由此,预测十一五期间轻工业用钢管约 880×104t。
⑫铁路(车辆)用钢管。十一五期间将加大综合交通运输体系投资力度投资总额 65219 亿元增长 18.6%。尽管如此,与国际交通运输发达国家相比,仍由较大差距。从路网密度来看,美国每万平方千米国土面积就有铁路 200km,印度有 211km。我国 2005 年年底全国铁路总营业里程为 7.5×104km,每万平方千米地面积铁路仅为 78.11km。
十一五期间国家将继续加大铁路网建设,将重新线 1.7×104km,相当于八五、九五和十五总和的 1.3 倍。铁路车辆由于主要干线提速,需要新购机车 7300 台,到 2010 年需新购货车 22×104 辆,新购客车 2.6×104 辆。因此,未来几年的铁路车辆用钢市场潜力巨大。
火车车厢用钢管主要包括三个方面:一是车厢钢结构件,例如用方矩形钢管制作箱梁;二是配管;三是为了提速、减重和安全,用锻轧的空心轴代替实心轴。目前年需低和金钢车轴(15~20)×104t。
综上所述,十一五期间铁路(车辆)用钢管约 200×104t。
⑬港口建设用钢管。我国钢铁工业正在向沿海地区发展,如鞍钢、首钢、唐钢在沿海地区建设钢铁钢铁大厂,配套的港口建设正在发展之中。港口建设和跨海大桥都需要大量打桩用钢管。例如,杭州湾跨海大桥用的打桩规格为 ø1016mm×16mm,管长 72m,钢管用量很客观。螺旋焊管用于桩管较合适,一部分直缝埋弧焊管也可用于桩管。同时,铁路建设中桥梁也很多,以京沪高速铁路为例,就有 11 座特大桥需要大量打桩用管。预计十一五期间港头、码头、桥梁需要用作桩管的钢管月 250×104t。
十一五期间我国钢管出口量预计约 3000×104t。
答:俄罗斯联合钢铁股份有限公司韦克松钢铁厂建成的 ø1420mm 直缝埋弧焊管生产线,主要设备有德国 SMS MEER 公司提供,采用 JCO 成形工艺,可生产单焊缝和双焊缝钢管。由铣边机、预弯机、步进成型机、预焊机、水压试验机、无损检测等设备组成。生产的 ø1420mm 焊管力学性能检测试验表明,完全满足油气输送管线要求。
| 钢管直径/mm | 钢级 | ||||
| K52 | K55 | K60 | K65 | K80 | |
| 530 | 33 | 30 | 27 | 25 | 21 |
| 630 | 38 | 36 | 33 | 30 | 24 |
| 420 | 41 | 39 | 35 | 33 | 26 |
| 820 | 41 | 41 | 40 | 39 | 30 |
| 1020 | 45 | 44 | 42 | 40 | 32 |
| 1220 | 48 | 47 | 46 | 42 | 40 |
| 1420 | 50 | 49 | 48 | 44 | 40 |
ø1420mm 焊管生产线大口径焊管的生产能力为 40×104t/a,其主要生产设备如下:
1)铣边机。为后续焊接保证最精确的板边几何参数。
2)预弯机。弯力 24MN,可同时从全长钢板两侧逐段弯曲板边。
3)步进成型机(JCO)。弯力 65MN,可同时在管坯全厂范围内的多个弯曲点上,将各坯段预弯向管坯中央,最终形成断面。
4)预焊机。在正式焊接前进行保护气体定位焊接。
5)自动焊机。采用埋弧多弧焊接工艺焊接工艺(3~5个电弧),进行内外焊缝的自动焊接。液压扩径机(扩径头扩张力为 21GN),可在全管长范围内逐渐进行钢管扩径、定径,保证钢管的几何尺寸精度并消除内应力。
6)水压试验机。最大试验压力为 55MPa。
7)无损检测设备。用于焊缝和罐体自动超声波检测、手动超声波检测、X 射线检测、磁粉检测等。
2005 年 4 月,韦克松钢铁厂第四钢管厂这套新生产线投产。再制造大口径厚壁管时,采用了谢维尔(北方钢公司)、Dillinger(德国)、Posco(韩国)等公司生产的宽厚热轧板,并与这些公司签订了长期供货合同。ø1420mm 钢管的力学性能见表 1-4.测试钢管的壁厚为 18.7mm 和 15.7mm,其热轧板分别有俄罗斯谢维尔公司和德国 Dillinger 钢厂供货。
| 板材供货厂 | 测试管数量/根 | 壁厚/mm | 刚拉强度/MPa | 屈服强度/MPa | 屈强比(%) | 伸长率(%) | ||||||||
| 最小值 | 最大值 | 平均值 | 最小值 | 最大值 | 平均值 | 最小值 | 最大值 | 平均值 | 最小值 | 最大值 | 平均值 | |||
| 谢维尔钢公司 | 47 | 18.7 | 593 | 677 | 621.7 | 515 | 612 | 548 | 65 | 80 | 68.3 | 20 | 27 | 22.7 |
| Dillinger | 42 | 15.7 | 609 | 693 | 649.3 | 488 | 625 | 539.9 | 78 | 90 | 83.1 | 20 | 23.5 | 20.9 |
2006 年 4~5 月,俄罗斯天然气科学技术研究院,对该厂 1420 机组生产的 X70 级管线钢管 ø1420mm×26.7mm 和 K60 级 ø1020mm×17mm 单焊缝钢管分别进行了试验。
试验中,在钢管试样表面制造了人工缺陷,然后在液压试验机上按要求进行试验,并对钢管的韧性进行了评价。
试验结果表明,所生产的钢管可用于施工温度 -60℃,运行温度 -20℃,工作压力为 9.8MPa 的油气输送管道的敷设和大修。这一结论已得到全俄天然气科学技术研究院和全俄钢铁科学技术研究院的正式认可。此外,天然气工业公司验收委员会在 2005 年 7 月 14 日 1 号会议记录中,也对该厂 ø1420mm×26.7mm 钢管的优良性能给予了肯定。
现已制定出天然气工业及石油输送管道用“大口径直缝焊管生产技术条件”。韦克松钢铁厂已开始对石油天然气公司供应这种钢管,并对试验设备进行了更新,以便对钢级 K70(X70),壁厚 50mm 的大口径直缝焊管的力学性能进行可靠的检验。新添的检验设备由 Zwick 公司提供,包括拉伸试验机、落锤撕裂试验机和冲击试验机。
除了 ø1420mm 大口径直缝焊管上产线外,韦克松钢厂还建立了钢管外防腐生产线,内防腐生产线于 2006 年 10月 投产。这两条钢管内、外防腐生产线的设备均由荷兰 Bauhuis 公司提供。
联合钢铁公司韦克松钢铁厂,是第一个批量生产出 ø1420mm 大口径直缝焊管的俄罗斯制管企业。俄罗斯巴顿焊接研究所,矿山技术监督局、重型机械厂、乌克兰国立黑色冶金设计院等单位的专家和一些外国专家,参与了 ø1420mm 大口径单直缝焊管的工艺设计、设备开发及投产调试。
目前该厂发展趋势良好,经营状况稳定,投资重点向着提高生产率和产品质量方面发展。这些将使人们坚信,韦克松钢铁厂在互利合作的基础上,能够为石油天然气行业提供大量优质的管线钢管,并已准备参与“俄北—欧洲天然气管道”和“东西伯利亚—太平洋天然气管道”的建设。
答:介绍金属波纹管在截止阀、闸阀、调节阀、安全阀和球阀等阀门中的应用、设计和选型。对阀门用金属波纹管在使用中出现的出现的问题给出了解决办法。
(1)概念:随着世界范围内环保意识的增强,人们对阀门的密封要求越来越高,特别是该装置以及石油和化工等特殊场合,要求阀门必须实现“零泄漏”。因此,苏联、德国、美国和日本等国家率先将金属波纹管应用于阀门领域,使波纹管阀门作为一个新产品首先在航空、航天、舰船和核工业等军工领域得到应用,并迅速在石油和化工等行业得以推广。
金属波纹管的作用主要是实现测量、连接、转换、补偿、隔离、密封和减震等功能。在波纹管截止阀和闸阀中的作用只要是隔离、密封和补偿功能,在自力式调节阀中,还与弹簧配套起到输出力和开区关闭阀门的作用。
用于波纹管阀门的金属笔文官只要有液压成形和焊接成形两种,是根据实际使用的阀门阀体高度、位移量、耐压能力以及刚度要求综合考虑选择何种形式的金属波纹。金属波纹管的材料主要是奥氏体不锈钢以及高温合金钢等,材料的选择主要是根据阀门实际使用介质腐蚀性和使用温度决定的。
由于近年来国内阀门行业发展非常迅速,如何在波纹管阀门设计时选择合适的金属波纹管成为行业上迫切需要解决的问题。
(2)术语:在对金属波纹管设计选型时,首先要明确金属波纹管的行业术语。
1)波纹管:一种弹性、薄壁、有多个横向波纹的管壳零件。
2)波纹管组件:由两个或两个以上零件组成,其中之一是波纹管,波纹管是一个或多个串联,其他是法兰等配件。
3)壁厚:成形波纹管的原始金属管的管壁厚度,对多层波纹管则是各层壁厚的总和。
4)形程:已原始长度为基点,波纹管压缩位移与拉伸位移之和。
5)扭曲:长波纹管进行轴向压缩时产生的柱失稳。
6)公称压力:与波纹管机械强度有关的设计给定压力。
7)公称载荷:正常工作条件下允许的最大载荷或满量程值。通常是预期设计值。超载载荷一般限定在额定载荷的 125%~150%。
8)额定位移:额定载荷下引起的位移,是正常使用条件下允许产生的工作位移。
9)波纹管刚度:使波纹管产生单位位移所需要的力,设计计算得出的刚度称为公称刚度或额定刚度。一般情况,公称刚度不直接受用实际值,而是产品原型经过测试后的修正值。
10)一次循环:波纹管随阀杆从全开到全闭再到全开的运动过程。
11)循环寿命:波纹管在规定压力、温度和轴向行程下往复运动而不破换的最大循环次数。相同产品的寿命与波纹管工作状态、循环次数、频率、压力和温度等有关。
12)有效面积:弹性元件在单位压力作用下,位移为零时转换的集中力的大小。但有效面积随压力增加而变化,因此具有不恒定性,在力平衡式仪表中,要配对筛选,做到有效面积尽量一致。
(3)结构
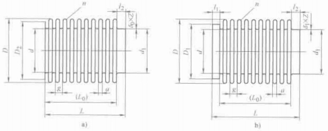
1)U 形波纹管:常用 U 形波纹管结构如图 1-1 所示。波纹管端部接口形式如图 1-2 所示。接口表示方法为外配合用 W(图 1-1a 中的 d1 尺寸)、沿波切边用 QD(图 1-1a 中 D2 尺寸)、内配合用 N(图 1-1b 中 D1 尺寸)。推荐采用图 1-2a、b、c 端部接口形式。

图 1-1 常用波纹管结构要素

图 1-2 波纹管端部接口形式
2)波纹管组件典型结构:保温管组件典型结构如图 1-3 所示。

图 1-3 波纹管组件典型结构
(4)选型
1)波纹管阀门典型结构:应用波纹管组件是为阀杆和阀体工艺流体之间提供一个可轴向变形的金属隔套,形成动密封,以消除阀杆处的泄漏。装有波纹管组件的阀门典型结构如图 1-4 所示。

图 1-4 装有波纹管组件的阀门典型阀杆密封结构
选型要求:①根据阀杆的直径选择波纹管内径,波纹管的内径应大于阀杆直径 1.5mm。波纹管的外径根据波纹管内径来选择。外径和内径通过外径与内径的比值相联系,一般情况下,外径与内径的比值为 1.3~1.5。②波纹管的壁厚、层数、波纹数及长度等应能满足波纹管的耐压、行程、循环寿命等要求。一般情况下,压力越大,波纹管的壁厚越厚,为了增大位移或者降低波纹管刚度,提高寿命,可以采用降低单层壁厚、增加波纹管层数的办法实现。③应设计导向结构,以防止波纹管的扭曲。同时还应避免波纹管与阀杆或阀体之间的局部接触,以防止磨损和过早失效。应设计防扭转结构,防止波纹管扭转变形。④设计阀门时,应限制波纹管压缩和拉伸的行程,以防止波纹管承受超出循环寿命试验限定的压缩位移和拉伸位移。一般情况下,波纹管的行程不应超过自由长度的 25%,否则会影响波纹管的循环寿命。特别是高温高压环境下的波纹管阀门。⑤波纹管采用与阀门相同的压力和温度等级。波纹管应能承受主体阀门 38℃ 条件下 1.5 倍的公称压力的压力试验。进行压力试验时,焊缝不能开裂、泄漏,波纹管不应发生扭曲。⑥波纹管组件材料应在允许的使用温度范围内选择,同时波纹管用材料具有良好的成形性能、焊接性能与介质的相容性。
3)阀门用波纹管选型标记:按照波纹管应用阀门公称尺寸不同分类,根据 GB/T 1047-2005 中的公称尺寸系列规定,波纹管应用阀门的工程尺寸可分为:15mm、20mm、25mm、32mm、40mm、50mm、65mm、80mm、100mm、125mm、150mm、200mm、250mm 等。

图 1-5 波纹管标识
(5)阀门用波纹管的检验:阀门用金属波纹管的检验项目主要有表面质量、几何尺寸、密封性、压力机循环寿命等。
1)表面质量:在标准照明条件下,目测观察波纹管表面及外形、其质量应满足 JB/T 6169-2006 的规定。
2)几何尺寸:用分度值为 0.02mm 的卡尺或其精确度相当的其他量具和仪器,检验波纹管的几何尺寸和公差应符合图样要求。图样未要求的公差应符合表 1-5 的要求。
| 序号 | 工程尺寸名称 | 允许公差 |
| 1 | 波纹管外径 D | ±1/2IT17 |
| 2 | 波纹管内径 d | ±1/2IT17 |
| 3 | 端部配合直径 D1、 D2、 d1 | h13、H13 |
| 4 | 端部配合长度 L1、L2 | ±1/2IT17 |
| 5 | 有效长度 L0 | ±1/2IT17 |
| 6 | 总长度 L | ±1/2IT17 |
3)密封性检验:由承制方组焊的波纹管组件应进行密封性检验,检验可用气泡检漏法。波纹管及其组件内冲入 0.6MPa 的压缩空气或其他无腐蚀性非可燃洁净的气体,保压 3min,在水槽中检查不应有泄漏现象。也可根据用户要求用氦质谱检漏仪检漏,不应呈现可探测出的渗漏。
4)压力试验:压力试验可在专用设备或阀门上进行。实验用水的氯离子含量不超过 25×10-7。按 JB/T 9092-1999 的规定,波纹管组件在室温或 38℃ 条件下,以 1.5 倍公称压力进行水压试验。
每个波纹管组件应固定在某一长度,此长度为常规阀门壳体试验时阀门开启位置的长度。在实验过程中应防止波纹管拉伸和压缩。压力施加应与波纹管工作时受压方式一致。进行压力试验时,焊缝不能开裂或泄露,波纹管不应发生扭曲。
5)循环寿命试验:可在专用设备或阀门上进行试验,当主题阀门需要时,应按照相关标准进行高温循环寿命试验。
循环的频率应考虑不正常的快速循环可能产生的过热。循环频率不应超过每秒一次。
循环试验应在室温或 38℃ 时的公称压力下进行。加压方式同压力试验一样。
每个波纹管组件咋循环试验之后应进行密封性试验,不应呈现可探测的渗漏。
除合同另有规定,波纹管的循环寿命应符合表 1-6 的规定。
| 阀门规格 | 最小循环寿命/次 | ||
| 公称压力/MPa | 公称尺寸/mm | 闸阀 | 截止阀 |
| PN≤14.0 | DN≤50 | 2000 | 5000 |
| 50<DN≤100 | 2000 | 5000 | |
| DN≤100 | 1000 | 2000 | |
| PN>14.0 | DN≤50 | 2000 | 2000 |
| 50<DN≤100 | 1000 | 2000 | |
| DN≤100 | 1000 | 1000 | |
6)出厂检验:出厂检验的项目和顺序按表 1-7 规定执行。出厂检验中有不合格项的波纹管,为不合格品。
| 序号 | 检验项目 | 出厂检验 | 型式试验 |
| 1 | 表面质量 | ● | ● |
| 2 | 几何尺寸 | ● | ● |
| 3 | 密封性 | ● | ● |
| 4 | 压力试验 | — | ● |
| 5 | 循环寿命 | — | ● |
注:● 为必检项目;— 为不检项目。
(6)结语:阀门是金属波纹管是波纹管阀门的核心器件,波纹管的设计及选用,关系到阀门使用安全,特别是波纹管阀门的应用领域都是重点工业领域和军工领域,在新产品试制是应进行型式试验,在选用时应适用于阀门使用系统的空况条件及金属波纹管的结构特性。
答:介绍 API (American Petroleum Institute 美国石油学会)标准安全阀的规范和特点,论述了在开发该产品中所进行的性能试验和流场仿真方面的研究工作。提出了推广应用的建议。
1)概念:我国的安全阀基本上是按照机械行业标准进行设计制造。20 世纪 70 年代以后,随着我国改革开放和国名经济迅速发展,从国外引进了大量石油、化工、能源、冶金和纺织等装置及设备,同时随机进口了大量国外安全阀。这些安全阀大部分是按照 API 标准设计、制造、试验和验收。由于 API 标准安全阀与 JB 安全阀相比,具有显着的特点和先进性,因而近几年来,一些企业要求,安装在易燃、易爆、有害或有毒介质的设备及管道上的安全阀,宜选用 API 标准安全阀。为了适应各类装置对安全阀的需求,对 API 标准安全阀进行了探讨和研究。
(2)特性
1)相关标准:与 API 标准安全阀相关的常用标准和规范如下。
API RP 520 炼油厂泄压装置的定径、选择和安装
第Ⅰ部分 定径和选择
第Ⅱ部分 安装
API Std526 钢制法兰泄压阀
API Std527 泄压阀阀座的密封性
API RP 576 泄压装置的检查
ASME 锅炉与压力容器规范第 Ⅷ 卷
第一册 压力容器泄压装置
ASME PTC25 泄压装置—性能试验规范
2)名词术语:API 标准的某些名词术语与我国国内习惯用语不一致,故予以说明。
①泄压装置(Pressure Velief Device)。泄压装置是防止工艺系统或承压容器由于事故或不正常工况期间流体压力升高而超过预定压力值。常有的有弹簧直接载荷式泄压阀、先导式泄压阀和爆破片等。
②泄压阀(Pressure Relief Valve)。泄压阀是一种泄压装置,在系统超压时阀门开启,而当系统压力恢复到正常后阀门关闭,从而防止介质继续外流。常见有的安全阀、泄放阀、先导式泄压阀等。
③安全阀(Safety Valve)。安全阀是一种由入口静压力驱动,并以快速开启或突跳动作为特征的泄压阀。其应用与可压缩流体。
④泄放阀(Relief Valve)。泄放阀是一种由入口静压力驱动的泄压阀,其开启通常与超过压力的压力升高成比例。其应用于不可压缩流体。
⑤安全泄放阀(Safety Relief Valve)。安全泄压阀是一种依应用情况而作为安全阀或泄放阀的泄压阀。
3)基本要求:
①安全阀的流道面积(代号)、进出口通径、压力级(磅级)、基本材料、压力-温度范围和进出口安装尺寸按 API Std 526 规定。
②安全阀的整定压力(Pa)允许偏差与整定压力有关。当 Pa≤0.5MPa 时,允许偏差为 ±0.015MPa。当 Pa>0.5时,允许偏差为 ±3%Pa。
③安全阀的设计和制造按 ASME《锅炉与压力容器规范》第 Ⅷ 卷规定。其基本条件包括机械动作,材料选择、制造及装配的检查制造厂及装配厂的产品试验、设计、焊接及其他等七个方面。
如对阀瓣、阀座、弹簧、导套、提升装置的结构设计和材料选择要求,对制造厂及装配厂的制造、实验设备和质量控制程序的要求,如受压件的强度和气密试验要求、对实验装置、容器和试验方法的要求等。
④标以 ASME《锅炉与压力容器规范》第 Ⅷ 卷标志的泄压阀的排量验证试验应在不超过开启压力的 10% 或 0.02MPa 压力下进行。
4)标准比较:JB、GB 和 API 标准安全阀的比较见表 1-8。
| 项目 | JB | GB | API(ASME) | ||
| 设计 | 规格 | 8 种 | 25 种 | ||
| 流道直径 d0/mm | ø20~ø125 | ø9.5(D)~ø146(T) | |||
| 面积比(出口/流道) | 4.13~3.06 | 64.26~3.02 | |||
| 压力-温度等级 | 按流道直径(代号)明确 | ||||
| 机械要求 | 应有导向机构以保证动作和密封的稳定性。阀座应固定在阀体上,以防松动。 | 考虑导向装置以保证工作可靠及密封性;阀座应紧固在阀体上,以防止阀座升起。 | |||
| 弹簧 | 负载偏差 | ±10% | ±10% | ||
| 最大负荷下变形量 | ≤80% 压并变形量 | ≤80% 压并变形量 | |||
| 最大负荷下切应力 | ≤80% 极限切应力 | ||||
| 永久变形 | 试验负荷压缩 3 次后 ≤0.5%H。 | 压井三次后 ≤0.5%H。 | |||
| 整定压力调整范围 | ≤±15% | ±5% | |||
| 材料选择 | 结构材料 | ||||
| 阀座、阀瓣 | 本体材料的抗腐蚀性能应不低于阀体材料 | 根据压力—温度范围明确通用结构材料 | |||
| 导套 | 应具有良好的耐磨与抗腐蚀性能 | 用耐蚀材料 | |||
| 弹簧 | 防锈处理 | 防锈处理 | 用耐蚀材料或耐蚀涂层 | ||
| 制造 | 工艺装备、试验设备以及质量控制程序能保证产品性能一致性 | ||||
| 试验 | 认证 | 性能和排量验证应在 ASME 认可的实验室进行 | |||
| 动作性能试验 | 蒸汽介质 | 饱和蒸汽 | 用蒸汽试验 | 用蒸汽试验,能力有限时刻用空气,但应校正 | |
| 气体介质 | 空气 | 用空气、蒸汽或其他已知性质气体 | 用空气试验 | ||
| 液体介质 | 水 | 用水或其他已知性质液体进行试验 | 用水或其他合适的液体进行试验 | ||
| 试验装置 | 应具有足够尺寸及容量 | ||||
| 密封性 | 压力 | 按图样规定 | 0.9P0 | 0.9P0 | |
| 试验介质 | 允许用空气祸害器代替 | 同工作介质性质 | |||
| 允许泄漏率 | 金属座—按标准 软座—0 泡/min | 金属座—按标准 软座—0 泡/min | |||
5)条款特点:
①规则。API 标准对安全阀的结构设计、排量计算、规格、压力级、材料、制造、试验、运输、安装、使用、检查及维修,均有完整和全面的基本要求。
API RP 520、576 介绍了各种类型安全阀的机构及其特点。
API RP 520 第Ⅰ部分列出各种流体介质(气体、水蒸气、液体及两相流)排量下所需流道面积的计算方法,并给出相关修正系数。
API Std 526 规定了 14 种流道直径(喉径)再不用温度和压力下的各种规格、压力级及基本材料要求,并规定必须执行 AMSE 规范的相应制造和试验要求。
API Std 527 规定了泄压阀的密封性试验方法和要求。
API RP 520 第Ⅱ部分列出有关安装发面的一些要求。
API RP 576 列出泄压装置的检查和维修要求。
ASME PTC 25 为泄压装置的试验装置、试验方法和实验报告提供了标准。
②规格和品种。API 标准安全阀规格和品种较多。
弹簧载荷式安全阀的公称尺寸为 1~8in.(25~200mm),有 14 种(D~T)流道直径(d0=9.5~146mm),21 种规格,6 种压力级(150~2500lb),-268~260℃ 的温度范围。
API 标准范围阀规格、品种多,便于选择合理规格的安全阀。
③温度—压力级。API 标准安全阀根据所需排量计算确定留到面积后,按照该流道面积表中的温度范围和允许的最高整定压力,确定适合的压力等级。
④材料。阀瓣、阀座及导向零件应是耐蚀材料制成,应能满足温度和使用条件。依照使用的温度,选用适合的阀体、阀盖及弹簧材料。阀体和阀盖的材料可以不同,但必须满足最低的压力—温度要求,标准中规定了阀体、阀盖和弹簧材料的最低等级牌号。
⑤制造厂和实验装置要求。制造厂的工艺装备、试验装备以及质量控制程序能够保证所生产安全法的性能一致性。安全阀性能试验装置和容器应有足够尺寸和容量。
⑥运输和安装。安全阀运输中应有保护堵盖(塞)。安全阀人口管道的压力损失 Δp≤3%pa。
(3)研制
由于按照 API 标准生产安全阀与按照 JB 生产安全阀存在差异,因而产品制造过程中常出现许多问题。如结构设计不合理,材料选用不当,整定压力过高或实际排放量不满足要求等。
为了完整全面的了解、熟悉和掌握 API 标准(AMSE 规范)相关内容和要求,有必要对 API 标准安全阀进行深入研究,以显示其特点和先进性。对 API 标准安全阀主要研究包括试验研究和建模研究。
1)性能试验研究:
①试验装置。为了进行安全阀的性能及排量试验研究,按照 ASME PTC 25《泄压装置—性能试验规范》的要求建设了安全阀全性能试验装置。改试验装置主要由大量空气压缩机、储气罐、流量调节阀、控制阀、试验容器及工位、流量计、压力传感器、温度传感器、位移传感器、计算机数据采集及处理系统等组成。
试验装置共设三个试验工位。最大试验阀通径 8in.(200mm),最高试验压力 23MPa,最高试验流量 100t/h(空气)。试验工位的试验容器的容积分别为 4.5m³、1.5m³、0.014m³。
为了更好地比较试验装置能力对安全阀性能的影响,随后又建造了容积为 0.5m³的试验装置。典型安全阀的试验结果曲线如图 1-6~1-8。

图 1-6 入口压力与开启高度曲线

图 1-7 开启高度与流量曲线

图 1-8 安全阀发证颤振时的开启高度曲线
②性能及排量试验。安全阀的流道结构设计对其性能及排量有重量影响。API Std 526 标准规定了安全阀的净出口及流道尺寸,其出口面积与流道面积的比例为 64.26~3.02,与 JB 规定的 4.13~3.06 相比范围及比例均较大,特别对于通径较小者有显著差别,进行了性能和排量试验。大量试验表明:a.试验装置性能对安全阀的性能有重要影响。通过对五种规格(II/2h4、2J3、3K4、3L4、4M6)的安全阀在不同试验装置上对比试验结构可以得出,试验装置的容量对安全阀整定压力和启跳压力基本无影响。只有试验装置容量足够大时,才能判定安全阀的回座压力及机械特性是否符合要求。b.与 API Std 526 标准安全阀相比,出口面积较小的 JB 安全阀其排量系数较小。在试验装置上对 API 和 JB 两种标准的安全阀进行了排量试验。试验表明,JB 安全阀的出口面积较小者,影响到其排量系数减小。一般 JB 安全阀的排量系数为 0.8~0.9。而按 API 标准的安全阀其排量系数可达 0.98。
③ 背压试验。安全阀的出口背压时其性能有较大影响。较高的被压会影响到安全阀的动作性能及其排量。安全阀背压试验系统如图 1-9 所示。
图 1-9 安全阀背压试验系统
背压通过背压发生器产生,调节背压主要是通过改变背压器中背压调节器孔板尺寸来调节发生阀出口排放背压。通过背压试验,得出两点经验:a.排放背压存在临界值,超过允许值后,会导致安全阀机械性能遭到破坏,引起安全阀颤振等现象,排放过程不稳定。b.安全阀开启高度随排放背压的升高而减少,排放背压的存在,引起开启高度的降低,导致安全阀的实际排量降低。
2)流场仿真:虽然借助于先进的性能试验装置,在安全阀动作特性和排量等方面上获得了许多成果,然而试验研究却存在着投入大、周期长、方法有局限的问题。所以将计算流体力学(CFD)应用到安全阀的基础理论研究中。利用计算流体力学软件,建立了一些安全阀内部流场的三维模型。经过试验验证,这些模型具有足够的精度和可靠性,完全可以用于工程研究,其中两个算例所得到的排量数值与试验数据的对比见表 1-9。
| 序号 | 规格 | 实测排量/(kg/h) | 计算排量/(kg/h) | 计算值与试验值相差百分比(%) |
| 1 | 2J3 | 4756.1 | 4795.9 | 0.84 |
| 2 | II/2h4 | 4987.67 | 5030.1 | 0.85 |
通过对安全阀内部流场研究,对安全阀的内部流动有了全新的认识。在安全阀整个流道中,发作的喉部是最小的几何流通截面。所以在安全阀的工程计算和设计过程中,这个流道面积就被假设为整个流道中的实际最小气动流通面积,如果该流场处于临界或超临界流动状态,则在阀座喉部处达到音速。
以往通过试验方法,已经证实这个假设存在问题,安全阀的临界界面不在阀座喉部,而是在其下游。但是究竟是什么样的流场形态,产生这一现象的机理是什么,这些试验很难解答的问题若通过流场仿真就可以很容易地解答。
图 1-10 为某规格安全阀内部流场中音速和超音速区域的马赫数等值线图。从图中可以看出,介质在阀座喉部的流动是亚声速的,实际的气动临界截面位于阀座与阀瓣之间形成的圆柱侧面上。

图 1-10 安全阀内部流场中的马赫数等值线图
(4)结语
由于 API 标准安全阀与 JB 安全法相比,具有显著的特点和先进性。因而近年来,API 标准安全阀在我国得到越来越广泛的应用。从目前现状分析,提出几点建议:
1)安全法制造厂、检验单位以及使用部门需全面、完整地了解、熟悉和掌握 API 标准(ASME 规范)相关内容和要求。
2)设计单位与制造厂商严格遵循 API 标准(ASME 规范)要求进行安全法的设计选型、选材和制造。
3)各制造厂对生产的 API 标准安全阀应开展充分的性能研究工作,以显示 API 标准安全阀的特点。各制造厂应通过具有资质的检测部门确定安全阀的排量系数以供用户选型时使用。
4)目前国内安全阀制造厂的生产手段和试验条件较国外厂家有较大差距,特别在实验条件方面。因而,建议安全法制造厂和检验单位应创造条件满足安全阀性能试验的要求。例如,关于实验装置和容器应有足够尺寸和容量。这涉及回座压力的准确性以及力学性能的判断。
5)安全阀使用单位应向供货单位(制造厂)提出安全阀的明确订货要求,并在收货时索要相关文件(例如合格证、质量证明书、试验报告等)以及进行必要项目的验收。
答:管道分类方法通常按介质的压力、温度、性质分类,也可按管道材质、温度和压力分类,以及材质情况等分类方法。
这里管道按其材质可分为钢管、有色金属管、铸铁管、非金属管四种。他们的主要用途例举如下:
(1)钢管
1)一般无缝钢管、用于制作流体介质管道或制作结构管件等。标准为 GB/T 8163—1999《输送流体用无缝钢管》。常用规格:结构用无缝钢管外径 5~200,壁厚 0.25~14mm,见表 2-1;输送流体用无缝钢管外径 32~630mm。壁厚 2.5~75mm,见表 2-2。
常用无缝钢管规格尺寸及单位长度理论质量(kg/m)见表 2-3。
| 外径/mm | 壁厚/mm | ||||||||
| 0.25 | 0.30 | 0.40 | 0.50 | 0.60 | 0.80 | 1.0 | 1.2 | 1.4 | |
| 理论重量/(kg/m) | |||||||||
| 5 | 0.0292 | 0.0348 | 0.0454 | 0.055 | 0.065 | 0.083 | 0.099 | 0.112 | 0.124 |
| 6 | 0.0354 | 0.0421 | 0.055 | 0.068 | 0.080 | 0.103 | 0.123 | 0.142 | 0.159 |
| 7 | 0.0416 | 0.0496 | 0.065 | 0.080 | 0.095 | 0.122 | 0.148 | 0.172 | 0.193 |
| 8 | 0.0477 | 0.057 | 0.075 | 0.092 | 0.110 | 0.142 | 0.173 | 0.202 | 0.227 |
| 9 | 0.054 | 0.064 | 0.085 | 0.105 | 0.125 | 0.162 | 0.197 | 0.231 | 0.262 |
| 10 | 0.060 | 0.072 | 0.095 | 0.117 | 0.139 | 0.182 | 0.222 | 0.261 | 0.296 |
| 11 | 0.066 | 0.079 | 0.105 | 0.129 | 0.154 | 0.201 | 0.247 | 0.290 | 0.331 |
| 12 | 0.072 | 0.087 | 0.115 | 0.142 | 0.169 | 0.221 | 0.271 | 0.320 | 0.365 |
| 14 | 0.085 | 0.101 | 0.134 | 0.166 | 0.199 | 0.260 | 0.321 | 0.379 | 0.434 |
| 16 | 0.094 | 0.116 | 0.154 | 0.191 | 0.228 | 0.300 | 0.370 | 0.438 | 0.503 |
| 18 | 0.109 | 0.131 | 0.174 | 0.216 | 0.258 | 0.340 | 0.419 | 0.497 | 0.572 |
| 20 | 0.122 | 0.146 | 0.193 | 0.240 | 0.288 | 0.379 | 0.469 | 0.556 | 0.642 |
| 22 | — | — | 0.212 | 0.265 | 0.318 | 0.419 | 0.518 | 0.616 | 0.710 |
| 25 | — | — | 0.242 | 0.302 | 0.363 | 0.478 | 0.592 | 0.703 | 0.813 |
| 28 | — | — | 0.272 | 0.340 | 0.406 | 0.536 | 0.666 | 0.792 | 0.916 |
| 29 | — | — | 0.282 | 0.352 | 0.418 | 0.553 | 0.691 | 0.823 | 0.951 |
| 30 | — | — | 0.292 | 0.364 | 0.436 | 0.576 | 0.715 | 0.851 | 0.986 |
| 32 | — | — | 0.311 | 0.389 | 0.466 | 0.615 | 0.765 | 0.910 | 1.05 |
| 34 | — | — | 0.331 | 0.413 | 0.496 | 0.655 | 0.814 | 0.968 | 1.12 |
| 36 | — | — | 0.350 | 0.438 | 0.525 | 0.695 | 0.863 | 1.03 | 1.19 |
| 38 | — | — | 0.370 | 0.464 | 0.555 | 0.734 | 0.912 | 1.09 | 1.26 |
| 40 | — | — | 0.390 | 0.494 | 0.585 | 0.774 | 0.962 | 1.15 | 1.33 |
| 42 | — | — | — | — | — | — | 1.01 | 1.21 | 1.41 |
| 44.5 | — | — | — | — | — | — | 1.07 | 1.28 | 1.48 |
| 45 | — | — | — | — | — | — | 1.09 | 1.30 | 1.51 |
| 48 | — | — | — | — | — | — | 1.16 | 1.38 | 1.61 |
| 50 | — | — | — | — | — | — | 1.21 | 1.44 | 1.68 |
| 53 | — | — | — | — | — | — | 1.28 | 4.53 | 1.78 |
| 56 | — | — | — | — | — | — | 1.36 | 1.62 | 1.89 |
| 60 | — | — | — | — | — | — | 1.46 | 1.74 | 2.02 |
| 63 | — | — | — | — | — | — | 1.53 | 1.83 | 2.13 |
| 65 | — | — | — | — | — | — | 1.58 | 1.89 | 2.20 |
| 70 | — | — | — | — | — | — | 1.70 | 2.03 | 2.37 |
| 75 | — | — | — | — | — | — | 1.82 | 2.18 | 2.54 |
| 外径/mm | 壁厚/mm | ||||||||
| 1.5 | 1.6 | 1.8 | 2.0 | 2.2 | 2.5 | 2.8 | 3.0 | 3.2 | |
| 理论重量/(kg/m) | |||||||||
| 5 | 0.129 | 0.134 | — | — | — | — | — | — | — |
| 6 | 0.166 | 0.174 | 0.186 | 0.197 | — | — | — | — | — |
| 7 | 0.203 | 0.213 | 0.230 | 0.247 | 0.260 | 0.277 | — | — | — |
| 8 | 0.240 | 0.253 | 0.296 | 0.315 | 0.339 | — | — | — | — |
| 9 | 0.277 | 0.292 | 0.319 | 0.345 | 0.369 | 0.401 | 0.427 | — | — |
| 10 | 0.314 | 0.332 | 0.363 | 0.395 | 0.423 | 0.462 | 0.496 | 0.518 | 0.536 |
| 11 | 0.351 | 0.371 | 0.407 | 0.444 | 0.477 | 0.524 | 0.566 | 0.592 | 0.615 |
| 12 | 0.388 | 0.411 | 0.452 | 0.493 | 0.532 | 0.586 | 0.635 | 0.666 | 0.694 |
| 14 | 0.462 | 0.490 | 0.541 | 0.592 | 0.640 | 0.709 | 0.772 | 0.814 | 0.852 |
| 16 | 0.536 | 0.568 | 0.629 | 0.691 | 0.747 | 0.832 | 0.910 | 0.962 | 1.01 |
| 18 | 0.610 | 0.647 | 0.717 | 0.789 | 0.856 | 0.956 | 1.05 | 1.11 | 1.17 |
| 20 | 0.684 | 0.726 | 0.806 | 0.888 | 0.965 | 1.08 | 1.19 | 1.26 | 1.33 |
| 22 | 0.758 | 0.806 | 0.895 | 0.986 | 1.07 | 1.20 | 1.33 | 1.·41 | 1.49 |
| 25 | 0.869 | 0.925 | 1.03 | 1.13 | 1.24 | 1.39 | 1.53 | 1.63 | 1.72 |
| 28 | 0.980 | 1.04 | 1.16 | 1.28 | 1.40 | 1.57 | 1.74 | 1.85 | 1.96 |
| 29 | 1.02 | 1.08 | 1.22 | 1.33 | 1.47 | 1.63 | 1.83 | 1.92 | 2.02 |
| 30 | 1.05 | 1.12 | 1.25 | 1.38 | 1.51 | 1.70 | 1.88 | 2.00 | 2.12 |
| 32 | 1.13 | 1.20 | 1.34 | 1.48 | 1.62 | 1.82 | 2.02 | 2.15 | 2.28 |
| 34 | 1.20 | 1.28 | 1.43 | 1.58 | 1.72 | 1.94 | 2.15 | 2.29 | 2.43 |
| 36 | 1.28 | 1.36 | 1.53 | 1.68 | 1.83 | 2.07 | 2.29 | 2.44 | 2.59 |
| 38 | 1.35 | 1.44 | 1.61 | 1.78 | 1.94 | 2.19 | 2.43 | 2.59 | 2.75 |
| 40 | 1.42 | 1.52 | 1.69 | 1.87 | 2.05 | 2.31 | 2.56 | 2.74 | 2.91 |
| 42 | 1.50 | 1.60 | 1.79 | 1.97 | 2.16 | 2.44 | 2.70 | 2.89 | 3.07 |
| 44.5 | 1.59 | 1.65 | 1.88 | 2.10 | 2.29 | 2.59 | 2.89 | 3.07 | 3.25 |
| 45 | 1.61 | 1.71 | 1.91 | 2.12 | 2.32 | 2.62 | 2.91 | 3.11 | 3.31 |
| 48 | 1.72 | 1.83 | 2.05 | 2.27 | 2.48 | 2.81 | 3.11 | 3.33 | 3.54 |
| 50 | 1.79 | 1.91 | 2.14 | 2.37 | 2.59 | 2.93 | 3.25 | 3.48 | 3.70 |
| 53 | 1.91 | 2.03 | 2.27 | 2.52 | 2.76 | 3.11 | 3.46 | 3.70 | 3.94 |
| 56 | 2.02 | 2.15 | 2.40 | 2.56 | 2.92 | 3.30 | 3.66 | 3.92 | 4.17 |
| 60 | 2.16 | 2.31 | 2.58 | 2.86 | 3.13 | 3.55 | 3.94 | 4.22 | 4.49 |
| 63 | 2.27 | 2.42 | 2.71 | 3.01 | 3.30 | 3.72 | 4.15 | 4.44 | 4.73 |
| 65 | 2.35 | 2.50 | 2.80 | 3.11 | 3.40 | 3.85 | 4.29 | 4.59 | 4.89 |
| 70 | 2.53 | 2.70 | 3.02 | 3.35 | 3.68 | 4.16 | 4.63 | 4.96 | 5.28 |
| 75 | 2.71 | 2.90 | 3.24 | 3.60 | 3.95 | 4.46 | 4.97 | 5.32 | 5.68 |
| 外径/mm | 壁厚/mm | ||||||||
| 3.5 | 4.0 | 4.5 | 5.0 | 5.5 | 6.0 | 6.5 | 7.0 | 7.5 | |
| 理论重量/(kg/m) | |||||||||
| 5 | — | — | — | — | — | — | — | — | — |
| 6 | — | — | — | — | — | — | — | — | — |
| 7 | — | — | — | — | — | — | — | — | — |
| 8 | — | — | — | — | — | — | — | — | — |
| 9 | — | — | — | — | — | — | — | — | — |
| 10 | 0.561 | — | — | — | — | — | — | — | — |
| 11 | 0.647 | — | — | — | — | — | — | — | — |
| 12 | 0.734 | 0.789 | — | — | — | — | — | — | — |
| 14 | 0.906 | 0.986 | — | — | — | — | — | — | — |
| 16 | 1.08 | 1.18 | 1.28 | 1.35 | — | — | — | — | — |
| 18 | 1.25 | 1.38 | 1.50 | 1.60 | — | — | — | — | — |
| 20 | 1.42 | 1.58 | 1.72 | 1.82 | 1.97 | 2.07 | — | — | — |
| 22 | 1.60 | 1.77 | 1.94 | 2.10 | 2.24 | 2.37 | — | — | — |
| 25 | 1.86 | 2.07 | 2.28 | 2.47 | 2.64 | 2.81 | 2.97 | 3.11 | — |
| 28 | 2.11 | 2.37 | 2.61 | 2.84 | 3.05 | 3.26 | 3.45 | 3.68 | — |
| 29 | 2.20 | 2.47 | 2.72 | 2.96 | 3.19 | 3.40 | 3.61 | 3.80 | 3.98 |
| 30 | 2.29 | 2.56 | 2.83 | 3.08 | 3.32 | 3.55 | 3.77 | 3.97 | 4.16 |
| 32 | 2.46 | 2.76 | 3.05 | 3.33 | 3.59 | 3.85 | 4.09 | 4.32 | 4.53 |
| 34 | 2.63 | 2.96 | 3.27 | 3.58 | 3.87 | 4.14 | 4.41 | 4.66 | 4.90 |
| 36 | 2.81 | 3.16 | 3.50 | 3.82 | 4.14 | 4.44 | 4.73 | 5.01 | 5.27 |
| 38 | 2.98 | 3.35 | 3.72 | 4.07 | 4.41 | 4.74 | 5.05 | 5.35 | 5.64 |
| 40 | 3.15 | 3.55 | 3.94 | 4.32 | 4.68 | 5.03 | 5.37 | 5.70 | 6.01 |
| 42 | 3.32 | 3.75 | 4.16 | 4.56 | 4.95 | 5.33 | 5.69 | 6.04 | 6.38 |
| 44.5 | 3.54 | 4.00 | 4.44 | 4.87 | 5.29 | 5.70 | 6.06 | 6.47 | 6.84 |
| 45 | 3.58 | 4.04 | 4.49 | 4.93 | 5.36 | 5.77 | 6.17 | 6.56 | 6.94 |
| 48 | 3.84 | 4.34 | 4.83 | 5.30 | 5.76 | 6.21 | 6.65 | 7.08 | 7.49 |
| 50 | 4.01 | 4.54 | 5.05 | 5.55 | 6.04 | 6.51 | 6.97 | 7.42 | 7.86 |
| 53 | 4.27 | 4.83 | 5.38 | 5.92 | 6.44 | 6.95 | 7.45 | 7.94 | 8.42 |
| 56 | 4.53 | 5.13 | 5.71 | 6.29 | 6.85 | 7.40 | 7.93 | 8.40 | 8.97 |
| 60 | 4.88 | 5.52 | 6.16 | 6.78 | 7.39 | 7.99 | 8.58 | 9.15 | 9.71 |
| 63 | 5.13 | 5.81 | 6.49 | 7.14 | 7.77 | 8.41 | 9.04 | 9.57 | 10.23 |
| 65 | 5.31 | 6.02 | 6.71 | 7.40 | 8.07 | 8.73 | 9.38 | 10.01 | 10.65 |
| 70 | 5.74 | 6.51 | 7.27 | 8.01 | 8.75 | 9.47 | 10.18 | 10.88 | 11.56 |
| 75 | 6.17 | 7.00 | 7.82 | 8.62 | 9.41 | 10.18 | 10.96 | 11.71 | 12.48 |
| 外径/mm | 壁厚/mm | ||||||||
| 8.0 | 8.5 | 9 | 9.5 | 10 | 11 | 12 | 13 | 14 | |
| 理论重量/(kg/m) | |||||||||
| 30 | 4.34 | — | — | — | — | — | — | — | — |
| 32 | 4.74 | — | — | — | — | — | — | — | — |
| 34 | 5.13 | — | — | — | — | — | — | — | — |
| 36 | 5.52 | — | — | — | — | — | — | — | — |
| 38 | 5.92 | 6.18 | 6.44 | — | — | — | — | — | — |
| 40 | 6.31 | 6.60 | 6.88 | — | — | — | — | — | — |
| 42 | 6.71 | 7.02 | 7.32 | — | — | — | — | — | — |
| 44.5 | 7.20 | 7.55 | 7.88 | — | — | — | — | — | — |
| 45 | 7.30 | 7.65 | 7.99 | 8.32 | 8.63 | — | — | — | — |
| 48 | 7.89 | 8.28 | 8.66 | 9.02 | 9.37 | — | — | — | — |
| 50 | 8.29 | 8.70 | 9.10 | 9.49 | 9.86 | 10.59 | 11.25 | — | — |
| 53 | 8.88 | 9.33 | 9.77 | 10.19 | 10.60 | 11.39 | 12.13 | — | — |
| 56 | 9.47 | 9.96 | 10.43 | 10.90 | 11.34 | 12.21 | 13.02 | — | — |
| 60 | 10.26 | 10.80 | 11.32 | 11.83 | 12.33 | 13.29 | 14.21 | 15.07 | 15.88 |
| 65 | 11.25 | 11.84 | 12.43 | 13.00 | 13.56 | 14.65 | 15.68 | — | — |
| 70 | 12.23 | 12.89 | 13.54 | 14.17 | 14.80 | 16.01 | 17.16 | 18.27 | 19.33 |
| 75 | 13.17 | 13.91 | 14.61 | 15.30 | 15.99 | 17.31 | 18.65 | — | — |
| 外径/mm | 壁厚/mm | ||||||||
| 1.2 | 1.4 | 1.5 | 1.6 | 1.8 | 2.0 | 2.2 | 2.5 | 2.8 | |
| 理论重量/(kg/m) | |||||||||
| 80 | — | 2.71 | 2.90 | 3.09 | 3.47 | 3.84 | 4.22 | 4.77 | 5.32 |
| 85 | — | 2.88 | 3.08 | 3.29 | 3.69 | 4.09 | 4.48 | 5.08 | 5.66 |
| 90 | — | 3.05 | 3.27 | 3.49 | 3.91 | 4.34 | 4.76 | 5.39 | 6.01 |
| 95 | — | 3.21 | 3.46 | 3.68 | 4.13 | 4.59 | 5.02 | 5.70 | 6.36 |
| 100 | — | 3.40 | 3.64 | 3.88 | 4.35 | 4.83 | 5.30 | 6.00 | 6.70 |
| 110 | — | 3.74 | 4.03 | 4.28 | 4.81 | 5.32 | 5.84 | 6.62 | 7.39 |
| 120 | — | — | 4.36 | 4.66 | 5.25 | 5.83 | 6.38 | 7.24 | 8.07 |
| 125 | — | — | — | — | 5.46 | 6.06 | 6.64 | 7.54 | 8.42 |
| 130 | — | — | — | — | — | — | — | 7.86 | 8.78 |
| 140 | — | — | — | — | — | — | — | — | — |
| 150 | — | — | — | — | — | — | — | — | — |
| 外径/mm | 壁厚/mm | ||||||||
| 3.0 | 3.5 | 4.0 | 4.5 | 5.0 | 5.5 | 6.0 | 6.5 | 7.0 | |
| 理论重量/(kg/m) | |||||||||
| 80 | 5.69 | 6.60 | 7.49 | 8.37 | 9.24 | 10.07 | 10.91 | 11.75 | 12.59 |
| 85 | 6.06 | 7.04 | 7.98 | 8.93 | 9.86 | 10.75 | 11.65 | 12.55 | 13.45 |
| 90 | 6.43 | 7.47 | 8.47 | 9.49 | 10.47 | 11.42 | 12.39 | 13.35 | 14.31 |
| 95 | 6.81 | 7.90 | 8.98 | 10.04 | 11.10 | 12.14 | 13.17 | 14.19 | 15.19 |
| 100 | 7.17 | 8.32 | 9.46 | 10.59 | 11.71 | 12.77 | 13.87 | 14.95 | 16.03 |
| 110 | 7.92 | 9.19 | 10.46 | 11.70 | 12.93 | 14.19 | 15.40 | 16.60 | 17.75 |
| 120 | 8.66 | 10.06 | 11.44 | 12.93 | 14.30 | 15.51 | 16.89 | 18.20 | 19.50 |
| 125 | 9.02 | 10.50 | 11.91 | 13.37 | 14.80 | 16.15 | 17.55 | 19.02 | 20.35 |
| 130 | 9.40 | 10.92 | 12.43 | 13.92 | 15.48 | 16.88 | 18.35 | 19.80 | 21.20 |
| 140 | 10.11 | 11.80 | 13.42 | 15.05 | 16.65 | 18.24 | 19.83 | 21.40 | 22.96 |
| 150 | 10.85 | 12.65 | 14.39 | 16.11 | 17.85 | 19.55 | 21.25 | 23.00 | 24.68 |
| 160 | — | 13.53 | 15.38 | 17.25 | 19.09 | 20.96 | 22.79 | 24.60 | 26.41 |
| 170 | — | 14.31 | 16.31 | 18.35 | 20.30 | 22.31 | 24.27 | 26.21 | 28.14 |
| 180 | — | 15.20 | 17.30 | 19.50 | 21.59 | 23.67 | 25.75 | 27.81 | 29.87 |
| 190 | — | — | 18.29 | 20.60 | 22.80 | 25.02 | 27.22 | 29.41 | 31.59 |
| 200 | — | — | 19.67 | 21.65 | 24.00 | 26.38 | 28.70 | 31.02 | 33.32 |
| 外径/mm | 壁厚/mm | ||||||||
| 7.5 | 8.0 | 8.5 | 9.0 | 9.5 | 10 | 11 | 12 | 13 | |
| 理论重量/(kg/m) | |||||||||
| 80 | 13.39 | 14.15 | 14.96 | 15.71 | 16.45 | 17.22 | 18.66 | 20.10 | |
| 85 | 14.31 | 15.13 | 16.01 | 16.85 | 17.63 | 18.45 | 20.01 | 21.60 | |
| 90 | 15.22 | 16.11 | 17.05 | 17.95 | 18.79 | 19.67 | 21.43 | 23.08 | |
| 95 | 16.18 | 17.16 | 18.13 | 19.09 | 20.03 | 20.96 | 22.79 | 24.56 | |
| 100 | 17.09 | 18.09 | 19.15 | 20.15 | 21.15 | 22.19 | 24.14 | 26.04 | |
| 110 | 19.00 | 20.08 | 21.30 | 22.50 | 23.54 | 24.70 | 26.85 | 29.00 | |
| 120 | 20.85 | 22.10 | 23.40 | 24.70 | 25.89 | 27.20 | 29.57 | 31.96 | |
| 125 | 21.73 | 23.08 | 24.42 | 25.75 | 27.06 | 28.36 | 30.92 | 33.44 | |
| 130 | 22.70 | 24.10 | 25.50 | 26.90 | 28.23 | 29.70 | 32.27 | 34.92 | |
| 140 | 24.51 | 26.04 | 27.57 | 29.08 | 30.57 | 32.06 | 34.99 | 37.88 | |
| 150 | 26.36 | 28.01 | 29.66 | 31.29 | 32.91 | 34.52 | 37.71 | 40.84 | |
| 160 | 28.20 | 29.99 | 31.76 | 33.51 | 35.26 | 36.99 | 40.42 | 43.80 | |
| 170 | 30.05 | 31.96 | 33.85 | 35.73 | 37.60 | 39.46 | 43.13 | 46.76 | |
| 180 | 31.91 | 33.93 | 35.95 | 37.95 | 39.95 | 41.92 | 45.85 | 49.72 | |
| 190 | 33.72 | 35.90 | 38.04 | 40.17 | 42.28 | 44.39 | 48.56 | 52.67 | |
| 200 | 35.60 | 37.88 | 40.14 | 42.39 | 44.63 | 46.85 | 51.27 | 55.63 | |
注:1.本表乃参考 GB/T 8163—1999。
2.壁厚 ≤1mm,钢管长 1.5—7mm;壁厚 >1mm,钢管长 1.5~9mm。
| 外径/mm | 壁厚/mm | ||||||||||
| 2.5 | 3 | 3.5 | 4 | 4.5 | 5 | 5.5 | 6 | 6.5 | 7 | 7.5 | |
| 理论重量/(kg/m) | |||||||||||
| 32 | 1.82 | 2.15 | 2.46 | 2.76 | 3.05 | 3.33 | 3.59 | 3.85 | 4.09 | 4.32 | 4.53 |
| 38 | 2.19 | 2.59 | 2.98 | 3.35 | 3.72 | 4.07 | 4.41 | 4.74 | 5.05 | 5.35 | 5.64 |
| 42 | 2.44 | 2.89 | 3.53 | 3.75 | 4.16 | 4.56 | 4.95 | 5.33 | 5.69 | 6.04 | 6.38 |
| 45 | 2.62 | 3.11 | 3.58 | 4.04 | 4.49 | 4.93 | 5.36 | 5.77 | 6.17 | 6.56 | 6.94 |
| 50 | 2.93 | 3.48 | 4.01 | 4.54 | 5.05 | 5.55 | 6.04 | 6.51 | 6.97 | 7.42 | 7.86 |
| 54 | — | 3.77 | 4.36 | 4.93 | 5.49 | 6.04 | 6.58 | 7.10 | 7.61 | 8.11 | 8.60 |
| 57 | — | 4.00 | 4.62 | 5.23 | 5.83 | 6.41 | 6.99 | 7.55 | 8.10 | 8.63 | 9.16 |
| 60 | — | 4.22 | 4.88 | 5.52 | 6.16 | 6.78 | 7.39 | 7.99 | 8.58 | 9.15 | 9.74 |
| 63.5 | — | 4.48 | 5.18 | 5.87 | 6.55 | 7.21 | 7.87 | 8.51 | 9.14 | 9.75 | 10.36 |
| 68 | — | 4.81 | 5.57 | 6.31 | 7.05 | 7.77 | 8.48 | 9.17 | 9.86 | 10.53 | 11.19 |
| 70 | — | 4.96 | 5.74 | 6.51 | 7.27 | 8.01 | 8.75 | 9.47 | 10.18 | 10.88 | 11.56 |
| 73 | — | 5.18 | 6.00 | 6.81 | 7.60 | 8.38 | 9.16 | 9.91 | 10.66 | 11.39 | 12.11 |
| 76 | — | 5.40 | 6.26 | 7.10 | 7.93 | 8.75 | 9.56 | 10.36 | 11.14 | 11.91 | 12.67 |
| 83 | — | — | 6.86 | 7.79 | 8.71 | 9.62 | 10.51 | 11.39 | 12.26 | 13.12 | 13.96 |
| 89 | — | — | 7.38 | 8.38 | 9.38 | 10.36 | 11.33 | 12.28 | 13.22 | 14.16 | 15.07 |
| 95 | — | — | 7.90 | 8.98 | 10.04 | 11.10 | 12.14 | 13.17 | 14.19 | 15.19 | 16.18 |
| 102 | — | — | 8.50 | 9.67 | 10.82 | 11.96 | 13.09 | 14.21 | 15.31 | 16.40 | 17.48 |
| 108 | — | — | — | 10.26 | 11.49 | 12.70 | 13.90 | 15.09 | 16.27 | 17.44 | 18.59 |
| 114 | — | — | — | 10.85 | 12.15 | 13.44 | 14.72 | 15.98 | 17.23 | 18.47 | 19.70 |
| 121 | — | — | — | 11.54 | 19.93 | 14.30 | 15.67 | 17.02 | 18.35 | 19.68 | 20.99 |
| 127 | — | — | — | 12.13 | 13.59 | 15.04 | 16.48 | 17.90 | 19.32 | 20.72 | 22.10 |
| 133 | — | — | — | 12.73 | 14.26 | 15.78 | 17.29 | 18.79 | 20.28 | 21.75 | 23.21 |
| 140 | — | — | — | — | 15.04 | 16.65 | 18.24 | 19.83 | 21.40 | 22.96 | 24.51 |
| 146 | — | — | — | — | 15.70 | 17.39 | 19.06 | 20.72 | 22.36 | 24.00 | 25.62 |
| 159 | — | — | — | — | 17.15 | 18.99 | 20.82 | 22.64 | 24.45 | 26.24 | 28.02 |
| 168 | — | — | — | — | — | 20.10 | 22.04 | 23.97 | 25.89 | 27.79 | 29.69 |
| 180 | — | — | — | — | — | 21.59 | 23.70 | 25.75 | 27.70 | 29.87 | 31.91 |
| 194 | — | — | — | — | — | 23.31 | 25.60 | 27.82 | 30.00 | 32.28 | 34.50 |
| 203 | — | — | — | — | — | — | — | 29.14 | 31.50 | 33.83 | 36.16 |
| 219 | — | — | — | — | — | — | — | 31.52 | 34.06 | 36.60 | 39.12 |
| 245 | — | — | — | — | — | — | — | — | 38.23 | 41.09 | 43.85 |
| 273 | — | — | — | — | — | — | — | — | 42.64 | 45.94 | 49.10 |
| 299 | — | — | — | — | — | — | — | — | — | — | 53.91 |
| 325 | — | — | — | — | — | — | — | — | — | — | 58.74 |
| 外径/mm | 壁厚/mm | ||||||||||
| 8 | 8.5 | 9 | 9.5 | 10 | 11 | 12 | 13 | 14 | 15 | ||
| 理论重量/(kg/m) | |||||||||||
| 32 | 4.74 | — | — | — | — | — | — | — | — | — | |
| 38 | 5.92 | — | — | — | — | — | — | — | — | — | |
| 42 | 6.71 | 7.02 | 7.32 | 7.60 | 7.88 | — | — | — | — | — | |
| 45 | 7.30 | 7.65 | 7.99 | 8.32 | 8.63 | — | — | — | — | — | |
| 50 | 8.29 | 8.70 | 9.10 | 9.49 | 9.86 | — | — | — | — | — | |
| 54 | 9.08 | 9.54 | 9.99 | 10.43 | 10.85 | 11.67 | — | — | — | — | |
| 57 | 9.67 | 10.17 | 10.65 | 11.13 | 11.59 | 12.48 | 13.32 | 14.11 | — | — | |
| 60 | 10.26 | 10.80 | 11.32 | 11.83 | 12.33 | 13.29 | 14.21 | 15.07 | 15.88 | ||
| 63.5 | 10.95 | 11.53 | 12.10 | 12.65 | 13.19 | 14.24 | 15.24 | 16.19 | 17.09 | ||
| 68 | 11.84 | 12.47 | 13.10 | 13.71 | 14.30 | 15.46 | 16.57 | 17.63 | 18.64 | 19.61 | |
| 70 | 12.23 | 12.89 | 13.54 | 14.17 | 14.80 | 16.01 | 17.16 | 18.27 | 19.33 | 20.35 | |
| 73 | 12.82 | 13.52 | 14.21 | 14.88 | 15.54 | 16.82 | 18.05 | 19.24 | 20.37 | 21.46 | |
| 76 | 13.42 | 14.15 | 14.87 | 15.58 | 16.28 | 17.63 | 18.94 | 20.20 | 21.41 | 22.57 | |
| 83 | 14.80 | 15.62 | 16.42 | 17.22 | 18.00 | 19.53 | 21.01 | 22.44 | 23.82 | 25.15 | |
| 89 | 15.98 | 16.87 | 17.76 | 18.63 | 19.48 | 21.16 | 22.79 | 24.37 | 25.89 | 27.37 | |
| 95 | 17.16 | 18.13 | 19.09 | 20.03 | 20.96 | 22.79 | 24.56 | 26.29 | 27.97 | 29.59 | |
| 102 | 18.55 | 19.60 | 20.64 | 21.67 | 22.69 | 24.69 | 26.53 | 28.63 | 30.38 | 32.18 | |
| 108 | 19.73 | 20.86 | 21.97 | 23.08 | 24.17 | 26.31 | 28.41 | 30.46 | 32.45 | 34.40 | |
| 114 | 20.91 | 22.12 | 23.31 | 24.48 | 25.65 | 27.94 | 30.19 | 32.38 | 34.53 | 36.62 | |
| 121 | 22.29 | 23.58 | 24.86 | 26.12 | 27.37 | 29.84 | 32.26 | 34.62 | 36.94 | 39.21 | |
| 127 | 23.48 | 24.84 | 26.19 | 27.53 | 28.85 | 31.47 | 34.03 | 36.55 | 39.01 | 41.43 | |
| 133 | 24.66 | 36.10 | 27.53 | 28.93 | 30.33 | 33.10 | 35.81 | 38.47 | 41.09 | 43.65 | |
| 140 | 26.04 | 27.57 | 29.08 | 30.57 | 32.06 | 34.99 | 37.88 | 40.72 | 43.50 | 46.24 | |
| 146 | 27.23 | 28.82 | 30.41 | 31.98 | 33.54 | 36.62 | 39.66 | 42.64 | 45.57 | 48.46 | |
| 152 | 28.41 | 30.08 | 31.74 | 33.39 | 35.02 | 38.25 | 41.43 | 44.56 | 47.65 | 50.68 | |
| 159 | 29.79 | 31.55 | 33.29 | 35.03 | 36.75 | 40.15 | 43.50 | 46.81 | 50.06 | 53.27 | |
| 168 | 31.57 | 33.43 | 35.29 | 37.13 | 38.97 | 42.59 | 46.17 | 49.69 | 53.17 | 56.60 | |
| 180 | 33.93 | 35.95 | 37.95 | 39.95 | 41.92 | 45.85 | 49.72 | 53.54 | 57.31 | 61.04 | |
| 194 | 36.70 | 28.89 | 40.06 | 43.23 | 45.38 | 49.64 | 53.86 | 58.03 | 62.15 | 66.22 | |
| 203 | 38.47 | 40.77 | 43.05 | 45.33 | 47.59 | 52.08 | 56.52 | 60.91 | 65.94 | 69.54 | |
| 219 | 41.63 | 44.12 | 46.61 | 49.08 | 51.54 | 56.43 | 61.26 | 66.04 | 70.78 | 75.46 | |
| 245 | 46.76 | 49.56 | 52.38 | 55.17 | 57.95 | 63.48 | 68.95 | 74.38 | 79.76 | 83.08 | |
| 273 | 52.28 | 55.45 | 58.60 | 61.73 | 64.86 | 71.07 | 77.24 | 83.36 | 89.42 | 95.44 | |
| 299 | 57.41 | 60.89 | 64.37 | 67.38 | 71.27 | 78.13 | 84.93 | 91.69 | 98.40 | 105.06 | |
| 325 | 62.54 | 66.35 | 70.14 | 73.92 | 77.68 | 85.18 | 92.63 | 100.03 | 107.38 | 114.68 | |
| 351 | 67.67 | 71.80 | 75.91 | 80.01 | 84.10 | 92.23 | 100.32 | 108.36 | 116.35 | 124.29 | |
| 377 | — | — | 81.68 | 86.10 | 90.51 | 99.29 | 108.02 | 117.00 | 125.33 | 133.91 | |
| 402 | — | — | 87.21 | 91.95 | 96.67 | 106.06 | 115.41 | 124.71 | 133.94 | 143.15 | |
| 426 | — | — | 92.55 | 97.57 | 102.59 | 112.58 | 122.52 | 132.41 | 142.25 | 152.04 | |
| 450 | — | — | 97.87 | 103.20 | 108.50 | 119.08 | 130.61 | 140.09 | 150.52 | 160.90 | |
| 480 | — | — | 104.52 | 110.22 | 115.90 | 127.22 | 139.49 | 149.71 | 160.88 | 172.00 | |
| 500 | — | — | 108.96 | 114.91 | 120.83 | 132.65 | 145.41 | 156.12 | 167.79 | 179.40 | |
| 530 | — | — | 115.62 | 121.94 | 128.23 | 140.78 | 154.29 | 165.74 | 178.14 | 190.50 | |
| 560 | — | — | 122.28 | 128.97 | 135.63 | 148.92 | 163.16 | 175.36 | 188.50 | 201.60 | |
| 600 | — | — | 131.17 | 138.34 | 145.50 | 159.78 | 175.00 | 188.18 | 202.31 | 216.39 | |
| 630 | — | — | 137.81 | 145.36 | 152.89 | 167.91 | 183.88 | 197.80 | 212.67 | 227.49 | |
| 外径/mm | 壁厚/mm | ||||||||||
| 16 | 17 | 18 | 19 | 20 | 22 | 25 | 28 | ||||
| 理论重量/(kg/m) | |||||||||||
| 57 | — | — | — | — | — | — | — | — | |||
| 68 | 20.52 | — | — | — | — | — | — | — | |||
| 70 | 21.31 | — | — | — | — | — | — | — | |||
| 73 | 22.49 | 23.48 | 24.41 | 25.30 | — | — | — | — | |||
| 76 | 23.68 | 24.74 | 25.75 | 26.71 | — | — | — | — | |||
| 83 | 26.44 | 27.67 | 28.85 | 29.99 | — | — | — | — | |||
| 89 | 28.80 | 30.19 | 31.52 | 32.80 | 34.03 | 36.35 | — | — | |||
| 95 | 31.17 | 32.70 | 34.18 | 35.61 | 36.99 | 39.61 | — | — | |||
| 102 | 33.93 | 35.64 | 37.29 | 38.89 | 40.44 | 43.40 | — | — | |||
| 108 | 36.30 | 38.15 | 39.95 | 41.70 | 43.40 | 46.66 | 51.17 | 55.24 | |||
| 114 | 38.67 | 40.67 | 42.62 | 44.51 | 46.36 | 49.91 | 54.87 | 59.39 | |||
| 121 | 41.43 | 43.60 | 45.72 | 47.79 | 49.82 | 53.71 | 59.19 | 64.22 | |||
| 127 | 43.80 | 46.12 | 48.39 | 50.61 | 52.78 | 56.97 | 62.89 | 68.36 | |||
| 133 | 46.17 | 48.63 | 51.05 | 53.42 | 55.73 | 60.22 | 66.59 | 72.50 | |||
| 140 | 48.93 | 51.57 | 54.16 | 56.70 | 59.19 | 64.02 | 70.90 | 77.34 | |||
| 146 | 51.30 | 54.08 | 56.82 | 59.51 | 62.15 | 67.27 | 74.60 | 81.48 | |||
| 152 | 53.66 | 56.60 | 59.48 | 62.32 | 65.11 | 70.59 | 78.30 | 85.62 | |||
| 159 | 56.43 | 59.53 | 62.59 | 65.60 | 68.56 | 74.33 | 82.62 | 90.46 | |||
| 168 | 59.98 | 63.31 | 66.59 | 69.82 | 73.00 | 73.21 | 88.16 | 96.67 | |||
| 180 | 64.71 | 68.34 | 71.91 | 75.44 | 78.92 | 85.72 | 95.56 | 104.96 | |||
| 194 | 70.24 | 74.21 | 78.13 | 82.00 | 85.28 | 93.32 | 104.19 | 114.63 | |||
| 203 | 73.78 | 77.97 | 81.12 | 86.21 | 90.26 | 98.20 | 109.74 | 120.83 | |||
| 219 | 80.10 | 84.69 | 89.23 | 93.71 | 98.15 | 106.88 | 119.61 | 131.89 | |||
| 245 | 90.36 | 95.59 | 100.77 | 105.90 | 110.98 | 120.99 | 135.64 | 149.84 | |||
| 273 | 101.41 | 107.33 | 113.20 | 119.02 | 124.79 | 136.18 | 152.90 | 169.18 | |||
| 299 | 111.67 | 118.23 | 124.74 | 131.20 | 137.61 | 150.29 | 168.93 | 187.13 | |||
| 325 | 121.93 | 129.13 | 136.28 | 143.38 | 150.44 | 164.39 | 184.96 | 205.09 | |||
| 351 | 132.19 | 140.03 | 147.82 | 155.56 | 163.26 | 178.50 | 200.99 | 233.04 | |||
| 377 | 142.44 | 150.93 | 159.36 | 167.75 | 176.08 | 192.61 | 217.02 | 240.99 | |||
| 402 | 150.30 | 161.40 | 170.45 | 179.45 | 188.40 | 206.16 | 232.42 | 258.24 | |||
| 426 | 161.78 | 171.47 | 181.11 | 190.71 | 200.25 | 219.19 | 247.23 | 274.83 | |||
| 450 | 171.24 | 181.52 | 191.76 | 201.94 | 212.08 | 232.20 | 262.01 | 291.38 | |||
| 480 | 183.08 | 194.10 | 205.07 | 216.00 | 226.87 | 248.47 | 280.51 | 312.10 | |||
| 500 | 190.97 | 202.48 | 213.95 | 225.37 | 236.74 | 259.32 | 292.84 | 325.91 | |||
| 530 | 202.80 | 215.06 | 227.27 | 239.42 | 251.53 | 275.60 | 317.50 | 346.62 | |||
| 560 | 214.64 | 227.64 | 240.58 | 253.48 | 266.33 | 291.88 | — | — | |||
| 600 | 230.42 | 244.40 | 258.34 | 272.22 | 286.06 | 291.88 | — | — | |||
| 630 | 242.26 | 256.98 | 271.66 | 286.28 | 300.85 | 329.85 | — | — | |||
| 外径/mm | 壁厚/mm | ||||||||||
| 30 | 32 | 36 | 40 | 50 | 56 | 60 | 63 | 70 | 75 | ||
| 理论重量/(kg/m) | |||||||||||
| 127 | 71.26 | — | — | — | — | — | — | — | — | — | |
| 133 | 76.20 | 79.71 | — | — | — | — | — | — | — | — | |
| 140 | 81.38 | 85.23 | 92.33 | — | — | — | — | — | — | — | |
| 146 | 85.82 | 89.97 | 97.66 | — | — | — | — | — | — | — | |
| 152 | 90.26 | 94.70 | 102.99 | — | — | — | — | — | — | — | |
| 159 | 95.44 | 100.22 | 109.20 | — | — | — | — | — | — | — | |
| 168 | 102.10 | 107.33 | 117.19 | 126.27 | — | — | — | — | — | — | |
| 180 | 110.98 | 116.80 | 127.85 | 138.10 | — | — | — | — | — | — | |
| 194 | 121.33 | 127.85 | 140.27 | 151.91 | — | — | — | — | — | — | |
| 203 | 127.99 | 134.94 | 148.26 | 160.78 | — | — | — | — | — | — | |
| 219 | 139.83 | 147.57 | 162.47 | 176.58 | — | — | — | — | — | — | |
| 245 | 159.07 | 168.09 | 185.55 | 202.22 | — | — | — | — | — | — | |
| 273 | 179.78 | 190.19 | 185.55 | 202.22 | — | — | — | — | — | — | |
| 299 | 199.02 | 210.71 | 233.50 | 255.49 | — | — | — | — | — | — | |
| 325 | 218.25 | 231.23 | 256.53 | 281.14 | — | — | — | — | — | — | |
| 351 | 237.49 | 251.74 | 279.66 | 306.76 | — | — | — | — | — | — | |
| 377 | 256.73 | 272.26 | 302.77 | 332.44 | — | — | — | — | — | — | |
| 402 | 275.21 | 291.18 | 324.92 | 357.08 | — | — | — | — | — | — | |
| 426 | 292.98 | 310.93 | 346.27 | 380.77 | — | — | — | — | — | — | |
| 450 | 310.72 | 329.84 | 307.53 | 404.42 | — | — | — | — | — | — | |
| 480 | 332.91 | 353.52 | 394.17 | 463.01 | — | — | — | — | — | — | |
| 500 | 347.71 | 369.30 | 411.92 | 453.74 | — | — | — | — | — | — | |
| 530 | 369.90 | 392.92 | 438.55 | 483.34 | — | — | — | — | — | — | |
| 203 | — | — | — | — | 188.65 | — | — | — | — | — | |
| 219 | — | — | — | — | 208.38 | — | — | — | — | — | |
| 245 | — | — | — | — | 240.44 | — | — | — | — | — | |
| 273 | — | — | — | — | 274.96 | — | — | — | — | — | |
| 299 | — | — | — | — | 307.02 | 335.57 | 353.62 | 366.64 | 395.30 | 414.29 | |
| 325 | — | — | — | — | 339.10 | 371.49 | 392.09 | 407.04 | 440.34 | 462.28 | |
| 351 | — | — | — | — | 371.16 | 407.40 | 430.59 | 447.43 | 485.24 | 510.46 | |
| 377 | — | — | — | — | 403.22 | 442.30 | 469.06 | 484.82 | 529.98 | 558.55 | |
| 402 | — | — | — | — | 434.01 | 477.81 | 506.02 | 526.66 | 573.10 | 604.79 | |
| 426 | — | — | — | — | 463.64 | 510.97 | 541.57 | 560.47 | 614.56 | 649.21 | |
| 450 | — | — | — | — | 493.20 | 544.10 | 577.04 | 601.24 | 655.96 | 693.56 | |
| 480 | — | — | — | — | 530.19 | 585.53 | 621.43 | 632.31 | 707.24 | 749.05 | |
| 500 | — | — | — | — | 554.85 | 613.15 | 651.02 | 678.91 | 742.27 | 786.04 | |
| 530 | — | — | — | — | 591.84 | 654.58 | 695.41 | 725.52 | 794.05 | 841.52 | |
注:钢管长为 3~12.5m。
| 外径/mm | 壁厚/mm | |||||||||||||||||
| 0.25 | 0.30 | 0.40 | 0.50 | 0.60 | 0.80 | 1.0 | 1.2 | 1.4 | 1.5 | 1.6 | 1.8 | 2.0 | 2.2(2.3) | 2.5(2.6) | 2.8 | |||
| 系列 1 | 系列 2 | 系列 3 | 单位长度理论质量/(kg/m) | |||||||||||||||
| 6 | 0.035 | 0.042 | 0.055 | 0.068 | 0.080 | 0.103 | 0.123 | 0.142 | 0.159 | 0.166 | 0.174 | 0.186 | 0.197 | |||||
| 7 | 0.042 | 0.050 | 0.065 | 0.080 | 0.095 | 0.122 | 0.148 | 0.172 | 0.193 | 0.203 | 0.213 | 0.231 | 0.247 | 0.260 | 0.277 | |||
| 8 | 0.048 | 0.057 | 0.075 | 0.092 | 0.110 | 0.142 | 0.173 | 0.201 | 0.228 | 0.240 | 0.253 | 0.275 | 0.296 | 0.315 | 0.339 | |||
| 9 | 0.054 | 0.064 | 0.085 | 0.105 | 0.124 | 0.162 | 0.197 | 0.231 | 0.262 | 0.277 | 0.292 | 0.320 | 0.345 | 0.369 | 0.401 | 0.428 | ||
| 10 | 0.060 | 0.072 | 0.095 | 0.117 | 0.139 | 0.182 | 0.222 | 0.261 | 0.097 | 0.314 | 0.332 | 0.364 | 0.395 | 0.423 | 0.462 | 0.497 | ||
| 11 | 0.066 | 0.079 | 0.105 | 0.129 | 0.154 | 0.201 | 0.247 | 0.290 | 0.331 | 0.351 | 0.371 | 0.408 | 0.444 | 0.477 | 0.524 | 0.566 | ||
| 12 | 0.072 | 0.087 | 0.115 | 0.142 | 0.169 | 0.221 | 0.271 | 0.320 | 0.366 | 0.388 | 0.410 | 0.453 | 0.493 | 0.532 | 0.586 | 0.635 | ||
| 13 | 0.079 | 0.094 | 0.124 | 0.154 | 0.184 | 0.241 | 0.296 | 0.349 | 0.400 | 0.425 | 0.450 | 0.497 | 0.543 | 0.596 | 0.647 | 0.704 | ||
| 13.5 | 0.082 | 0.098 | 0.129 | 0.160 | 0.191 | 0.251 | 0.308 | 0.364 | 0.418 | 0.444 | 0.470 | 0.519 | 0.567 | 0.613 | 0.678 | 0.739 | ||
| 14 | 0.085 | 0.101 | 0.134 | 0.166 | 0.198 | 0.260 | 0.321 | 0.179 | 0.435 | 0.462 | 0.490 | 0.542 | 0.592 | 0.640 | 0.709 | 0.773 | ||
| 16 | 0.197 | 0.116 | 0.154 | 0.191 | 0.228 | 0.300 | 0.370 | 0.438 | 0.504 | 0.536 | 0.568 | 0.630 | 0.691 | 0.749 | 0.832 | 0.91 | ||
| 17 | 0.103 | 0.124 | 0.164 | 0.203 | 0.243 | 0.320 | 0.395 | 0.468 | 0.539 | 0.573 | 0.608 | 0.675 | 0.740 | 0.803 | 0.894 | 0.98 | ||
| 18 | 0.109 | 0.131 | 0.174 | 0.216 | 0.258 | 0.340 | 0.419 | 0.497 | 0.573 | 0.610 | 0.647 | 0.719 | 0.789 | 0.857 | 0.956 | 1.05 | ||
| 19 | 0.115 | 0.138 | 0.183 | 0.228 | 0.272 | 0.359 | 0.444 | 0.527 | 0.608 | 0.647 | 0.687 | 0.763 | 0.838 | 0.911 | 1.02 | 1.12 | ||
| 20 | 0.122 | 0.146 | 0.193 | 0.240 | 0.287 | 0.379 | 0.469 | 0.556 | 0.642 | 0.684 | 0.726 | 0.808 | 0.888 | 0.966 | 1.08 | 1.19 | ||
| 21 | 0.203 | 0.253 | 0.302 | 0.399 | 0.493 | 0.586 | 0.677 | 0.721 | 0.765 | 0.852 | 0.937 | 1.02 | 1.14 | 1.26 | ||||
| 22 | 0.212 | 0.265 | 0.317 | 0.418 | 0.518 | 0.616 | 0.711 | 0.758 | 0.805 | 0.897 | 0.986 | 1.07 | 1.20 | 1.33 | ||||
| 25 | 0.242 | 0.302 | 0.361 | 0.477 | 0.592 | 0.704 | 0.815 | 0.869 | 0.923 | 1.03 | 1.13 | 1.24 | 1.39 | 1.53 | ||||
| 25.4 | 0.247 | 0.307 | 0.367 | 0.485 | 0.602 | 0.714 | 0.829 | 0.884 | 0.939 | 1.05 | 1.15 | 1.26 | 1.41 | 1.56 | ||||
| 27 | 0.262 | 0.327 | 0.391 | 0.517 | 0.641 | 0.763 | 0.884 | 0.943 | 1.00 | 1.13 | 1.23 | 1.34 | 1.51 | 1.67 | ||||
| 28 | 0.272 | 0.339 | 0.406 | 0.537 | 0.666 | 0.793 | 0.918 | 0.98 | 1.04 | 1.16 | 1.28 | 1.40 | 1.57 | 1.88 | ||||
| 30 | 0.292 | 0.364 | 0.435 | 0.576 | 0.715 | 0.852 | 0.987 | 1.05 | 1.12 | 1.25 | 1.38 | 1.51 | 1.70 | 1.88 | ||||
| 32 | 0.311 | 0.388 | 0.465 | 0.616 | 0.765 | 0.911 | 1.056 | 1.13 | 1.20 | 1.34 | 1.48 | 1.62 | 1.82 | 2.02 | ||||
| 34 | 0.331 | 0.413 | 0.494 | 0.655 | 0.814 | 0.971 | 1.125 | 1.20 | 1.28 | 1043 | 1.58 | 1.72 | 1.94 | 2.15 | ||||
| 35 | 0.341 | 0.425 | 0.509 | 0.675 | 0.838 | 1.000 | 1.160 | 1.24 | 1.322 | 1.47 | 1.63 | 1.78 | 2.00 | 2.22 | ||||
| 38 | 0.370 | 0.462 | 0.553 | 0.734 | 0.912 | 1.089 | 1.26 | 1.35 | 1.44 | 1.61 | 1.78 | 1.94 | 2.19 | 2.43 | ||||
| 40 | 0.390 | 0.487 | 0.583 | 0.774 | 0.962 | 1.148 | 1.33 | 1.42 | 4.52 | 1.69 | 1.87 | 2.05 | 2.31 | 2.57 | ||||
| 42 | 1.01 | 1.21 | 1.40 | 1.50 | 1.60 | 1.79 | 1.97 | 2.16 | 2.44 | 2.71 | ||||||||
| 45 | 1.09 | 1.30 | 1.51 | 1.61 | 1.71 | 1.92 | 2.12 | 2.32 | 2.62 | 2.91 | ||||||||
| 48 | 1.16 | 1.39 | 1.61 | 1.72 | 1.83 | 2.05 | 2.27 | 2.48 | 2.81 | 3.12 | ||||||||
| 51 | 1.23 | 1.47 | 1.71 | 1.83 | 1.95 | 2.18 | 2.42 | 2.65 | 2.99 | 3.33 | ||||||||
| 54 | 1.31 | 1.56 | 1.82 | 1.94 | 2.07 | 2.32 | 2.56 | 2.81 | 3.18 | 3.54 | ||||||||
| 57 | 1.38 | 1.65 | 1.95 | 2.05 | 2.19 | 2.45 | 2.71 | 2.97 | 3.36 | 3.74 | ||||||||
| 60 | 1.46 | 1.74 | 2.02 | 2.16 | 2.31 | 2.58 | 2.86 | 3.14 | 3.55 | 3.95 | ||||||||
| 63 | 1.53 | 1.83 | 2.13 | 2.27 | 2.42 | 2.72 | 3.01 | 3.30 | 3.73 | 4.16 | ||||||||
| 65 | 1.58 | 1.89 | 2.20 | 2.35 | 2.50 | 2.81 | 3.11 | 3.41 | 3.85 | 4.29 | ||||||||
| 68 | 1.65 | 1.98 | 2.30 | 2.46 | 2.62 | 2.94 | 3.26 | 3.57 | 4.04 | 4.50 | ||||||||
| 70 | 1.70 | 2.04 | 2.37 | 2.53 | 2.70 | 3.03 | 3.35 | 3.68 | 4.16 | 4.64 | ||||||||
| 73 | 1.78 | 2.12 | 2.47 | 2.64 | 2.82 | .316 | 3.50 | 3.84 | 4.35 | 4.85 | ||||||||
| 76 | 1.85 | 2.12 | 2.58 | 2.76 | 2.94 | 3.29 | 3.65 | 4.00 | 4.53 | 5.05 | ||||||||
| 77 | 2.61 | 2.79 | 2.98 | 3.34 | 3.70 | 4.06 | 4.59 | 5.12 | ||||||||||
| 80 | 2.71 | 2.90 | 3.09 | 3.47 | 3.85 | 4.22 | 4.78 | 5.33 | ||||||||||
| 外径/mm | 壁厚/mm | |||||||||||||||||
| (2.9)3.0 | 3.2 | 3.5(3.6) | 4.0 | 4.5 | 5.0 | (5.4)5.5 | 6.0 | (6.3)6.5 | 7.0(7.1) | 7.5 | 8.0 | 8.5 | (8.8)9.0 | 9.5 | 10 | |||
| 系列 1 | 系列 2 | 系列 3 | 单位长度理论质量/(kg/m) | |||||||||||||||
| 83 | 5.92 | 6.30 | 6.86 | 7.79 | 8.71 | 9.62 | 10.51 | 11.39 | 12.26 | 13.12 | 13.96 | 14.80 | 15.62 | 16.42 | 17.22 | 18.00 | ||
| 85 | 6.07 | 6.46 | 7.04 | 7.99 | 8.93 | 9.86 | 10.78 | 11.69 | 12.58 | 13.46 | 14.33 | 15.19 | 16.04 | 16.87 | 17.69 | 18.49 | ||
| 89 | 6.36 | 6.77 | 7.38 | 8.38 | 9.38 | 10.36 | 11.33 | 12.28 | 13.22 | 14.16 | 15.07 | 15.98 | 16.87 | 17.76 | 18.63 | 19.48 | ||
| 95 | 6.81 | 7.24 | 7.90 | 8.98 | 10.04 | 11.10 | 12.14 | 13.17 | 14.19 | 15.19 | 16.18 | 17.16 | 18.13 | 19.09 | 20.03 | 20.96 | ||
| 102 | 7.32 | 7.80 | 8.50 | 9.67 | 10.82 | 11.96 | 13.09 | 14.21 | 15.31 | 16.40 | 17.48 | 18.55 | 19.60 | 20.64 | 21.67 | 22.69 | ||
| 108 | 7.77 | 8.27 | 9.02 | 10.26 | 11.49 | 12.70 | 13.90 | 15.09 | 16.27 | 17.44 | 18.59 | 19.73 | 20.86 | 21.97 | 23.08 | 24.17 | ||
| 114 | 27.94 | 30.19 | 32.38 | 34.52 | 36.62 | 38.67 | 40.66 | 42.61 | 44.51 | 46.36 | 49.91 | 53.27 | 54.87 | 56.42 | 59.38 | 62.15 | ||
| 121 | 29.84 | 32.26 | 34.62 | 36.94 | 39.21 | 41.43 | 43.60 | 45.72 | 47.79 | 49.81 | 53.71 | 57.41 | 59.18 | 60.91 | 64.21 | 67.83 | ||
| 127 | 31.47 | 34.03 | 36.55 | 39.01 | 41.13 | 43.80 | 46.12 | 48.38 | 50.60 | 52.77 | 56.96 | 60.96 | 62.88 | 64.76 | 68.36 | 71.76 | ||
| 133 | 33.10 | 35.81 | 38.47 | 41.08 | 43.65 | 46.16 | 48.63 | 51.05 | 53.41 | 55.73 | 60.22 | 64.51 | 66.58 | 68.60 | 72.50 | 76.20 | ||
| 140 | 34.99 | 37.88 | 40.71 | 43.50 | 46.24 | 48.93 | 51.56 | 54.15 | 56.63 | 59.18 | 64.02 | 68.65 | 70.90 | 73.09 | 77.33 | 81.38 | ||
| 142 | 35.54 | 38.47 | 41.36 | 44.19 | 46.98 | 49.72 | 52.41 | 55.04 | 47.36 | 60.17 | 65.11 | 68.84 | 72.13 | 74.38 | 78.72 | 82.86 | ||
| 146 | 36.62 | 39.66 | 42.64 | 45.57 | 48.46 | 51.29 | 54.08 | 56.82 | 59.50 | 62.14 | 67.27 | 72.20 | 74.60 | 76.94 | 81.48 | 85.82 | ||
| 152 | 38.25 | 41.43 | 44.56 | 47.64 | 50.68 | 53.66 | 56.59 | 59.48 | 62.32 | 65.10 | 70.53 | 75.76 | 78.30 | 80.79 | 85.62 | 90.26 | ||
| 159 | 40.15 | 43.50 | 46.80 | 50.06 | 53.27 | 56.42 | 59.53 | 62.59 | 65.60 | 68.55 | 74.33 | 79.90 | 82.61 | 85.27 | 90.45 | 95.43 | ||
| 168 | 42.59 | 46.17 | 49.69 | 53.17 | 56.59 | 59.97 | 63.30 | 66.58 | 69.81 | 72.99 | 79.21 | 85.22 | 88.16 | 91.04 | 96.67 | 102.09 | ||
| 180 | 45.84 | 49.72 | 53.54 | 57.31 | 61.03 | 64.71 | 68.33 | 71.91 | 75.43 | 78.91 | 85.72 | 92.33 | 95.56 | 98.74 | 104.95 | 110.97 | ||
| 194 | 49.64 | 53.86 | 58.02 | 62.14 | 66.21 | 70.23 | 74.02 | 78.12 | 81.99 | 85.82 | 93.31 | 100.61 | 104.19 | 107.71 | 114.62 | 121.33 | ||
| 203 | 52.08 | 56.52 | 60.91 | 65.25 | 69.54 | 73.78 | 77.97 | 82.12 | 86.21 | 90.26 | 98.20 | 105.94 | 109.74 | 113.49 | 120.83 | 127.99 | ||
| 219 | 56.42 | 61.26 | 66.04 | 70.77 | 75.46 | 80.10 | 84.68 | 89.22 | 93.71 | 98.15 | 106.88 | 115.41 | 119.60 | 123.74 | 131.88 | 139.82 | ||
| 245 | 63.48 | 68.95 | 74.37 | 79375 | 83.08 | 90.35 | 95.58 | 100.76 | 105.89 | 110.97 | 120.98 | 130.80 | 135.63 | 140.41 | 149.83 | 159.06 | ||
| 273 | 71.07 | 77.24 | 83.35 | 89.42 | 95.43 | 101.40 | 107.23 | 113.19 | 119.01 | 124.78 | 136.17 | 147.37 | 152.89 | 158.37 | 169.17 | 179.77 | ||
| 299 | 78.13 | 84.93 | 91.69 | 98.39 | 105.05 | 111.68 | 118.22 | 124.73 | 131.19 | 137.60 | 150.28 | 162.76 | 168.92 | 175.04 | 187.12 | 199.01 | ||
| 325 | 85.18 | 92.63 | 100.02 | 107.37 | 114.67 | 121.92 | 129.12 | 136.27 | 143.37 | 150.43 | 164.38 | 178.14 | 184.95 | 191.71 | 205.07 | 218.24 | ||
| 340 | 89.25 | 97.07 | 104.84 | 112.56 | 120.22 | 127.85 | 135.42 | 142.94 | 150.41 | 157.83 | 172.53 | 187.03 | 194.21 | 201.34 | 215.44 | 229.35 | ||
| 351 | 92.23 | 100.32 | 108.36 | 116.35 | 124.29 | 132.18 | 140.02 | 147.81 | 155.56 | 163.25 | 178.49 | 193.53 | 200.98 | 208.38 | 223.04 | 237.48 | ||
| 356 | 93.59 | 101.80 | 109.97 | 118.08 | 126.14 | 134.16 | 142.12 | 150.04 | 157.91 | 165.72 | 181.21 | 196.50 | 204.07 | 211.60 | 226.49 | 241.19 | ||
| 377 | 99.28 | 108.02 | 116.69 | 125.32 | 133.90 | 142.44 | 150.92 | 159.35 | 167.74 | 176.07 | 192.59 | 208.92 | 217.01 | 225.05 | 240.98 | 256.71 | ||
| 402 | 106.06 | 115.41 | 124.71 | 133.95 | 143.15 | 152.30 | 161.40 | 170.45 | 179.45 | 188.40 | 206.16 | 233.72 | 232.42 | 241.08 | 258.24 | 275.21 | ||
| 406 | 107.15 | 116.60 | 126.00 | 135.34 | 144.64 | 153.89 | 163.09 | 172.24 | 181.34 | 190.39 | 208.34 | 226.10 | 234.90 | 243.66 | 261.02 | 278.18 | ||
| 426 | 112.58 | 122.52 | 132.40 | 142.24 | 152.03 | 161.77 | 171.46 | 181.10 | 190.70 | 200.24 | 219.18 | 237.92 | 247.22 | 256.46 | 274.81 | 292.96 | ||
| 450 | 119.05 | 130.61 | 140.09 | 150.52 | 160.91 | 171.24 | 181.52 | 191.76 | 201.94 | 212.08 | 232.20 | 252.12 | 262.01 | 271.85 | 291.38 | 310.72 | ||
| 457 | 120.99 | 131.68 | 142.35 | 152.95 | 163.51 | 174.01 | 187.47 | 194.77 | 205.23 | 215.54 | 236.01 | 256.28 | 266.34 | 276.36 | 296.23 | 315.91 | ||
| 480 | 127.22 | 139.49 | 149.71 | 160.88 | 172.00 | 183.08 | 194.10 | 205.07 | 216.00 | 226.37 | 248.47 | 269.88 | 280.51 | 291.09 | 312.10 | 332.91 | ||
| 500 | 132.65 | 145.41 | 156.12 | 167.79 | 179.40 | 190.77 | 202.48 | 213.95 | 225.37 | 236.74 | 259.32 | 281.72 | 292.84 | 303.91 | 325.91 | 347.91 | ||
| 508 | 134.82 | 146.79 | 158.70 | 170.56 | 182.37 | 194.13 | 205.85 | 217.51 | 229.13 | 240.70 | 263.68 | 286.47 | 297.79 | 309.06 | 331.45 | 253.65 | ||
| 530 | 140.78 | 153.29 | 165.74 | 178.14 | 190.50 | 202.80 | 215.06 | 227.27 | 239.42 | 251.53 | 275.60 | 299.47 | 311.33 | 323.14 | 346.62 | 369.90 | ||
| 560 | 148.92 | 163.13 | 175.36 | 188.50 | 201.60 | 214.64 | 227.64 | 240.58 | 253.48 | 266.33 | 291.88 | 317.23 | 329.85 | 342.40 | 367.36 | 392.12 | ||
| 610 | 162.49 | 176.97 | 191.40 | 205.78 | 220.10 | 234.38 | 248.61 | 262.79 | 276.92 | 291.01 | 319.02 | 346.84 | 360.67 | 374.46 | 401.88 | 429.11 | ||
| 630 | 167.91 | 183.88 | 197.80 | 212.67 | 227.49 | 242.26 | 256.98 | 271.65 | 286.28 | 300.85 | 239.85 | 235.66 | 373.00 | 387.28 | 415.69 | 443.91 | ||
| 660 | 176.06 | 191.77 | 207.43 | 223.04 | 238.60 | 254.11 | 269.57 | 284.99 | 300.35 | 315.67 | 346.15 | 376.43 | 391.50 | 406.52 | 436.41 | 466.10 | ||
注:壁厚中括号内的数据是选用。
2)化肥用高压无缝钢管:主要用于输送介质为合成按氨料气(氢与氮)及氨、甲醇、尿素等;压力为 22MPa、32MPa,温度为 -40~400℃ 的化工原料介质的管理,标准为 GB6479—2000《高压化肥设备用无缝钢管》。
3)石油裂化用无缝钢管:主要用于石油精炼厂的炉管、热交换器及其管道,标准为 GB9948—2006《石油裂化用无缝钢管》。
4)不锈耐酸无缝钢管:主要用于化工、石油、机械用管道,尤其适用于输送强腐蚀性介质、体温或高温介质、标准为 GB/T 14976-2002《流体输送用不锈钢无缝钢管》。
无缝钢管也可分为一般无缝钢管与专业无缝钢管两种,见表 2-4。

5)焊接钢管:主要用于公称压力 ≤1.6MPa 的官道上,因其管壁纵向有一条焊缝,故称之为焊接钢管。它可分为低压流体输送用焊接钢管(GB/T 3091—2008,见表 2-5)和螺旋缝焊接钢管、钢板卷制直缝焊接钢管。螺旋缝焊接钢管适用于水、污水、空气、采暖蒸汽等常温低压流体的输送,螺旋缝埋弧焊钢管的常用规格(SY/T 5037-2000)见表 2-6。
| 公称口径/mm | 公称外径/mm | 普通钢管 | 加厚钢管 | ||
| 公称壁厚/mm | 理论质量/(kg/m) | 公称壁厚/mm | 理论质量/(kg/m) | ||
| 6 | 10.2 | 2.0 | 0.40 | 2.5 | 0.47 |
| 8 | 13.4 | 2.5 | 0.68 | 2.8 | 0.74 |
| 10 | 17.2 | 2.5 | 0.91 | 2.8 | 0.99 |
| 15 | 21.3 | 2.8 | 1.28 | 3.5 | 1.54 |
| 20 | 26.9 | 2.8 | 1.66 | 3.5 | 2.02 |
| 25 | 33.7 | 3.2 | 2.41 | 4.0 | 2.93 |
| 32 | 42.4 | 3.5 | 3.36 | 4.0 | 3.79 |
| 40 | 48.3 | 3.5 | 3.87 | 4.5 | 4.86 |
| 50 | 60.3 | 3.8 | 5.29 | 4.5 | 6.19 |
| 65 | 76.1 | 4.0 | 7.11 | 4.5 | 7.95 |
| 80 | 88.9 | 4.0 | 8.38 | 5.0 | 10.35 |
| 100 | 114.3 | 4.0 | 10.88 | 5.0 | 13.48 |
| 125 | 139.7 | 4.0 | 13.39 | 5.5 | 18.20 |
| 150 | 168.3 | 4.5 | 18.18 | 6.0 | 24.02 |
| 公称外径/mm | 公称壁厚/mm | ||||||||||||||
| 5 | 5.4 | 5.6 | 6 | 6.3 | 7.1 | 8 | 8.8 | 10 | 11 | 12.5 | 14.2 | 16 | 17.5 | 20 | |
| 理论质量/(kg/m) | |||||||||||||||
| 273 | 33.05 | 35.64 | 36.93 | 39.51 | 41.44 | 46.56 | 52.28 | 57.34 | 64.86 | ||||||
| 323.9 | 39.32 | 42.42 | 43.96 | 47.04 | 49.34 | 55.47 | 62.32 | 68.38 | 77.41 | ||||||
| 355.6 | 43.23 | 46.64 | 48.34 | 51.73 | 54.27 | 61.02 | 68.58 | 75.26 | 85.23 | ||||||
| (377) | 45.87 | 49.49 | 51.29 | 54.90 | 57.59 | 64.77 | 72.80 | 79.91 | 90.51 | ||||||
| 406.4 | 49.50 | 53.40 | 55.35 | 59.25 | 62.16 | 69.92 | 78.60 | 86.29 | 97.76 | 107.26 | |||||
| (426) | 51.91 | 56.01 | 58.06 | 62.15 | 65.21 | 73.35 | 82.47 | 90.54 | 102.59 | 112.58 | |||||
| 457 | 55.73 | 60.14 | 62.34 | 66.73 | 70.02 | 78.78 | 88.58 | 97.27 | 110.24 | 120.99 | 137.03 | ||||
| 508 | 69.38 | 74.28 | 77.95 | 87.71 | 98.65 | 108.34 | 122.81 | 134.82 | 152.75 | ||||||
| (529) | 72.28 | 77.39 | 81.21 | 91.38 | 102.79 | 112.89 | 127.99 | 140.52 | 159.22 | ||||||
| 559 | 76.43 | 81.83 | 85.87 | 96.64 | 108.71 | 119.41 | 135.39 | 148.66 | 168.47 | ||||||
| 610 | 89.37 | 93.80 | 105.57 | 118.77 | 130.47 | 147.97 | 162.49 | 184.19 | |||||||
| (630) | 92.33 | 96.90 | 109.07 | 122.72 | 134.81 | 152.90 | 167.92 | 190.36 | |||||||
| 660 | 96.77 | 101.56 | 114.32 | 128.63 | 141.32 | 160.30 | 176.06 | 199.6 | 226.15 | ||||||
| 711 | 109.49 | 123.25 | 138.70 | 152.39 | 172.88 | 189.89 | 215.33 | 244.01 | |||||||
| (720) | 110.89 | 124.83 | 140.47 | 154.35 | 175.10 | 192.34 | 218.10 | 247.17 | |||||||
| 762 | 117.41 | 132.18 | 148.76 | 163.46 | 185.45 | 203.73 | 231.05 | 261.87 | |||||||
| 813 | 125.33 | 141.11 | 158.82 | 174.53 | 198.03 | 217.56 | 246.77 | 279.73 | |||||||
| 864 | 133.26 | 150.04 | 168.88 | 185.60 | 210.61 | 231.40 | 262.49 | 297.59 | 334.61 | ||||||
| 914 | 178.75 | 196.45 | 222.94 | 244.96 | 277.90 | 315.10 | 354.34 | ||||||||
| 1016 | 198.87 | 218.58 | 248.09 | 272.63 | 309.35 | 350.82 | 394.58 | ||||||||
注:外径中括号内的数据是选用。
焊接钢管用于石油和天然气长距离输送管道较多。我国出口的钢管中焊接钢管比无缝钢管多,近年来,美国进口焊接钢管 1/3 是中国产品。
(2)有色金属管
1)铜及铜合金管:管道工程用铜管管材有纯铜管(工业纯铜)、黄铜管(铜锌合金与特殊黄铜)和青铜管(铝青铜和锡青铜等)。按制造方法,铜管又可分为拉制管、轧制管和挤制管等,一般中、低压管道采用拉制管。纯铜管和黄铜管大多用于制造换热设备、制冷系统、化工管路、以及仪表的测压管线或传送液体的管线上。
纯铜管适用于工作压力在 4MPa 一下、温度为 -196~250℃ 的管路、黄铜管适用于工作压力在 22MPa 以下、温度为 -158~120℃ 的管路。在制冷系统中,铜管适用于工作压力低于 2MPa、温度为 -20~150℃,输送制冷剂与润滑油的管路上,近年来已用在室内燃气管路及高级宾馆的冷热水系统上。
2)铝及铝合金管:铝及铝合金管只要用于输送脂肪酸、硫化氢、二氧化碳和硝酸、醋酸等管道。它一般采用拉制和挤压等方法生产;其有质量轻、不锈蚀等特点,但其机械强度较差,不能承受较高压力。
3)钛管:钛管常用于其他管材无法胜任的工艺部位,其主要特点是质量轻、强度高、耐腐蚀、耐低温,适用温度范围为 -140~250℃,当温度高于 250℃ 时,其力学性能下降。
(3)铸铁管
1)高硅铸铁管:高硅管道是由含碳量在 0.5%~1.2%(质量分数,下同),含硅量在 10%~17% 的铁硅合金组成,具有很高的耐腐蚀性能。常用的高硅铸铁含硅量为 14.5%,随着硅含量的增加,耐腐蚀性能增大,但脆性也变大。一般使用压力为 0.25MPa 以下。
2)普通铸铁管:普通承插铸铁管用于给排水管道,按压力不同分为低压管(<0.45MPa)、中压管(0.45~0.75MPa)和高压管(0.75~1.0MPa),将管与法兰铸成一体的普通法兰铸铁管拆卸方便,应用较广泛。
(4)非金属管
1)耐酸酚醛塑料管:耐酸酚醛塑料管具有良好的耐腐蚀性能,能抗大部分酸性、有机溶剂等腐蚀,但不耐碱性及强氧化性的酸腐蚀。由于其冲击韧性差,较脆,故不宜在有机械振动、温度变化大的情况下使用,一般用于温度为 -30~130℃、压力 <0.6MPa 的工况。
2)硬聚氯乙烯管:硬聚氯乙烯管对不同浓度的大部分酸碱盐类的溶液有较好的耐腐蚀性,但在 50%以上的硝酸及发烟硫酸中则不稳定。其传热系数低、塑性好,不过其强度差,且只有在 60℃ 以下时才能保持适当强度,用于压力 <0.6MPa 的工况。
3)石墨管:石墨管具有良好的耐腐蚀性,且热胀系数小,不污染介质,但其较脆,强度低,适用于温度 <150℃、压力 <0.3MPa 的工况。
4)耐酸陶瓷管:耐酸陶瓷管具有良好的耐腐蚀性、不渗透性。但它耐温度骤变性差、强度差、强度低、不宜用于剧毒或易燃易爆介质,一般用于温度 <120℃、压力为常压的工况。
5)玻璃管:玻璃管对除氢氟酸外的酸类、稀碱及有机溶剂等具有良好的耐蚀性,但其抗拉强度低、常用于温度 <120℃、压力 <2.0MPa 的工况。
6)混凝土管:混凝土管分为预应力和自应力钢筋混凝土管两种。管口连接采用承插接口,用圆形截面的橡胶圈密封,适用于长距离输送低压水、气等,一般用于压力 <1.0MPa 的工况。
一般无缝钢管由 10、20、Q295、Q345 牌号的钢制造。按制造方法分为热轧无缝钢管和冷拔(轧)无缝管,热轧钢管的长度为 3000~12000mm。冷拔钢管的长度为 3000~10500mm。输送流体用无缝钢管,常用规格见表 2-3。
答:管道管理的技术要求是:
(1)建立管道的技术档案与台账。管道档案应包括图样、安装验收技术资料、维修记录、运行时间统计表等。
(2)建立管道管理的规章制度。对压力管道、使用单位应根据压力管道技术标准、法规建立安全管理制度、操作者安全被训制度、工艺生产造作制度、检验维护制度、事故管理制度及报废更新制度等。
对于从事压力管道、管件的设计、制造、安装、维修、全面检验的单位,均须获得有关部门颁发的许可证,方可从事相应的工作。
(3)生产管理。操作者应对使用的管道进行巡回检查。内容包括:管道的零部件是否完整齐全;仪表、计量器具、信号联锁、各种安全装置、自动调节装置是否灵敏可靠;管道是否有泄漏、超温、超压、过冷、异常震动现象;管道支架是否牢固;各种螺栓是否紧固;防腐防冻设施是否完整有效;阀门操作机构的润滑和防护是否符合要求等。
(4)维修管理。管道的维修管理应按 GB 50235—1997《工业金属管道工程施工及验收规范》的规定进行管理与验收。
答:管道工程常用文字符号见表 2-7。
| 符号 | 名称 | 符号 | 符号 | 名称 | 符号 |
| 1 | 管子外径 | Dw,dm | 37 | 热量 | Q |
| 2 | 管子内径 | Du,dn | 38 | 热容 | C |
| 3 | 直径 | D、d | 39 | 质量定压热容 | cp |
| 4 | 公称直径 | DN | 40 | 质量定容热容 | cv |
| 5 | 管子半径 | R、r | 41 | 设施温度 | t、τ、θ |
| 6 | 弯曲半径 | R | 42 | 热力学温度 | T |
| 7 | 压力 | p | 43 | 温差 | Δt、ΔT |
| 8 | 公称压力 | PN | 44 | 质量 | m |
| 9 | 应力 | σ | 45 | 密度 | ρ |
| 10 | 许用应力 | [σ] | 46 | 质量热容比 | γ |
| 11 | 力矩 | M | 47 | 熔 | μ |
| 12 | 弯矩 | W | 48 | 运动粘度 | ν |
| 13 | 惯性矩 | J | 49 | 动力粘度 | μ |
| 14 | 截面系数 | W | 50 | 沿程阻力系数 | λ |
| 15 | 弹性流量 | E | 51 | 局部阻力系数 | ζ |
| 16 | 流速 | V、v、w | 52 | 雷诺数 | Re |
| 17 | 流量 | Q、q、L | 53 | 流量系数 | μ |
| 18 | 质量流量 | G | 54 | 谢才系数 | C |
| 19 | 扬程 | H | 55 | 线[膨]胀系数 | αt |
| 20 | 水头损失 | H、h | 56 | 体[膨]胀系数 | αv |
| 21 | 水力坡度 | I、i | 57 | 力 | F |
| 22 | 水力半径 | R | 58 | 加速度 | α |
| 23 | 功 | W(A) | 59 | 角速度 | ω |
| 24 | 功率 | P | 60 | 振幅 | A |
| 25 | 转速 | N | 61 | 能(量) | E |
| 26 | 效率 | η | 62 | 热导率 | λ |
| 27 | 平面角 | α、β、γ、θ、ø | 63 | 表面传播系数 | α |
| 28 | 长度 | L、l | 64 | 传热系数 | Κ |
| 29 | 宽 | B、b | 65 | 热阻 | R |
| 30 | 高 | H、h | 66 | 围护结构热惰性指标 | D |
| 31 | 厚度 | S、δ、t、T | 67 | 小时变化系数 | Kh |
| 32 | 面积 | A、S | 68 | 管道粗糙系数 | n、K |
| 33 | 容积 | V | 69 | 设计压力 | P |
| 34 | 时间 | t | 70 | 试验压力 | Pτ、Pe |
| 35 | 周期 | T | 71 | 设计温度下的许用压力 | PA |
| 36 | 频率 | f | 72 | 冷拉系数 | ε |
答:管道代号见表 2-8。
| 符号 | 名称 | 符号 | 符号 | 名称 | 符号 |
| 1 | 饱和蒸汽管 | S | 40 | 压缩空气管 | A |
| 2 | 过热蒸汽管 | OS | 41 | 氧气管 | OX |
| 3 | 生产蒸汽管 | PS | 42 | 液氧管 | LOX |
| 4 | 生活蒸汽管 | DS | 43 | 氮气管 | N |
| 5 | 采暖蒸汽管 | HS | 44 | 液氮管 | LN |
| 6 | 伴热蒸汽管 | TS | 45 | 氢气管 | HY |
| 7 | 吹扫蒸汽管 | BLS | 46 | 氩气管 | AB |
| 8 | 二次蒸汽管 | SS | 47 | 乙炔管 | AC |
| 9 | 废蒸汽管 | WS | 48 | 二氧化碳管 | CD |
| 10 | 凝结水管(自流) | CW | 49 | 气态丙烷管(液化石油气) | PG |
| 11 | 凝结水管(压力流) | CWP | 50 | 液态丙烷管(液化石油气) | LPG |
| 12 | 采暖热水供水管 | H | 51 | 煤气管(不分类型) | G |
| 13 | 采暖热水回水管 | HR | 52 | 高炉煤气管 | BFG |
| 14 | 生产热水管(循环自流) | PH | 53 | 焦炉煤气管 | COG |
| 15 | 生产热水管(循环压力流) | PHP | 54 | 转炉煤气管 | LDG |
| 16 | 生活热水供水管 | DH | 55 | 发生炉热煤气管 | HGG |
| 17 | 生活热水回水管 | DHR | 56 | 发生炉冷煤气管 | CGG |
| 18 | 给水管 | W | 57 | 发生炉水煤气管 | WGG |
| 19 | 软化水管 | SW | 58 | 混合煤气管 | MIG |
| 20 | 除盐水管 | DMW | 59 | 天然气管 | NG |
| 21 | 循环水供水管 | CWS | 60 | 沼气罐 | MG |
| 22 | 循环水回水管 | CWR | 61 | 空气放空管 | V |
| 23 | 含酚热循环水供水管 | HC | 62 | 氧气放空管 | VOX |
| 24 | 含酚热循环供水管 | HCR | 63 | 氢气放空管 | VH |
| 25 | 含酚冷循环供水管 | CC | 64 | 氮气放空管 | VN |
| 26 | 含酚冷循环回水管 | CCR | 65 | 氩气放空管 | VAR |
| 27 | 循环管 | CP | 66 | 煤气放空管 | VC |
| 28 | 配水管 | P | 67 | 二氧化碳放空管 | VCD |
| 29 | 排水管 | D | 68 | 乙炔放空管 | VAC |
| 30 | 生产排水管 | PD | 69 | 蒸汽放空管 | ES |
| 31 | 连续污水管 | CB | 70 | 供油管(不分类型) | O |
| 32 | 定期污水管 | PC | 71 | 回油管(不分类型) | OR |
| 33 | 溢水管 | OF | 72 | 煤油管 | KO |
| 34 | 补给水管 | M | 73 | 重油供油管 | HO |
| 35 | 盐溶液管 | SA | 74 | 重油回油管 | HOR |
| 36 | 硫酸管 | SFA | 75 | 焦油罐 | T |
| 37 | 盐酸管 | HA | 76 | 乳化液 | E |
| 38 | 碱溶液(氢氧化钠)管 | SL | 77 | 汽油管 | GO |
| 39 | 膨胀管 | EXP | 78 | 机油管 | MO |
答:管道工程中,管子种类繁多,管子的大小通常用管外径 D 和管内径 d 表示,量度使用过程中,由于用途不一,需要多种直径相应的管路附件(包括管件、阀门、法兰等),这样,管材和附件的直径尺寸就相当多,就给制造、设计和施工造成了不便,为了能批量生产、降低成本、提高效益,使管子和管理附件具有通用性和互换性,必须对管子和管理附件实行标准化,而公称直径又是管道工程标准化重要内容。所谓公称直径就是各种管道元件的通用口径,又称公称通径、公称口径、公称尺寸(现在国际上普遍使用公称尺寸这一称谓),用符号 DN 表示,DN 是用于管道系统元件的字母和数字组合的尺寸标识。它由字母 DN 和后跟无因次的整数数字组成。现行管道元件的公称直径按 GB/T 1047-2005 之规定,见表 2-9。
| DN6 | DN40 | DN200 | DN600 | DN1400 | DN2600 | DN4000 |
| DN8 | DN50 | DN250 | DN700 | DN1500 | DN2800 | |
| DN10 | DN65 | DN300 | DN800 | DN1600 | DN3000 | |
| DN15 | DN80 | DN350 | DN900 | DN1800 | DN3200 | |
| DN20 | DN100 | DN400 | DN1000 | DN2000 | DN3400 | |
| DN25 | DN125 | DN450 | DN1100 | DN2200 | DN3600 | |
| DN32 | DN150 | DN500 | DN1200 | DN2400 | DN3800 |
答:公称压力、试验压力、工作压力是:
(1)公称压力:制品在基准温度下的耐压强度称为公称压力,用符号 PN 表示,PN 是与管道系统元件的力学性能和尺寸特性相关、用于参考的字母和数字组合的标识。它由字母 PN 和后跟无因次的数字组成。入公称压力为 1.0MPa,记为 PN10。由于制品的材料不同,其基准温度也不同,铸铁和铜的基准温度为 120℃,钢的基准温度为 200℃,合金钢的基准温度为 250℃。塑料制品的基准温度为 20℃,制品在基准温度下的耐压强度接近常温时的耐压强度,故公称压力也接近常温下材料的耐压强度。管道的公称压力见表 2-10。
| DIN 系列 | ANSI 系列 |
| PN2.5 | PN20 |
| PN6 | PN50 |
| PN10 | PN110 |
| PN16 | PN150 |
| PN25 | PN260 |
| PN40 | PN420 |
| PN63 | |
| PN100 |
注:必要时允许选用其他的 PN 值。
(2)工作压力:管子和管路附近在正常运行条件下所承受的压力用符号 p 表 示,这个运行条件必须是指某一操作温度,因而说明某制品的压力工作应注明其工作温度,通常是在 p 的下角附加数字,该数字是最高工作温度除 10 所得的正式整数值,如介质的最高强度为 300℃,工作压力为 10MPa,则记为 p3010MPa。
(3)试验压力:管道与管路附件在出厂前,必须进行压力试验,检查其强度和密封性,对制品进行强度试验的压力称为强度试验压力,用符号 ps 表示,如试验压力为 4MPa,记为 ps4MPa。从安全角度考虑,试验压力必须大于公称压力。
制品的公称压力按照他的定义是指基准温度下的耐压强度,但在很多情况下,制品并非在基准温度下工作,随着温度的变化,制品的耐压强度也跟着发生变化,所以隶属于某一公称压力的制品,究竟能承受多大的工作压力,要由介质的工作温度决定,因此就需要知道制品在不同的工作温度下公称压力和工作压力的关系。为此,必须通过强度计算找出制品的耐压强度与温度之间的变化规律。在工程实践中,通常是按照制品的最高耐温界限,把工作温度分为若干等级,并计算每个温度等级下制品的允许的工作压力。例如:用优质碳素钢制造的制品,工作温度分为 11 个等级,在每一个工作温度等级下,列出在该温度等级下的工作压力,见表 2-11。
| 序号 | 温度等级 | 温度范围/℃ | 最大工作压力 | 序号 | 温度等级 | 温度范围/℃ | 最大工作压力 |
| 1 | 1 | 0~200 | 1PN | 7 | 7 | 351~375 | 0.67PN |
| 2 | 2 | 201~250 | 0.92PN | 8 | 8 | 376~400 | 0.64PN |
| 3 | 3 | 251~275 | 0.86PN | 9 | 9 | 401~425 | 0.55PN |
| 4 | 4 | 276~300 | 0.81PN | 10 | 10 | 426~435 | 0.50PN |
| 5 | 5 | 301~325 | 0.75PN | 11 | 11 | 436~450 | 0.45PN |
| 6 | 6 | 326~350 | 0.71PN |
其他材料的制品,同样可以分成不同的温度等级并计算出在每一个工作温度下所承受的最大工作压力。这样我们可以制定出各种制品的公称压力、工作温度和最大工作压力的换算关系。编织成便于应用的表格,以便按照制品的公称压力和介质的工作温度来确定所允许承受的最大工作压力,或者按照介质的工作压力来选择管材和管路附件。表 2-12、表 2-13、表 2-14分别列出了碳钢及合金钢制件、铸铁制件、铜制件的公称压力、工作压力、工作温度和最大工作压力的关系。这些表称为制件的温压表。在选择管材、管路附件是经常用到。
| 材料 | 介质工作温度/℃ | |||||||||||||||
| Q235A,Q235A·F | ≤200 | 250 | 275 | 300 | 325 | 350 | ||||||||||
| 10,20,25,35,20g | ≤200 | 250 | 275 | 300 | 325 | 350 | 375 | 400 | 425 | 435 | 450 | |||||
| 16Mn,ZG20Mn | ≤200 | 300 | 325 | 350 | 375 | 400 | 410 | 415 | 425 | 435 | 440 | 450 | ||||
| 15MnV | ≤250 | 300 | 350 | 375 | 400 | 410 | 420 | 430 | 440 | 450 | ||||||
| 12~15MnMoV,16Mo | ≤250 | 350 | 400 | 425 | 450 | 460 | 470 | 480 | 490 | 500 | 510 | 520 | ||||
| 12CrMo,15CrMo | ≤250 | 350 | 400 | 425 | 450 | 460 | 470 | 480 | 490 | 500 | 510 | 520 | 525 | 530 | 535 | 540 |
| Cr5Mo | ≤250 | 350 | 400 | 425 | 450 | 475 | 480 | 490 | 500 | 505 | 515 | 525 | 535 | 540 | 545 | 550 |
| 12CrlMoV,12MoVWBSiRe | ≤250 | 350 | 400 | 425 | 450 | 475 | 500 | 510 | 520 | 530 | 540 | 550 | 560 | 570 | 580 | |
| 12CrMoWVB | ≤250 | 350 | 400 | 425 | 450 | 475 | 500 | 520 | 540 | 560 | 570 | 580 | 590 | 595 | 600 | |
| 1Cr18Ni9Ti,Cr18Ni12Mo2N | ≤250 | 350 | 400 | 425 | 450 | 475 | 500 | 525 | 545 | 560 | 580 | 600 | 610 | 620 | 630 | 635 |
| 0Cr13,1Cr13,2Cr13 | ≤250 | 300 | 375 | 400 | ||||||||||||
| 公称压力 PN/MPa | 最大工作压力/MPa | |||||||||||||||
| 0.1 | 0.1 | 0.09 | 0.09 | 0.08 | 0.08 | 0.07 | 0.07 | 0.06 | 0.06 | 0.06 | 0.05 | 0.04 | 0.04 | 0.04 | 0.03 | 0.03 |
| 0.25 | 0.25 | 0.23 | 0.21 | 0.2 | 0.19 | 0.18 | 0.17 | 0.16 | 0.15 | 0.14 | 0.12 | 0.11 | 0.1 | 0.09 | 0.08 | 0.07 |
| 0.6 | 0.6 | 0.55 | 0.51 | 0.48 | 0.45 | 0.43 | 0.4 | 0.38 | 0.36 | 0.33 | 0.3 | 0.27 | 0.24 | 0.21 | 0.19 | 0.18 |
| 1.0 | 1.0 | 0.92 | 0.86 | 0.81 | 0.75 | 0.71 | 0.67 | 0.61 | 0.60 | 0.55 | 0.5 | 0.45 | 0.40 | 0.36 | 0.32 | 0.3 |
| 1.6 | 1.6 | 1.5 | 1.4 | 1.3 | 1.2 | 1.1 | 1.05 | 1.0 | 0.95 | 0.9 | 0.8 | 0.7 | 0.64 | 0.60 | 0.50 | 0.48 |
| 2.5 | 2.5 | 2.3 | 2.1 | 2.0 | 1.9 | 1.8 | 1.7 | 1.6 | 1.5 | 1.4 | 1.2 | 1.1 | 1.0 | 0.90 | 0.80 | 0.75 |
| 材料 | 介质工作温度/℃ | |||||||||||||||
| Q235A,Q235A·F | ≤200 | 250 | 275 | 300 | 325 | 350 | ||||||||||
| 10,20,25,35,20g | ≤200 | 250 | 275 | 300 | 325 | 350 | 375 | 400 | 425 | 435 | 450 | |||||
| 16Mn,ZG20Mn | ≤200 | 300 | 325 | 350 | 375 | 400 | 410 | 415 | 425 | 435 | 440 | 450 | ||||
| 15MnV | ≤250 | 300 | 350 | 375 | 400 | 410 | 420 | 430 | 440 | 450 | ||||||
| 12~15MnMoV,16Mo | ≤250 | 350 | 400 | 425 | 450 | 460 | 470 | 480 | 490 | 500 | 510 | 520 | ||||
| 12CrMo,15CrMo | ≤250 | 350 | 400 | 425 | 450 | 460 | 470 | 480 | 490 | 500 | 510 | 520 | 525 | 530 | 535 | 540 |
| Cr5Mo | ≤250 | 350 | 400 | 425 | 450 | 475 | 480 | 490 | 500 | 505 | 515 | 525 | 535 | 540 | 545 | 550 |
| 12CrlMoV,12MoVWBSiRe | ≤250 | 350 | 400 | 425 | 450 | 475 | 500 | 510 | 520 | 530 | 540 | 550 | 560 | 570 | 580 | |
| 12CrMoWVB | ≤250 | 350 | 400 | 425 | 450 | 475 | 500 | 520 | 540 | 560 | 570 | 580 | 590 | 595 | 600 | |
| 1Cr18Ni9Ti,Cr18Ni12Mo2N | ≤250 | 350 | 400 | 425 | 450 | 475 | 500 | 525 | 545 | 560 | 580 | 600 | 610 | 620 | 630 | 635 |
| 0Cr13,1Cr13,2Cr13 | ≤250 | 300 | 375 | 400 | ||||||||||||
| 公称压力 PN/MPa | 最大工作压力/MPa | |||||||||||||||
| 4.0 | 4.0 | 3.7 | 3.4 | 3.2 | 3.0 | 2.8 | 2.7 | 2.5 | 2.4 | 2.2 | 2.0 | 1.8 | 1.6 | 1.4 | 1.3 | 1.2 |
| 6.4 | 6.4 | 5.9 | 5.5 | 5.2 | 4.9 | 4.6 | 4.4 | 4.1 | 3.8 | 3.5 | 3.2 | 2.8 | 2.5 | 2.3 | 2.0 | 1.9 |
| 10.0 | 10.0 | 9.02 | 8.6 | 8.1 | 7.6 | 7.2 | 6.8 | 6.4 | 6.0 | 5.6 | 5.0 | 4.5 | 4.0 | 3.6 | 3.2 | 3.0 |
| 16.0 | 16.0 | 14.7 | 13.7 | 13.0 | 12.1 | 11.5 | 10.8 | 10.2 | 9.6 | 9.0 | 8.0 | 7.2 | 6.4 | 5.7 | 5.1 | 4.8 |
| 20.0 | 20.0 | 18.4 | 17.2 | 16.2 | 15.2 | 14.4 | 13.6 | 12.8 | 12.0 | 11.2 | 10.2 | 9.0 | 8.0 | 7.2 | 6.4 | 6.0 |
| 22.0 | 22.0 | 20.2 | 18.9 | 17.8 | 16.7 | 15.8 | 15.0 | 14.0 | 13.2 | 12.3 | 11.0 | 9.9 | 8.8 | 7.9 | 7.0 | 6.6 |
| 25.0 | 25.0 | 23.0 | 21.5 | 20.2 | 19.0 | 18.0 | 17.0 | 16.0 | 15.0 | 14.0 | 12.5 | 11.2 | 10.0 | 9.0 | 8.0 | 7.5 |
| 32.0 | 32.0 | 29.4 | 27.5 | 25.9 | 24.3 | 23.0 | 21.7 | 20.5 | 19.2 | 17.9 | 16.0 | 14.4 | 12.8 | 11.5 | 10.2 | 9.6 |
| 材料名称 | 介质工作温度/℃ | |||||
| 灰铸铁及可锻铸铁 | ≤120 | 200 | 250 | 300 | ||
| 耐酸硅铸铁 | ≤120 | |||||
| 球墨铸铁 | ≤120 | 200 | 250 | 300 | 350 | 375 |
| 公称压力 PN/MPa | 最大工作压力/MPa | |||||
| 0.1 | 0.1 | 0.1 | 0.1 | 0.1 | 0.08 | 0.07 |
| 0.25 | 0.25 | 0.25 | 0.2 | 0.2 | 0.19 | 0.16 |
| 0.6 | 0.6 | 0.55 | 0.5 | 0.5 | 0.45 | 0.42 |
| 1.0 | 1.0 | 0.9 | 0.8 | 0.8 | 0.75 | 0.7 |
| 1.6 | 1.6 | 1.5 | 1.4 | 1.3 | 1.2 | 1.0 |
| 2.5 | 2.5 | 2.3 | 2.1 | 2.0 | 1.8 | 1.6 |
| 4.0 | 4.0 | 3.6 | 3.4 | 3.2 | 3.2 | 2.8 |
| 公称压力 PN/MPa | 介质工作温度/℃ | 公称压力 PN/MPa | 介质工作温度/℃ | |||
| ≤120 | 160 | 200 | 250 | ≤120 | ||
| 最大工作压力/MPa | 最大工作压力/MPa | |||||
| 0.1 | 0.1 | 0.1 | 0.1 | 0.07 | 6.4 | 6.4 |
| 0.25 | 0.25 | 0.22 | 0.2 | 0.17 | 10.0 | 10.0 |
| 0.6 | 0.6 | 0.55 | 0.5 | 0.4 | 16.0 | 16.0 |
| 1.0 | 1.0 | 0.9 | 0.8 | 0.7 | 20.0 | 20.0 |
| 1.6 | 1.6 | 1.4 | 1.3 | 1.1 | 25.0 | 25.0 |
| 2.5 | 2.5 | 2.2 | 2.0 | 1.7 | ||
| 4.0 | 4.0 | 3.6 | 3.2 | 2.7 | ||
答:为了确保管道运行有条不紊,动能供应经济安全,必须对各种管道在投入运行前进行一系列的检查和试验,同时对已投入运行的管道进行定期维修。管道维修主要包括下列内容:动力管道修理顺序、修理内容、试压规定以及动力管道大修和检查竣工验收等。
答:管道的维修程序如下:

答:管道的大修程序如下:

答:管道新装工程的工作程序如下:

答:管道移装工程的工作程序如下:

答:管道新装及验收要求是:
企业在更新、改装和加装动力管线是,均由主管部门签发动力管线(改)装施工单。施工完毕后,绘制竣工图交专管部门验收并归档保存,以便定期修改管线图时使用。未经专管部门批准,不准擅自拆除(事故处理除外)动力管线。
企业动力部门在今后基建及技术项目联合验收时,应按有关规定接受施工单位的竣工管线图和有关技术资料,管道新装验收单可参考表 2-15 所示。
| 单元编号 | 名称 | 安装位置 | 施工单位 | 管理单位 | 工程图号 | 备注 | |
| 管道材料 | 管道位置 | ||||||
| 主要参数 | 管径 | ||||||
| 管长 | |||||||
| 管子附件 | |||||||
| 阀门 | 规格 | ||||||
| 数量 | |||||||
| 移交部门 | 主管: | 使用部门 | 主管: | 主管部门 | 主管: | 财务部门 | 主管: |
| 移交人员: | 设备员: | 经办人员: | 经办人员: | ||||
答:动力管道修理竣工的验收程序如下:

动力管道修理验收单见表 2-16。
| 设备编号 | 名称 | 复杂系数 | 修理类别 | |||||
| 工程图号 | 承修小组 | 验收日期 | ||||||
| 管道技术员意见: (签名): 年 月 日 | ||||||||
| 动力科技书管理组意见: (签名): 年 月 日 | ||||||||
| 动力科领导意见: (签名): 年 月 日 | ||||||||
| 备注 | ||||||||
答:技术、基建工程新装、移装动力管道的验收程序如下:

答:动力管道图的验收归档程序如下:

答:动力管道大修理内容是:
1)拆换已坏管道。
2)修理阀门、研磨阀座或更换阀门。
3)修理或更换部分动力接头箱。
4)清洗修理明管(指架空及地上管道)的内外壁和埋地管道的内壁。
5)给支架和管道刷涂面漆。
6)检查蒸汽管保温层级保温外壳。
7)清洗和修理管道各种附件及部件(如汽水分离器等),并进行涂漆。
8)对管道的修理部分必须按规定要求进行强度试验和气密封性试验。
答:动力管道一般检修内容是:
1)清理管道(明管)的外表。
2)更换已损坏的法兰衬垫及管件。
3)检修阀门的密封件及填料。
答:动力管道修理周期见表 2-17。
| 名称 | 修理周期 | 备注 |
| 蒸汽管道 | 2年大修一次 | 对运行状态良好,维修保养较好的可以每3-4年大修一次 |
| 采暖管道 | 1年大修一次 | |
| 乙炔管道 | 2年大修一次 | |
| 压缩空气管道 | 4年大修一次 | 室外管道每2~4 年油漆一次 |
| 给水管道 | 4年大修一次 | 1~2 年进行一次清理 |
| 燃油管道 | 1年大修一次 | 半年进行一次清理 |
| 氧气管道 | 1~2年大修一次 | |
| 煤气管道 | 1~2年大修一次 | |
| 制冷管道 | 1年大修一次 |
答:动力管道大修理复杂系数见表 2-18。
![]() | 压缩空气管道给水管道 | 蒸汽管道 | 乙炔管道 | 氧气管道 |
| <25 | 1.1 | 1.5 | 1.4 | 1.4 |
| 50 | 1.3 | 1.7 | 1.6 | 1.6 |
| 80 | 1.9 | 2.5 | — | 2.3 |
| 100 | 2.4 | 3.0 | — | 2.8 |
| 150 | 2.8 | 3.6 | — | — |
| 200 | 3.5 | 4.5 | — | — |
| 250 | 4.5 | — | — | — |
| 300 | 5.3 | — | — | — |
| 350 | 6.0 | — | — | — |
| 400 | 7.8 | — | — | — |
注:每 100m 的动力管道大修复复杂系数。
表 2-18 列出了 每 100m 动力管道的大修理发杂系数(按三级工技术水平计)。
答:动力管道修理工程是定额见表 2-19。
| 项目 | 大修理 | ||||
| 管道工 | 焊工 | 起重工 | 挖土工及辅助工 | 合计 | |
| 工时额定 | 35 | 10 | 15 | 20 | 85 |
由于各企业目前的管理水平不一,管理人员平均技术等级不一,所以动力管道修理复杂系数的工时额定还不统一,以后应通过加强管理和培训使之逐步统一。
答:管道使用前检验指在使用前对管道的制造和安装质量进行了全面审核验收。
1)审查施工图样及施工技术要求等是否符合有关标准、规范。
2)审查管材、管件、阀门等是否有合格证及质量说明书。其化学成分、力学性能、无损检测、耐压试验应符合 GB 50235-1997《工业金属管道工程施工及验收规范》。对缺项应进行补充检验。
3)审查安装记录。包括加工检验、焊接工艺评定、无损检测报告、返修记录、热处理、耐压试验、酸洗、吹扫、防腐保温登记录(报告)。其技术要就应符合 GB 50236—1998《现场设备、工业管道焊接工程施工及验收规范》。
4)对管道的外观、几何尺寸、安装质量、无损检测、防腐保温等进行抽检。对压力管道的抽检应不低于整条管线 10% 的比例。
答:管道的在线检验,是指在运行时进行的检验,包括内容:
1)检查管道及其接口法兰、接头、焊接、阀门填料等泄漏情况。
2)检查管道振动、活动支架位移和固定支架牢固等情况。
3)检查防腐、保温层的完好情况。
4)检查安全附件可靠灵敏情况。
5)对于安全管道,必要时检检查壁厚情况。
答:管道的全面检验,是指停车大检修是的检验,它包括在线检验内容和一下内容:
1)检查管道表面裂纹、褶迭、重皮、局部腐蚀、碰上变形、局部过热等情况。
2)检查焊接接头裂纹、凹陷、错边、咬边等情况。
3)检查弯头、弯管的异常变形情况。
根据介质的物理状况及流向,对易受介质冲刷、可能积液、曲率变化及腐蚀部位进行测后检查。每段管测厚范围应大于等于三点。发现问题应扩大测后范围,找出异常区域。当壁厚 <10% 时,对压力管道,还应做强度校核。
5)对宏观检查发现裂纹、保温层破损可能渗入水以及有可能产生疲劳的压力管道焊缝、管道表面、管接头及连接螺栓应做便面检测;对重要的压力管道焊缝还应做 ≥10% 的射线或超声波检测。
6)压力管道的前面检验周期,一般每小于等于 6 年进行一次。
答:工业管道完好标准内容见表 2-20。
| 项目 | 内容 | 考核定分 |
| 1 | 管道技术档案资料齐全、正确,有管线图,安装(改装)竣工图等,并按有关规定列入设备固定资产 | 10 |
| 2 | 管道防腐保温性能符合有关设计规范要求,油漆明亮,色标色环达到规定要求,主要干线有明显指标介质流动方向、管道、阀门等总泄露率 ≤2‰ | 16 |
| 3 | 管道敷设应能满足生产工艺要求或生活需要,选用管材及附件应符合有关规范的要求 | 16 |
| 4 | 架空管道的支架、吊架结构合理,支撑妥善,支架间距合理,符合技术规范;埋地管道应采取措施解决膨胀和水浸蚀问题,且有稳固基础和良好保温设施,检查并设置合理;地沟内敷设管道应能保护管道不受外力和水的浸蚀,地沟油良好的防水排水措施 | 16 |
| 5 | 管道的敷设应有合适坡度,顺坡或逆坡应符合有关设计规范要求,并在最低点设排水装置;煤气、氧气、供油管道等应有可靠的措施,以导泄静电,接地电阻及重复接地符合有关规范要求 | 16 |
| 6 | 做好管道的强度试验等工作,并有记录 | 16 |
| 7 | 管道在厂区和车间架空或埋地敷设时,与其他管道、电力线路、电信线路及建筑物之间的水平和垂直交叉净距,应符合有关设计范围要求 | 10 |
答:蒸汽管路及分汽缸完好标准内容见表 2-21。
| 项目 | 内容 | 考核定分 |
| 1 | 分汽缸设计制造符合规定要求,试验合格,保温良好,无漏气、漏水现象 | 20 |
| 2 | 管路布置敷设合理整齐,保温良好,色标正确 | 20 |
| 3 | 工作压力不同的锅炉,并分别装有独立的蒸汽管道和给水管道;如合用一条蒸汽干管较高压力的蒸汽管道上必须有自动减压装置,分汽缸上应装置压力表和安全圈 | 20 |
| 4 | 应有明显的标记指示汽,水流动的方向和阀门开关方向 | 20 |
| 5 | 可分为省煤器的入口和通向锅筒的给水管,应分别装设给水截止阀和给水止回阀(截止阀应装在锅筒或雀煤器入口处和止回阀之间) | 20 |
答:压力管道日常检查、保养项目见表 2-22。
| 项目检查 | 检查方法 | 检查内容 | 问题的危害 | 保养方法和措施 |
| 压力表 | 目测校验 | 1)表面玻璃是否完整 | 因指标不正确可能造成超压 | 定期校验和维修 |
| 2)指示是否灵敏 | ||||
| 3)导压管是否通畅 | ||||
| 4)铅封是否完好 | ||||
| 电偶温度计 | 目测校验 | 温度指示是否标准 | 超温会产生管道材料应力腐蚀、蠕变等 | 定期校验和维修 |
| 安全阀 | 目测 | 1)有无异物卡在阀芯和弹簧中间 | 1)漏气 | 停车或泄压是进行调校 |
| 2)弹簧及其他零件有无破损,是否漏气 | ||||
| 3)弹簧及其他零件有无损换,是否漏气 | 2)在超压时因安全阀不能起跳造成管道事故 | |||
| 4)铅封是否完好 | ||||
| 5)隔断阀铅封是否完好 | ||||
| 爆碎片 | 目测 | 1)膜片是否存在缺陷 | 同上 | 注意安装前的检验;按规定定期更换 |
| 2)导管是否畅通 | ||||
| 管道支架 | 目测、耳听、手摸 | 1)支架是否松动 | 管道因磨损和疲劳而断裂;管道应力增大 | 把紧螺栓或加固 |
| 2)管道有无振动 | ||||
| 3)支架是否损毁 | ||||
| 管架基础 | 目测 | 1)基础是否下沉 | 基础损坏,使管道承受附加应力,威胁安全生产 | 1)定期观察基础下沉情况,采取针对性措施 |
| 2)基础有无裂缝 | 2)测定裂纹是否继续扩大 | |||
| 绝热层 | 目测表面温度计 | 1)支主材料是否损伤脱落、受潮、失效 | 1)产生管道热损失 | 更换保温材料;损坏要及时修复 |
| 2)防潮层是否损坏、失效 | 2)腐蚀 | |||
| 3)外护层是否损伤、脱落 | 3)保温结构失去保护,过早破坏 | |||
| 阀门填料 | 目测 | 有无泄漏 | 影响环境卫生、文明生产和安全 | 装填料和紧密封函时要严格按技术要求办 |
| 螺栓 | 目测 | 1)是否锈蚀 | 1)造成螺旋、丝扣腐蚀 | 涂防锈油;把紧螺栓 |
| 2)是否松动 | 2)造成泄漏 |
答:管道法兰密封面泄露的主要原因与防止措施见表 2-23。
| 泄漏原因 | 泄漏状况说明 | 防止措施 |
| 多高温、高压的结构选择不当 | 即使正确施工,紧固很好,也仍然泄漏不止或由于热应力等经常发生泄漏 | 要重新研究法兰、垫圈、螺栓等的结构和材料等 |
| 由于管系的热应力等异常应力而引起的法兰或螺栓的损伤 | 如破损就会发生泄露,但即使不破损,垫圈压面的变化,也常常发生泄露 | 要重新研究管系的挠性,必要时增加挠性 |
| 法兰、垫圈、螺栓的热膨胀不均 | 即使结构等均良好,但法兰部位有温度梯度时,也往往发生泄漏 | 缓和法兰部位的温度梯度,可降低热圈系数 |
| 法兰刚性不足,垫圈配合面的缺陷 | 法兰变形,不能得到均匀面适当的垫圈压面 | 提高法兰的刚性,可降低热圈系数 |
| 法兰平衡性不好、中心偏差 | 安装不当或机械损伤而是垫圈不贴合处泄漏 | 重点加工垫圈配合面,或更换法兰,校正法兰的平行性和中心线 |
| 螺栓强度不足,松动和腐蚀 | 在高温情况下,有强度不足(蠕变)的情况;由于振动,热变化、应力缓和而松动;多数是来自外部的腐蚀 | 重新研究螺栓材料及其尺寸;增大螺栓尺寸,使热变化均匀,经常紧固螺栓;更换新螺栓 |
| 垫圈承压力不足;受腐蚀;变质,或材料缺陷 | 由各种综合情况而引起;或由于流体的作用而腐蚀,或随使用时间的增加而变质 | 紧固螺栓,考虑材料及形状,改变尺寸或更换新垫圈 |
答:氧气管道应定期进行强度试验和严密性试验,具体要求见表 2-24。强度试验一般采用水压试验。氧气管道试压时,使用的试验介质都应是无油的,水压泵也必须除油。
| 类别 | 工作压力 p/MPa | 强度试验 | 严密性试验 | ||
| 试验用介质 | 试验压力/MPa | 试验用介质 | 试验压力/MPa | ||
| 氧气管道 | >2.98 | 水 | 1.25p | 空气 | p |
| 0.07~2.98 | 空气 | 1.1p | 空气 | p | |
| 或水 | 1.25p | 空气 | p | ||
| <0.07 | 空气 | 1 | 空气 | p | |
| 空气、氧气及氮气 | >2.98 | 水 | 1.25p | 空气 | p |
| 0.07~2.98 | 空气 | 1.1p | 空气 | p | |
| 或水 | 1.25p | 空气 | p | ||
| <0.07 | 空气 | 1 | 空气 | p | |
如以气压来进行试验,应按试验压力的 20% 分级压力;升至所要求的试验压力后,观测 5min,如压力下降,则将压力降至工作压力进行外观检查,无破裂、变形或漏气等情况即认为合格。如以水压来进行试验,升至所要求的试验压力后,观测 10min,其余要求同气压试验。
强度试验合格后在进行严密性试验,试验压力升至规定值时,在所有接口处图皂液检查,并观测 24h,如无缺陷且平均每小时漏气率 ≤1% 为合格。
答:常用管道的类型、选材及用途见表 2-25 所示。
| 序号 | 管道类型 | 选用材料 | 一般用途 | 标准号 | 备注 | |
| 1 | 无缝钢管 | 中低压用 | 普通碳素钢、优质碳素钢,低合金钢、合金结构钢 | 输送对碳钢无腐蚀或腐蚀速度很小的各种流体 | GB/T 8163—1999(2008) | |
| GB/T 3082—1984(2008) | ||||||
| GB/T 9948—2006 | ||||||
| 高要用 | 20、15MnV 等 | 合成氨、尿素、甲醇生产中大量使用 | GB/T 6479—2000 | |||
| 不锈钢 | 1Cr18Ni9Ti 等 | 液碱、丁醛、丁醇、液氮、硝酸、硝铵溶液的输送 | GB/T 14975—2002 | |||
| 2 | 焊接钢管 | 水煤气输送钢管 | Q235—A | 适用于输送水、压缩空气、煤气、乏汽、冷凝水和采暖系统的管理 | GB/T 3091—20088 | |
| 螺旋缝电焊钢管 | Q235、16Mn 等 | SY/T 5037—2000 | ||||
| 不锈钢焊接钢管 | 1Cr18Ni9Ti 等 | HG 20537.3—1992 | ||||
| HG 20537.4—1992 | ||||||
| 3 | 金属软管 | 钎焊不锈钢软管 | 1Cr18Ni9Ti | 一般适用于输送带有腐蚀性气体 | ||
| P2 型耐压软管 | 低碳镀锌钢带 | 一般用于输送中性的液体、气体及混合物 | ||||
| P3 型吸尘管 | 低碳镀锌钢带 | 一般用于通风、吸尘的管道 | ||||
| PM1 型耐压管 | 低碳镀锌钢带 | 一般用于输送中性液体 | ||||
| 4 | 有色金属 | 铜管和黄铜管 | T2、T3、T4、TUP、TU1、TU2、H68、H62 | 适用于一般工业部门,用作机器和真空设备上的管理及压力小于 10MPa 时的氧气管路 | GB/T 1527—2006 | |
| 铅及其合金管 | 纯铅,Pb4、Pb5、Pb6,铅锑合金(硬铅),PbSb4、PbSb6、PbSb8 | 适用于化学、染料、制药及其他工业部门做耐酸材料的管道,如输送 15%~65% 的硫酸,干或湿的二氧化硫,60% 的氢氟酸,含量小于 80% 的醋酸,铅管的最高使用温度为 200℃,但温度高于 140℃时,不宜在压力下使用 | GB/T 1472—2005 | |||
| 铝及其合金 | L2、L3、工业纯铝 | 铝管用于输送脂肪酸、硫化氢及二氧化碳,铝管最高使用温度 200℃,温度高于 160℃ 时,不宜在压力下使用,铝管还可以用于输送浓硝酸、醋酸、蚁酸、硫的化合物及硫酸盐。不能用于盐酸、碱液,特别是含氯离子的化合物。铝管不可用对铝有腐蚀的碳酸镁、含碱玻璃棉保温 | GB/T 6893—2000 | |||
| GB/T 4436—1995 | ||||||
| 5 | 纤维缠绕玻璃钢管 | 承插胶粘直管、对接直管和 O 形环承插连接直管 | 玻璃钢 | 一般用在公称压力 0.6~1.6MPa、公称直径大于 50mm 的官道上 | ||
| 玻璃钢管 | 玻璃铜 | 低压接触成型直管使用压力小于等于 0.6MPa,长丝缠绕直管,使用压力小于等于 1.6MPa | ||||
| 6 | 增强聚丙烯管 | 聚丙烯 | 具有轻质高强,耐腐蚀性好,致密性好、价格低等特点,使用温度为 120℃,使用压力为小于等于 1.0MPa | HG 20539—1992 | ||
| 7 | 玻璃管增强聚氯乙烯复合管 | 玻璃、聚氯乙烯 | 一般用于公称直径 15~4000mm,PN 小于等于 1.6MPa 的管道上 | HG/T 3731—2004 | ||
| 8 | 玻璃钢增强聚氯乙烯复合管 | 玻璃钢、聚氯乙烯 | 使用压力小于等于 1.6MPa | |||
| 9 | 钢衬改性聚丙烯复合管 | 钢、聚丙烯 | 使用压力可大于 1.6MPa | |||
| 10 | 钢衬聚四氟乙烯推压管 | 钢、聚四氟乙烯 | 使用压力可大于 1.6MPa | |||
| 11 | 钢衬高性能聚乙烯管 | 钢、聚乙烯 | 具有耐腐蚀、耐磨损等特点 | |||
| 12 | 钢喷涂聚乙烯管 | 钢、聚乙烯 | 使用压力小于等于 0.6MPa | |||
| 13 | 钢衬橡胶管 | 钢、橡胶 | 使用压力可大于 1.6MPa | HG 21501—1993 | ||
| 14 | 钢衬玻璃管 | 钢、玻璃 | 使用压力可大于 1.6MPa | HG/T 2130—1991 | ||
| 15 | 搪玻璃管 | 钢、瓷釉 | 使用压力可小于 0.6MPa | |||
| 16 | 硬聚氯乙烯管 | 聚氯乙烯 | 公称压力 0.63~2.5MPa | GB/T 4219.1—2008 | ||
| 17 | ABS 管 | ABS | 使用压力小于等于 0.6MPa | |||
| 18 | 耐酸陶瓷管 | 陶瓷 | 使用压力小于等于 0.6MPa | |||
| 19 | 聚丙烯管 | 聚丙烯 | 一般用于化工防腐蚀管道上 | |||
| 20 | 氟塑料管 | 聚四氟乙烯 | 耐腐蚀、且耐负压 | |||
| 21 | 输水,吸水胶管 | 橡胶 | 1)夹套输水胶管,输送常温水和一般中性液体,公称压力小于等于 0.7MPa | HG/T 2184—2008 | ||
2)纤维缠绕输水胶管,输送常温水,工作压力小于等于 1.0MPa | ||||||
| 3)吸水胶管,适用于常温水和一般中性液体 | ||||||
| 22 | 夹布输气管 | 胶管 | 一般适用输送压缩空气和惰性气体 | |||
| 23 | 输油、吸油胶管 | 耐油橡胶 | 1)夹布吸油胶管,适用于输送 40℃ 以下的汽油、煤油、柴油、机油、润滑油及其他矿物油类,工作压力小于等于 1.0MPa | |||
| 2)吸油胶管,适用于抽吸 40℃ 以下的汽油、煤油、柴油以及其他矿物油类 | ||||||
| 24 | 输酸、吸酸胶管 | 耐酸胶 | 1)夹布输稀酸(碱)胶管,适用于输送含量在 40% 以下的烯酸(碱)溶液(硝酸除外) | |||
| 2)吸稀酸(碱)胶管,适用于抽吸含量在 40% 以下的烯酸(碱)溶液(硝酸除外) | ||||||
| 3)稀浓硫酸管,适用于抽吸含量在 95% 以下的浓硫酸及 40% 以下的硝酸 | ||||||
| 25 | 蒸汽胶管 | 合成胶 | 1)夹布蒸汽胶管,适用于输送压力小于等于 0.4MPa 的饱和蒸汽或温度小于等于 150℃ 的热水 | HG/T 3036—1999 | ||
2)钢丝编织蒸汽胶管、供输送压力小于等于 1.0MPa 的饱和蒸汽 | ||||||
| 26 | 耐磨吸引胶管 | 合成胶 | 适用于输送含固体颗粒的液体和气体 | |||
| 27 | 合成树脂复合排吸压力软管 | 合成树脂 | 适用于输送或吸抽燃料油、变压器油、润滑油以及化学药品、有机溶剂 | |||
答:螺纹连接件的装配和拆卸一样,不仅要使用合适的工具、设备,还要按技术文件的规定施加适当的拧紧力矩。表 2-26 列出的是拧紧碳素钢螺纹件的参考力矩。
用扳手拧紧螺栓时,应使其直径的大小来确定是否用套管加长扳手,尤其是螺栓直径在 20mm 以内时要注意用力的大小,以免损坏螺纹。
重要的螺纹联接件都有规定的拧紧力矩,安装时必须用力矩扳手按规定拧紧螺栓。对组成螺纹联接的装配,施力要均匀,按一定次序轮流拧紧,如图 2-1 所示。如有定位装置(销)时,应先从定位装置附近开始。

图 2-1 螺纹组拧紧顺序
0—定位销
| 螺纹尺寸/mm | M8 | M10 | M12 | M14 | M16 | M18 | M20 | M22 | M24 |
| 标准拧紧力矩/N·m | 10 | 30 | 35 | 53 | 85 | 120 | 190 | 230 | 270 |
答:如果螺纹联接一旦出现松脱,轻者会影响机器的正常运转,重者会造成严重的事故。因此,装配后应采取有效措施,防止联接松脱,保证联接安全可靠。
防松的方法,按照其工作原理可分为摩擦防松、机械防松、铆冲防松等。粘合防松法近年来得到了发展,他是在旋合的螺纹间涂以液体密封胶,待硬化后使螺纹副精密粘合,这种防松方法,效果良好且具有密封作用。此外,还有一些特殊的防松方法适用于某些专业产品的特殊需求,目前常用的防松方法见表 2-27。
| 防松方法 | 结构方式 | 特点和应用 | |
| 摩擦防松 | 对顶螺母 | ![]() | 两螺母对顶拧紧后,使旋合螺纹间始终受到附加的压力和摩擦力的作用。工作载荷有变动时,该摩擦力仍然存在,旋合螺纹间的接触情况如图所示,下螺母螺纹牙受力较小,其高度可小些,但为了防止装错,两螺母的高度取成相等为宜。 结构简单、适用于平稳、低速和重载的联接 |
| 弹簧垫圈 | ![]() | 螺母拧紧后,靠垫圈压平时而产生的弹性反力使旋合螺纹间压缩。同时,垫圈斜口的尖端抵注螺母与被联接件的之承面也有防松作用 结构简单,防松方便。但由于垫圈的弹力不均,在冲击、振动的工作条件下,其防松效果较差。一般用于不甚重要的联接 | |
| 自锁螺母 | ![]() | 螺母一端制成非圆形收口,当螺母拧紧后,收口涨开,利用收口的弹力使旋合螺纹间压缩 结构简单,防松可靠,可多次装拆而不降低放防松性能。适用于较重要的联接 | |
| 机械防松 | 开口销与槽形螺母 | ![]() | 槽型螺母拧紧后将开口销穿入螺栓尾部小孔和螺母的槽内。并将开口销尾部掰开与螺母侧面贴紧。也可用普通螺母代替槽型螺母,但需拧紧螺母后再配钻孔 适用于较大冲击、振动的高速机械的联接 |
| 止动垫圈 | ![]() | 螺母拧紧后,将单耳或双耳止动垫圈分别向螺母和连接件的侧面折弯贴紧,即可将螺母锁住。若两个螺栓需要双联锁紧时,可采用双联制动垫圈,是两个螺母相互制动。 结构简单,使用方便,防松可靠 | |
| 串联钢丝 | ![]() | 用低碳钢丝穿入各螺钉头部的孔内,将各螺钉串联起来,使其相互制动,使用时必须注意钢丝的穿入方向(上图正确,下图错误) 适用于螺钉组联接,防松可靠,但装拆不便 | |
| 铆冲防松 | 端铆 | ![]() | 螺母拧紧后,把螺栓末端伸出部分铆死。防松可靠,但拆卸后联接件不能重复使用。适用于不需拆卸的特殊联接 |
| 冲点 | ![]() | 螺母拧紧后,利用冲头在螺栓末端与螺母的旋合缝处打冲,利用冲点防松 防松可靠,但拆卸后联接件不能重复使用。适用于不需拆卸的特殊联接 | |
答:螺纹联接装配时应注意如下几点:
1)正确选择装配工具,做到所选用工具使用方便并避免损坏螺母和螺杆。尽可能选择套筒扳手、梅花扳手、死角或六角扳手,最好不用活动扳手。
2)装配前应检查被装配螺栓和螺母。被装配螺纹件应符合图样要求,螺杆螺母无损伤。螺纹部分配合质量良好,在自由状态下用手转动灵活,螺杆部分无弯曲变形。
3)装配方法方便可行。如双头螺柱用双螺母或双头螺柱安装工具装入。
4)装配中不宜随便用加力杆。按规定预紧力预紧时,可用定力矩扳手或测力矩扳手控制。表 2-28 给出的基本直径 8mm 至 48mm 的螺纹拧紧力矩。
5)成组螺栓连接装配要是螺杆受力均匀,在拧紧时应采取对称交错拧紧的方法,如图 2-2 所示。

图 2-2 螺栓组的拧紧顺序
| 基本直径 | 拧紧力矩/N·m | 基本直径 | 拧紧力矩/N·m | ||||||||||
| 强度极品 | 强度极品 | ||||||||||||
| 4.6 | 5.6 | 6.6 | 6.9 | 8.8 | 10.9 | 4.6 | 5.6 | 6.6 | 6.9 | 8.8 | 10.9 | ||
| M8 | 9.56 | 12.1 | 14.4 | 21.6 | 25.7 | 36.1 | M24 | 278 | 348 | 419 | 626 | 743 | 1044 |
| M10 | 19.0 | 23.9 | 28.4 | 42.9 | 50.7 | 71.5 | M27 | 334 | 452 | 541 | 814 | 964 | 1355 |
| M12 | 33.2 | 41.6 | 49.6 | 74.8 | 88.4 | 124.7 | M30 | 553 | 693 | 829 | 1246 | 1475 | 2087 |
| M14 | 52.9 | 66.1 | 79.6 | 119.4 | 140.5 | 198.1 | M36 | 967 | 1206 | 1446 | 2173 | 2575 | 3626 |
| M16 | 82.5 | 103.5 | 123.4 | 185 | 220 | 310 | M39 | 1284 | 1567 | 1872 | 2813 | 3333 | 4686 |
| M18 | 113 | 142 | 170 | 225 | 302 | 427 | M42 | 1547 | 1934 | 2313 | 3482 | 4116 | 5828 |
| M20 | 160 | 201 | 242 | 362 | 431 | 604 | M48 | 2314 | 2879 | 3480 | 5221 | 6153 | 8702 |
| M22 | 219 | 275 | 328 | 492 | 578 | 824 | |||||||
注:表中预紧力按螺栓预紧力 δ0≈0.7δa 确定的。
联接件螺栓拧紧按 1—2—...—7—8—9—10 的顺序。拧完后在从头拧起,分两至三次拧紧为止。
6)螺纹链接要采取防松措施,保证螺纹不松脱。螺纹防松就是防止螺纹副产生相对转动。常用方法有如图 2-3 所示几种。

图 2-3 螺纹联接防松的几种方法
a)双螺母;b)弹簧垫片;c)六角槽型螺母配开口销;d)串接钢丝
①对顶螺母。将螺母按正常情况拧紧后,再在上面加一螺母对顶拧紧。上面的螺母可以选择薄型螺母。为了防止装错,两螺母也可取同样的厚度。
②弹簧垫圈。该法应用极广,多用于不重要的联接。使用中应检查弹簧垫圈是否具有足够的弹力。一般要求在自由状态下开口的相对位移量不小于垫圈厚度的一半。拧紧后垫圈应该被完全压平。
③六角槽型螺母配开口销。该防松形式防松可靠,用于变载、振动大和重要联接的场合。
④钢丝绳联接。用低碳钢丝穿入螺栓头部专用孔后使其相互制约,防止可靠。但要注意钢丝绳缠绕方向必须正确。
⑤铆冲防松。用冲子冲坏螺纹副,这种方法防松可靠,但拆卸后零件不能再用,用于调整锁紧后不再轻易拆卸的联接。
⑥再旋合面上涂上厌氧性粘合剂。拧紧螺母后粘合剂硬化经粘结螺纹和螺母起到防松作用。常用粘合剂为 Y—150 厌氧胶。这种方法不宜用于高温场合。
答:螺纹联接的拆卸有如下几种情况:
1)双头螺柱拆卸。双头螺柱拆卸可以用双螺母或专业工具拆卸。双螺母法是拧入两个螺母在螺栓的一端,相互拧紧,然后用扳手扳靠近被联接件的螺母,按一般拆卸方法即可拆下。
2)断头螺钉的取出。拧断了安装在机座上的螺钉可以按下述方法取出残存在螺纹孔中的部分。
如果断头螺钉有外露断头,可以在外露部分上用锉刀锉成方头,然后用扳手拧出。也可在外露部分焊一螺母,然后拧出。
如果无外露断头时,采用下述方法:①在螺钉残端打中心孔。注意对中要准确,若存在偏心,将会给取出作业增加困难。②钻孔时钻头要选择适当。避免有偏心时切入螺纹部分。③用左旋螺纹制成的取出器插入孔中,用软锤轻轻敲击取出器端部,逆时针方向转动取出器即可取出螺钉。如果没有取出器,可用反向丝锥攻反向螺纹,拧入反向螺柱,在连同断头螺钉一同拆出。
3)锈死螺钉的拆除。浸入煤油或柴油,静置 20~30min。适当敲击螺钉和被联接件,振动锈层。然后先将螺钉向拧紧方向拧入 1/4 圈左右,在松动 1/2 圈,反复几次即可拧出。
答:有些重要的贵重的零件上的螺纹出现损坏更换零件很不经济时,应修复螺纹。
(1)修理时的注意事项
首先要辨别螺纹的种类,被修螺纹是英制螺纹还是米制螺纹。使用英制纹国家主要有英国、美国和加拿大。其余各国多用米制螺纹,但是管螺纹都是采用英制螺纹。
要分清螺距和牙形角,米制螺纹螺距用毫米表示,英制螺纹螺距用英寸时轴长度有多少扣牙表示。米制紧固螺纹压形角 60°,管螺纹牙形角 55°,英制紧固螺纹牙形角为 60°。
测量螺纹采用游标卡尺测量螺纹外径或螺纹内经,用螺纹规测量螺距和牙形角,定出螺纹的公称尺寸和螺距大小。
(2)外螺纹的修复
1)选择规格相同的扳牙,切除螺纹损坏处多余金属。
2)在螺纹有局部损伤的情况下,可选择与所修螺纹相匹配的螺纹锉刀、手工修复螺纹。注意一套螺纹锉刀有米制、英制两种规格,一把螺纹锉刀上有 8 种不同螺纹尺寸。
3)当螺纹一端经锤击而膨胀,可用三角锉刀修复,再用板牙套一次。
(3)内螺纹的修复
1)当螺纹部分损坏切磨损不严重时,可用丝锥拧过螺纹孔。
2)螺纹损坏严重时,在螺纹孔处重新钻孔、攻螺纹、使螺纹直径比原螺纹大,重新配置螺栓。
3)螺纹损坏严重时,可以钻去原螺纹加螺纹镶套(图 2-4)。

图 2-4 用螺纹镶套修复内螺纹
答:压力管道无泄漏检验标准见表 2-29。
| 序号 | 管道名称 | 检查方法 | 合格标准 |
| 1 | 所有管道,法兰,阀门,丝堵,活接,补偿器 | 用眼睛观察 | 不结焦、不冒烟、无渗透、无漏痕、无结垢 |
| 2 | 瓦斯、氨、氯、液态烃等易燃易爆或有毒气体 | 肥皂水试漏;精密试纸试漏 | 无气泡、不变色 |
| 3 | 氧气、氮气、空气系统 | 用 10mm 宽 100mm 长薄纸条试漏 | 无吹动现象 |
| 4 | 蒸汽系统 | 用肉眼观察 | 不漏汽,无水垢 |
| 5 | 氢气系统 | 高温部位关灯检查 | 无火苗;无吹动现象 |
| 低温部位用 10mm 宽 100mm 长薄纸条试漏 | |||
| 6 | 酸、碱等物料系统 | 用肉眼观察或用精密试纸试漏 | 无渗迹、无漏痕、不结垢、不冒烟、不变色 |
| 7 | 水玻璃、胶体系统 | 用肉眼观察 | 无渗迹、无漏痕 |
答:氧气站常用管子种类、材质见表 2-30。
| 序号 | 管子材质 | 管子种类 | 材料牌号 | 备注 |
| 1 | 碳素钢管 | 低压流体输送用焊接钢管[GB/T 3091-2001(2008)] | Q235A、Q235B | 焊接钢管 |
| 输送流体用无缝管[GB/T 8163-1999(2008)] | 10、20、Q295、Q345 | 无缝钢管 | ||
| 2 | 不锈钢管 | 流体输送不锈钢焊接钢管[GB/T 12771-2008] | 1Cr18Ni9,0Cr18Ni9,00Cr19Ni10,0Cr18Ni9,0Cr23Ni13 | |
| 流体输送不锈钢无缝钢管[GB/T 14976-2002] | 不锈钢管 | |||
| 3 | 铜管 | 铜管(GB/T 1527-2006) | T2、T3、TU1、TU2、TP1、TP2 | 纯铜管 |
| 黄铜管(GB/T 1527-2006) | H62 | |||
| 4 | 铝管 | 铝合金管 | 1035、1050A、1060、1060A |
答:氧气管道常用法兰及选用标准见表 2-31。
| 工作压力 p/MPa | 法兰形式 | 标准号 |
| 0.6≤p≤2.5 | 翻边松套法兰 | GB/T 9122—2000 |
| p≤2.5 | 钢制平焊法兰 | GB/T 9119—2000 |
| 平煤环松套法兰 | GB/T 9121.1—2000 | |
| 2.5<p≤4.0 | 钢制对焊法兰 | GB/T 9115.1—2000 |
| 6.4<p≤15.0 | 钢制对焊法兰 | GB/T 9115.2—2000 |
| 高压螺纹法兰 |
答:氧气管道法兰用垫片应无油脂,并应考虑垫片可能因受压碎裂掉入管内,造成氧气管道燃烧的条件,因此不能选用易燃材料制成的垫片。一般情况可按表 2-32 选用。
| 管道输送介质 | 工作压力 p/MPa | 工作温度 t/℃ | 垫片材料 | 备注 |
| 气态氧 | p≤0.25 | t≤200 | 石棉橡胶板 | |
| 0.25<p≤0.6 | t>﹣180 | 衬垫石棉板;金属石棉缠绕垫 | ||
| 0.6<p≤2.5 | t<150 | 金属包石棉绳垫(石棉绳加铅粉) | 法兰密封面采用榫槽时,可用 XB350 橡胶石棉板或 2 号硬钢纸 | |
| 2.5<p≤6.4 | t<150 | 铝片(退火)、铜片(退火) | 法兰密封面采用透视镜时,应采用刚或黄铜制的透镜垫片 | |
| 6.4<p≤16.5 | t<150 | 铜片 | ||
| 液态氧 | p≤0.5 | t<﹣180 | 石棉橡胶板、衬垫石棉板 |
答:(1)管道涂色与标志的规定
在工业企业中,厂房内及厂区经常需要安装大量的输送各类气体和液体的管道,为了便于识别管内流体的种类和状态以及有利于管道进行管理、维修、安全等方面考虑。通常采取以下三种方法进行管道的涂色与标志。
1)一般在不同流体的管道表面或管道绝热层外表面,涂覆不同颜色的涂料,有时也可涂刷指向箭头,标出介质的流向作为标识。
2)如果输送流体的温度或成分不同,需加以区别时,可以在已涂色的管道表面上,选择一种温度或成分涂刷色作为标识。
3)如果以上两种方法仍然不能确定管内流体的性质或参数时,可采取在管道外表面涂刷流体的名称或化学符号,也可标出流体的温度和压力作为标识。
由于管道的工程的内容不一,管道内流体流动的介质种类较多,所以管道的涂色和标识应根据具体工程情况进行使用,以易于操作、方便管理及维修为原则。因此,各系统的规定不统一,工程中设计有规定时应按设计规定涂色,设计无规定时,可按表 2-33 所列使用。
(2)色环及识别符号的涂装要求
1)色环的间距应分布均匀,便于观察,一般在直管段上其间距以 5m 左右为宜。色环的宽度可按管径大小来确定,外径(包括绝热层)在 150mm 以内,色环宽度为 70mm;外径在 300mm 以上者,色环宽度为 100mm。
2)色环、流体名称或化学符号和箭头应涂刷在管道交叉点,阀门和穿孔两侧的管道上,以及需要观察识别的部位。
3)输送的流体如果是双向流动的,应标出两个相反方向的箭头。箭头一般涂成白色或黄色,底色浅者则涂成深色箭头。
4)当识别符号直接涂刷在外径小于 90mm 的管道上且不易识别时,可在所有需要识别的部位挂一标牌,标牌一般做成 250mm×150mm 的矩形。标牌上应标明流体名称,标出介质流向。
| 序号 | 管道名称 | 颜色 | 备注 | |||
| 底色 | 色环 | |||||
| 1 | 过热蒸汽管 | 红 | 黄 | |||
| 2 | 饱和蒸汽管 | 红 | — | |||
| 3 | 废气管 | 红 | 绿 | |||
| 4 | 凝结水管 | 绿 | 红 | 自流 | ||
| 5 | 热水供水管 | 绿 | 黄 | |||
| 6 | 热水回水管 | 绿 | 褐 | |||
| 7 | 制冷系统管道 | 氨管道 | 吸入管 | 蓝 | — | |
| 液体管 | 黄 | — | ||||
| 压出管 | 红 | — | ||||
| 油管 | 淡黄 | — | ||||
| 空气管 | 白 | — | ||||
| 安全管 | 棕色 | — | ||||
| 盐水管道 | 压出管 | 绿 | — | |||
| 回流管 | 褐 | — | ||||
| 水管道 | 压出管 | 浅蓝 | — | |||
| 回流管 | 紫 | — | ||||
| 8 | 疏水管 | 绿 | 黑 | |||
| 9 | 工业用水管 | 黑 | — | |||
| 10 | 工业和消防合用水管 | 黑 | 橙黄 | |||
| 11 | 生活饮用水管 | 蓝 | — | |||
| 12 | 消防水管 | 橙黄 | — | |||
| 13 | 中水管 | 浅绿 | — | |||
| 14 | 雨水管 | 黑 | 绿 | |||
| 15 | 排水管 | 绿 | 蓝 | |||
| 16 | 油管 | 橙黄 | — | |||
| 17 | 高热值煤气管 | 黄 | — | |||
| 18 | 低热值煤气管 | 黄 | 褐 | |||
| 19 | 液化石油气管 | 黄 | 绿 | |||
| 20 | 压缩空气管 | 浅蓝 | — | |||
| 21 | 净化压缩空气管 | 浅蓝 | 黄 | |||
| 22 | 乙炔管 | 白 | — | |||
| 23 | 氧气管 | 蓝 | — | |||
| 24 | 氢气管 | 白 | 红 | |||
| 25 | 氮气管 | 棕 | — | |||
| 26 | 油管 | 橙黄 | — | |||
| 27 | 排气管 | 红 | 黑 | |||
| 28 | 软化(被给)水管 | 绿 | 白 | |||
| 29 | 盐水管 | 浅黄 | — | |||
答:机械行业动力管道油漆色标应按照 2-34 规定涂色,管道的色环宽度及间距应安表 2-35 规定涂刷,管道示意图上的管道颜色与此一致。
| 管道名称 | 颜色 | 管道名称 | 颜色 | 管道名称 | 颜色 | |||||
| 基本色 | 色环 | 基本色 | 色环 | 基本色 | 色环 | |||||
| 过热蒸汽管 | 红 | 黄 | 雨水管 | 绿 | — | 制冷系统装置 | 氨管道 | 吸入器 | 蓝 | — |
| 饱和蒸汽管 | 红 | 油管 | 黄 | — | 液体管 | 黄 | — | |||
| 压缩蒸汽管 | 浅蓝 | — | 乙炔管 | 白 | — | 压出管 | 红 | — | ||
| 凝结水管 | 绿 | 红 | 氧气管 | 深蓝 | — | 油管 | 淡黄 | — | ||
| 热水供水管 | 绿 | 黄 | 天然气管 | 黄 | 黑 | 空气管 | 白 | — | ||
| 热水回水管 | 绿 | 褐 | 高热值煤气管 | 黄 | — | 盐水管道 | 压出管 | 绿 | — | |
| 工业用水管 | 黑 | — | 低热值煤气管 | 黄 | 褐 | 回流管 | 褐 | — | ||
| 工业用水管(和消防用水合用管道) | 黑 | 橙黄 | 氢气管 | 白 | 红 | 水管道 | 压出管 | 浅蓝 | — | |
| 生活饮用水管 | 蓝 | — | 液化石油气管 | 绿 | 绿 | 压出管回流管 | 紫 | — | ||
| 消防用水管 | 橙黄 | — | — | |||||||
注:1.在管道交叉处、阀门操作管道弯头处等,应在管道上标示介质流动方向箭头。
2.设备涂色一般可采用:暖气片、暖风机登用银白色;压缩空气储气罐用灰色;离子交换器用绿色或者灰色;加热器、热交换器等用红色;水箱用绿色。
3.考虑到企业现况,对室外的蒸汽管道(已采取保温措施)和煤气管道,管道交叉处,管道弯头处及阀门两处的管道,均能明显涂刷管长度 2m 的面色;在直管道上,每隔 50m 要明显涂刷长度 2m 的面色。
| 管道保温层外径 | 色环宽度 | 色环间距 |
| <150 | 50 | 5~10 |
| 150~300 | 70 | 10~20 |
| >300 | 100 | 20~40 |
石油、化工等行业由于工艺生产特殊性、故专门制定行业工业管道的涂色规定和要求,请参照有关规定执行。
答:阀是控制流体(气体或液体)通过管道以减低他们的压力或改变流路方向的任何一种装置,例如截止阀、减压阀、安全阀等。
阀门分类方法:机电产品总和分类如下:


注:后有“等”者项目多未列出。
机电产品按结构分类如下:

机电产品按特征分类如下:

还有按材料分类、按压力分类、按工作温度分类等其他分类方法。
机电产品按用途分类如下:

答:工业企业常用的阀门(各工业企业中各管道上普遍采用的阀门情况)如下:
启闭用的阀门:闸阀、球阀、蝶阀、截止阀、旋转阀,用来启闭管路用的阀门,称此类阀门为闭路阀门。
调节用的阀门:减压阀、节流阀,用于调节管内的介质压力和流量。
止回用的阀门:止回阀,用于防止介质倒流的阀门。
分配用的阀门:三通旋阀门,用于改变管路的介质流动方向和分配介质用。
疏水隔气用的阀门:疏水阀,用于排除凝结水、防止蒸汽跑漏。
安全用阀门:安全阀(溢流阀),用于超压安全保护,排放多余介质,防止压力超过规定值。
答:阀门型号通常应表示出阀门类型、驱动方式、连接形式、结构特点、密封面材料、阀体材料和公称压力等要素。阀门型号的标准化对阀门的设计、选用、经销和施工管理提供了方便。
科学技术的日新月异,表现在阀门技术领域,使得阀门的类型和材料越来越多,阀门的型号编制也越来越复杂。我国虽有阀门型号编制的统一标准,但越来越不能适应阀门工艺发展的需要。目前,阀门制造厂一般都采用统一的编号方法:凡不能采用统一编号方法的,各阀门生产厂家均按自己的需要制定出编号方法。
答:阀门型号由七个单元组成,各个单元的表示方法及含义见表 2-36。
![]() | 第一单元 | 第二单元 | 第三单元 | 第四单元 | 第五单元 | 第六单元 | 第七单元 |
| 表示方法 | 大写汉语拼音字母 | 阿拉伯数字 | 阿拉伯数字 | 阿拉伯数字 | 大写汉语拼音字母 | 阿拉伯数字 | 大写汉语拼音字母 |
| 表示意义 | 阀门类型 | 驱动方式 | 连接方式 | 结构形式 | 密封圈或衬里材料 | 公称压力 | 阀体材料 |
答:阀门类型代号用大写汉语拼音字母表示,见表2-37。
| 阀门类型 | 代号 | 阀门类型 | 代号 | 阀门类型 | 代号 | 阀门类型 | 代号 |
| 闸阀 | Z | 球阀 | Q | 节流阀 | L | 疏水阀 | S |
| 截止阀 | J | 止回阀 | H | 排污阀 | P | ||
| 蝶阀 | D | 隔膜阀 | G | 安全阀 | A | ||
| 旋转阀 | X | 柱塞阀 | U | 减压阀 | Y |
注:低温(低于 ﹣40℃)、保温(带加热套)和带波纹管的阀门,抗硫的的阀门,在类别代号前分别加汉语评语字母 D、B、W 和 K。
答:阀门的驱动代号见表 2-38 所示。
| 电动方式 | 代号 | 电动方式 | 代号 | 电动方式 | 代号 | 电动方式 | 代号 |
| 电磁动 | 0 | 涡轮 | 3 | 气动 | 6 | 电动 | 9 |
| 电磁—液动 | 1 | 正齿轮 | 4 | 液动 | 7 | ||
| 电—液动 | 2 | 伞齿轮 | 5 | 气—液动 | 8 |
注:1.手轮、手柄和扳手传动的,以及安全阀、减压阀、蒸汽输水管等,本单元代号可省略。
2.对于气动或液动,常开式用 6k,7k表示,常闭式用 6B,7B;气动带手动,用 6S 表示;防爆电动用 9B表示;螺杆 -T 型螺母,用 3T 表示。
3.代号 2 及代号 8 是用在阀门启闭时需要由两种动力源同时对阀门进行动作的执行机构。
答:阀门的联接形式代号见表 2-39。
| 连接形式 | 代号 | 连接形式 | 代号 | 连接形式 | 代号 |
| 内螺纹 | 1 | 法兰 | 4 | 卡箍 | 8 |
| 外螺纹 | 2 | 焊接 | 6 | 卡套 | 9 |
| 两不同连接 | 3 | 对夹 | 7 |
注:焊接包括承插焊和对接焊。
答:阀门的结构代号用阿拉伯数字表示。闸阀的结构形式代号见表 2-40;截止阀、节流阀和柱塞阀的结构形式代号见表 2-41;蝶阀的结构形式代号见表 2-42;旋塞阀的结构形式代号见表 2-43;球阀的结构形式代号见表 2-44;止回阀的结构形式代号见表 2-45;隔膜阀的结构形式代号见表 2-46;安全阀的结构形式代号见表 2-47;减压阀的结构形式代号见表 2-48;疏水阀的结构形式代号见表 2-49;排污阀的结构形式代号见表 2-50。
| 闸阀结构 | 代号 | |||
| 明杆 | 契约 | 弹性闸板 | 0 | |
| 刚性 | 单闸板 | 1 | ||
| 双闸板 | 2 | |||
| 平行式 | 单闸板 | 3 | ||
| 双闸板 | 4 | |||
| 暗杆 | 契约 | 单闸板 | 5 | |
| 双闸板 | 6 | |||
| 平行式 | 单闸板 | 7 | ||
| 双闸板 | 8 | |||
| 截止阀、节流阀和柱塞阀的结构形式代号 | 代号 | 截止阀、节流阀和柱塞阀的结构形式代号 | 代号 | |
| 直通式 | 1 | 直流式(Y 形) | 5 | |
| Z 形直通式 | 2 | 平衡 | 直通式 | 6 |
| 三角式 | 3 | 角式 | 7 | |
| 角式 | 4 | 针形截止阀 | 8 | |
| 蝶阀结构形式 | 代号 | 蝶阀结构形式 | 代号 | ||
| 密封性 | 中线式 | 1 | 非密封封 | 中线式 | 5 |
| 单偏心 | 2 | 单偏心 | 6 | ||
| 双偏心 | 3 | 双偏心 | 7 | ||
| 连杆偏心 | 4 | 连杆偏心 | 8 | ||
| 旋塞阀结构形式 | 代号 | 旋塞阀结构形式 | 代号 | ||
| 填料密封 | L 形 | 2 | 油封密封 | L 形 | 6 |
| 直通形 | 3 | 直通形 | 7 | ||
| T 形三通 | 4 | T 形三通 | 8 | ||
| 四通 | 5 | 静配 | 直通形 | 9 | |
| T 形三通 | 0 | ||||
| 球阀结构形式 | 代号 | 球阀结构形式 | 代号 | ||||
| 浮动球 | 直通式 | 1 | 固定球 | 直通式 | 7 | ||
| Y 形 | 三通式 | 2 | 四通 | 6 | |||
| L 形 | 3 | T 形 | 三通 | 8 | |||
| T 形 | 4 | L 形 | 9 | ||||
| 半球直通 | 0 | ||||||
| 球阀结构形式 | 代号 | 球阀结构形式 | 代号 | ||||
| 浮动球 | 直通式 | 1 | 固定球 | 直通式 | 7 | ||
| Y 形 | 三通式 | 2 | 四通 | 6 | |||
| L 形 | 3 | T 形 | 三通 | 8 | |||
| T 形 | 4 | L 形 | 9 | ||||
| 半球直通 | 0 | ||||||
| 球阀结构形式 | 代号 | 球阀结构形式 | 代号 | ||||
| 浮动球 | 直通式 | 1 | 固定球 | 直通式 | 7 | ||
| Y 形 | 三通式 | 2 | 四通 | 6 | |||
| L 形 | 3 | T 形 | 三通 | 8 | |||
| T 形 | 4 | L 形 | 9 | ||||
| 半球直通 | 0 | ||||||
| 球阀结构形式 | 代号 | 球阀结构形式 | 代号 | ||||
| 浮动球 | 直通式 | 1 | 固定球 | 直通式 | 7 | ||
| Y 形 | 三通式 | 2 | 四通 | 6 | |||
| L 形 | 3 | T 形 | 三通 | 8 | |||
| T 形 | 4 | L 形 | 9 | ||||
| 半球直通 | 0 | ||||||
| 球阀结构形式 | 代号 | 球阀结构形式 | 代号 | ||||
| 浮动球 | 直通式 | 1 | 固定球 | 直通式 | 7 | ||
| Y 形 | 三通式 | 2 | 四通 | 6 | |||
| L 形 | 3 | T 形 | 三通 | 8 | |||
| T 形 | 4 | L 形 | 9 | ||||
| 半球直通 | 0 | ||||||
| 止回阀的结构形式 | 代号 | 止回阀的结构形式 | 代号 | 止回阀的结构形式 | 代号 | ||
| 升降式 | 直通式 | 1 | 旋启式 | 单瓣式 | 4 | 回转蝶形止回式 | 7 |
| 立式 | 2 | 多瓣式 | 5 | 截止止回式 | 8 | ||
| 角式 | 3 | 双瓣式 | 6 | ||||
| 隔膜阀的结构形式 | 代号 | 隔膜阀的结构形式 | 代号 | 隔膜阀的结构形式 | 代号 |
| 屋脊式 | 1 | 直通式 | 6 | 角式 T 形 | 9 |
| 截止式 | 3 | 闸板式 | 7 | ||
| 直流板式 | 5 | 角式 Y 形 | 8 |
| 安全阀的结构形式 | 代号 | |||
| 弹簧 | 封闭 | 带散热片 | 全启式 | 0 |
| 微启式 | 1 | |||
| 全启式 | 2 | |||
| 带扳手 | 全启式 | 4 | ||
| 不封闭 | 双弹簧微启式 | 3 | ||
| 微启式 | 7 | |||
| 全启式 | 8 | |||
| 带控制机构 | 全启式 | 6 | ||
| 脉冲式 | 9 | |||
| 杠杆式 | 5 | |||
| 减压阀的结构形式 | 代号 | 减压阀的结构形式 | 代号 | 减压阀的结构形式 | 代号 |
| 直接作用波纹管式 | 1 | 先导活塞式 | 3 | 先导薄膜式 | 5 |
| 直接作用薄膜式 | 2 | 先导波纹管式 | 4 |
| 疏水阀的结构形式 | 代号 | 疏水阀的结构形式 | 代号 | 疏水阀的结构形式 | 代号 |
| 浮球式 | 1 | 液体或固体膨胀式 | 4 | 双金属片或弹性式 | 7 |
| 迷宫或孔扳式 | 2 | 钟形浮子式 | 5 | 脉冲式 | 8 |
| 浮桶式 | 3 | 蒸汽压力式 | 6 | 圆盘式 | 9 |
| 排污阀的结构形式 | 代号 | 排污阀的结构形式 | 代号 | ||
| 液面连接 | 截止型直通式 | 1 | 液底间断 | 截止型直通式 | 6 |
| 截止型角式 | 2 | 截止型角式 | 7 | ||
| 液底间断 | 截止型直流式 | 5 | 浮动闸板型直通式 | 8 | |
答:阀座密封面或衬里材料代号用大写汉语拼音字母表示,见表 2-51。
| 阀座密封面或衬里材料代号 | 代号 | 阀座密封面或衬里材料代号 | 代号 |
| 锡基轴承合金(巴氏合金) | B | 尼龙塑料 | N |
| 搪瓷 | C | 渗硼钢 | P |
| 渗氮钢 | D | 衬铅 | Q |
| 1.8-8 系不锈钢 | E | Mo2Ti 系不锈钢 | R |
| 氟塑料 | F | 塑料 | S |
| 玻璃 | G | 铜合金 | T |
| Cr13 系不锈钢 | H | 橡胶 | X |
| 衬胶 | J | 硬质合金 | Y |
| 蒙乃尔合金 | M |
注:1.由阀体直接加工的阀座密封面材料代号用 W 表示。
2.当密封副的密封面材料不同时,以硬度低的材料代号表示。
答:阀体材料代号用大写汉语拼音字母表示,见表 2-52。如果是公称压力 PN≥2.5MPa 的钢碳阀门,则本单元省略了。
| 阀体材料 | 代号 | 阀体材料 | 代号 |
| 钛及钛合金 | A | 球墨铸铁 | Q |
| 碳钢 | C | Mo2Ti 系不锈钢 | R |
| Cr13 系不锈钢 | H | 塑料 | S |
| 铬钼钢 | I | 铜和铜合金 | T |
| 可锻造铁 | K | 铬铝钒钢 | V |
| 铝合金 | L | 灰铸铁 | Z |
| 1.8-8 系不锈钢 | P |
答:(1)阀门命名
阀门的名称按传动方式、连接形式、结构形式、衬里材料和类型命名,但下述内容在命名中均予省略:
1)连接形式中的“法兰”。
2)结构形式中:①闸阀的“明杆”、“弹性”、“刚性”和“单闸板”;②截止阀和节流阀的“直通式”;③球阀的“浮动”和“直通式”;④蝶阀的“垂直板式”;⑤隔膜阀的“屋脊式”;⑥旋塞阀的“填料”和“直通式”;⑦止回阀的“直通式”和“单瓣式”;⑧安全阀的“不封闭”。
3)阀座密封面材料中的材料名称。
(2)阀门型号和名称编制方法示例
例 2-1 阀门类型为闸阀,采用电驱动、法兰连接、明杆楔式双闸板,阀座密封面材料由阀体直接加,阀门的公称压力为 PN=0.1MPa,阀体材料为灰铸铁,表示为:
Z942W—1 命名为:电动楔式双闸板闸阀。
例 2-2 阀门类型为球阀、手动、外螺纹联接、浮动直通式、阀座密封面材料为氟塑料,阀门的公称压力为 PN=4.0MPa。阀体材料为 1Cr18Ni9Ti,表示为:
Q21F—40P 命名为:外螺纹球阀。
例 2-3 阀门类型为隔膜阀,气动常开式、法兰连接、屋脊式,衬里材料为衬胶、阀门的公称压力与 PN=0.6MPa,阀体材料为灰铸铁,表示为:
G6K41J-6 命名为:气动常开式衬胶隔膜阀。
例 2-4 阀门类型为蝶阀、液动、法兰连接、垂直板式、(密封面材料为铸铜)阀瓣密封面材料为橡胶,公称压力为 PN=0.25MPa,阀体材料为灰铸铁,表示为:
D741X-2.5 命名为:液动蝶阀。
例 2-5 阀门类型为截止阀、电动、焊接连接、直通式、阀座密封面材料为堆焊硬质合金,在 540℃ 下的工作压力为 17MPa,阀体材料与铬钼矾合金钢,表示为:
J961Y-P34170V 命名为:电动合金截止阀。
例 2-6 阀门类型为止回阀、法兰连接、旋启双瓣式、阀座密封面材料为铜合金、公称压力为 PN=1.0MPa,阀体材料为灰铸铁,表示为:
H46T-10 命名为:双瓣旋启式止回阀。
(3)阀门标志
通向阀门必须使用和可选择的标志项目见表 2-53。对于手动阀门,如果首轮尺寸足够大,则手轮上应设有指示阀门关闭方向的箭头或附加“关”字。
| 项目 | 标志 | 项目 | 标志 |
| 1 | 公称直径(DN) | 11 | 标准号 |
| 2 | 公称压力(PN) | 12 | 熔炼炉号 |
| 3 | 受压部件材料代号 | 13 | 内件材料代号 |
| 4 | 制造厂名或商标 | 14 | 工位号 |
| 5 | 介质流向的箭头 | 15 | 衬里材料代号 |
| 6 | 密封环(垫)代号 | 16 | 质量和检验标记 |
| 7 | 极限温度(℃) | 17 | 检验人员印记 |
| 8 | 螺纹代号 | 18 | 制造年、月 |
| 9 | 极限压力 | 19 | 流动特性 |
| 10 | 生产厂编号 |
通用阀门的具体标志规定如下:
1)表 2-53 中的 1~4 项是必须使用的标志,对于 DN≥50mm 的阀门,应标记在阀体上,对于 DN<50mm 的阀门。标记在阀体上还是标牌上,由产品设计者规定。
2)表 2-53 中的第 5 项和第 6 项只有当某类阀门标准中有此规定时才是必须使用的标志,它们应分别标记在阀体及法兰上。
3)如果各类阀门标准中没有特殊规定,则表 2-53 中 7~19 项是按需要选择的标志。当需要时,可标记在阀体或标牌上。
对于减压阀、在阀体上的标志除按表 2-53 的规定外,还应有出厂日期、适用介质、出口压力等。
4)蒸汽疏水阀的标志按表 2-54 的规定,标志可设在阀体上,也可标在标牌上。
5)安全阀的标志按表 2-55 的规定,标志标在标牌上。
| 项目 | 必须使用的标志 | 项目 | 必须使用的标志 |
| 1 | 产品型号 | 1 | 阀体材料 |
| 2 | 公称直径 DN | 2 | 最高允许压力 |
| 3 | 公称压力 PN | 3 | 最高允许温度 |
| 4 | 制造名称和商标 | 4 | 最高排水温度 |
| 5 | 介质流动方向的指示箭头 | 5 | 出厂编号、日期 |
| 6 | 最高工作压力 | — | — |
| 7 | 最高工作温度 | — | — |
| 项目 | 阀体上的标志 | 项目 | 标牌上的标志 |
| 1 | 公称直径 DN | 1 | 阀门设计的允许最高的工作温度(℃) |
| 2 | 阀体材料 | 2 | 整定压力(MPa) |
| 3 | 制造厂名称或商标 | 3 | 依据的标准号 |
| 4 | 当进口于出口连接部分的尺寸或压力级相同时,应有指明介质流动方向的箭头 | 4 | 制造厂的基准型号 |
| 5 | 额定排量系数或对于基准介质的额定排量 | ||
| 6 | 流道面积(mm²) | ||
| 7 | 开启高度(mm) | ||
| 8 | 超过压力百分数 |
答:闸阀又称闸板阀,启闭件为闸板,由阀杆带动阀板做升降运动的阀门称为闸阀。
闸阀的特点为:
1)闸阀的优点:流体流动阻力小;启闭所需力矩小;介质流向不受限制;启闭无水击现象;形体结构不叫简单,制造工艺性较好。
2)闸阀的特点:外形尺寸和安装高度较大,所需的安装空间亦较大;在启闭过程中,密封面有相对摩擦,磨损较大,甚至高温式容易引起擦伤现象;闸阀一般都有两个密封面,给加工、研磨和维修增加了一些困难。
闸阀应用范围广泛。通常用于公称直径 DN≥50mm 的给水管路。
答:闸阀按连接方式分螺纹闸法兰闸阀和焊接闸阀,按结构特征分平行式闸板和楔式闸板,按阀门阀杆结构分明杆(升降杆)闸阀和暗杆(旋转杆)闸阀。
1)明杆平行式双闸板闸阀:明杆平行式双闸板闸阀如图 2-5 所示,它的闸板式由两块对称平行放置的两圆盘组成,当闸板下降时靠至于闸板下部的顶楔使两闸板向外扩张紧压在阀座上,使阀门关严。当闸板上升时,楔块就被圆盘上的凸块托起,并随闸板一起上升。该型阀门结构简单,密封面的加工、研磨、检修都比楔式闸阀简便,但密封性较差,适用于压力不超过 1.0MPa,温度不超过 200℃ 的介质。
;

图 2-5 明杆平行式双闸板闸阀
1-阀体;2-阀盖;3-阀杆;4-阀杆螺母;5-闸板;6-首轮;7-填料压盖;8-填料;9-顶楔;10-垫片;11-密封圈;
2)暗杆楔式闸板闸阀:图 2-6 所示为楔式闸板阀门,该阀的密封面是倾斜的,并形成一个夹角,介质温度越高,夹角越大。楔式闸板分单闸板、双闸板、弹性闸板,分别如图 2-6a、b、c 所示。

图 2-6 暗杆楔式闸板闸阀
a-楔形单闸板;b-楔形双闸板;c-楔形弹性闸板
1-阀体;2-阀盖;3-阀杆;4-阀杆螺母;5-闸板;6-手轮;7-压盖;8-填料;9-填料箱;10-垫片;11-指示器;12、13-密封圈
弹性闸板如图 2-7 所示,它具有结构简单、使用可靠等优点,又能产生微小的弹性变形,增加了关闭的严密性。

图 2-7 弹性闸板闸阀
1-阀体;2-阀盖;3-阀杆;4-阀板;5-密封圈;6-手轮;7-阀杆螺母;8-联接螺栓;9-填料压盖;10-填料;11-垫片
明杆闸阀中,阀杆的螺纹与附有首轮的套简螺母相配合,阀杆的下端有方头,嵌于闸板中,旋转手轮时,阀杆和闸板作上下的升降运动。开启时,阀杆伸出手轮,优点是从阀杆的外伸长度能判断从阀门的开启程度,阀杆不直接与输送介质接触;缺点是阀门开启高度达,安装场所必须有阀杆外伸的足够空间。现场安装时,一定要注意着一点。暗杆闸阀的阀杆外螺纹与嵌在阀门内的内螺纹相配合,故旋转手轮时,阀杆作旋转运动,使得阀门内的闸板做升降运动,而阀杆不能上下升降。暗杆闸阀安装占据空间小,输送介质与阀杆直接接触,不能通过阀杆来判断阀门的开启程度。不管是明杆闸阀还是暗杆闸阀,闸阀安装均需水平安装。阀杆垂直向上,不应倾斜,严禁阀杆朝下安装。
常用闸阀型号及参数见表 2-56。
| 名称 | 型号 | 公称压力 PN/MPa | 适用介质 | 适用温度/℃≤ | 公称直径 DN/mm |
| 楔式双闸板闸阀 | Z42W-1 | 0.1 | 煤气 | 100 | 300~500 |
| 伞齿轮传动楔式双闸板闸阀 | Z542W-1 | 600~1000 | |||
| 电动楔式双闸板闸阀 | Z942W-1 | 600~1400 | |||
| 电动暗杆楔式双闸板闸阀 | Z946T-2.5 | 0.25 | 水 | 1600~1800 | |
| 电动暗杆楔式闸阀 | Z945T-6 | 0.6 | 1200~1400 | ||
| 楔式闸阀 | Z41T-10 | 1.0 | 蒸汽、水 | 200 | 50~450 |
| 楔式闸阀 | Z41W-10 | 油品 | 100 | 50~450 | |
| 电瓶楔式闸阀 | Z941T-10 | 蒸汽、水 | 200 | 100~450 | |
| 平行式双闸板闸阀 | Z44T-10 | 50~400 | |||
| 平行式双闸板闸阀 | Z44W-10 | 油品 | 100 | 50~400 | |
| 液动楔式闸阀 | Z741T-10 | 水 | 100~600 | ||
| 电动平行式双闸板闸阀 | Z944T-10 | 蒸汽、水 | 200 | 100~400 | |
| 电动平行式双闸板闸阀 | Z944W-10 | 油品 | 100 | 100~400 | |
| 暗杆楔式闸阀 | Z45T-10 | 水 | 50~700 | ||
| 暗杆楔式闸阀 | Z45W-10 | 油品 | 50~450 | ||
| 正齿轮传动暗杆楔式闸阀 | Z445T-10 | 水 | 80~1000 | ||
| 电动暗杆楔式闸阀 | Z945T-10 | 水 | 100~1000 | ||
| 电动暗杆楔式闸阀 | Z945T-10 | 油品 | 100~450 | ||
| 楔式闸阀 | Z40H-16C | 1.6 | 油品蒸汽水 | 350 | 200~400 |
| 电动楔式闸阀 | Z940H-16C | 200~400 | |||
| 气动楔式闸阀 | Z640H-16C | 200~500 | |||
| 楔式闸阀 | Z40H-16Q | 65~200 | |||
| 电动楔式闸阀 | Z940H-16Q | 65~200 | |||
| 楔式闸阀 | Z40W-16P | 硝酸类 | 100 | 200~300 | |
| 楔式闸阀 | Z40M-16R | 醋酸类 | 200~300 | ||
| 楔式闸阀 | Z40Y-16I | 油品 | 550 | 200~400 | |
| 楔式闸阀 | Z40H-25 | 2.5 | 油品蒸汽、水 | 350 | 50~400 |
| 电动楔式闸阀 | Z940H-25 | 50~400 | |||
| 气动楔式闸阀 | Z640H-25 | 50~400 | |||
| 楔式闸阀 | Z40H-25Q | 50~200 | |||
| 电动楔式闸阀 | Z940H-25Q | 50~200 | |||
| 伞齿轮传动楔式双闸板闸阀 | Z542H-25 | 蒸汽水 | 300 | 300~500 | |
| 电动楔式双闸板闸阀 | Z942H-25 | 300~800 | |||
| 承插焊楔式闸阀 | Z61Y-40 | 4.0 | 油品蒸汽水 | 425 | 15~40 |
| 楔式闸阀 | Z41H-40 | 15~40 | |||
| 楔式闸阀 | Z40H-40 | 50~250 | |||
| 正齿轮传动楔式闸阀 | Z440H-40 | 300~400 | |||
| 电动楔式闸阀 | Z940H-40 | 50~400 | |||
| 气动楔式闸阀 | Z640H-40 | 50~400 | |||
| 楔式闸阀 | Z40H-40Q | 350 | 50~200 | ||
| 电动楔式闸阀 | Z940H-40Q | 50~200 | |||
| 楔式闸阀 | Z40Y-40P | 硝酸类 | 100 | 200~250 | |
| 正齿轮传动楔式闸阀 | Z440Y-40P | 300~500 | |||
| 楔式闸阀 | Z40Y-40I | 油品 | 550 | 50~250 | |
| 楔式闸阀 | Z40H-64 | 6.4 | 油品蒸汽水 | 425 | 50~250 |
| 正齿轮传动楔式闸阀 | Z44H-64 | 300~400 | |||
| 电动楔式闸阀 | Z940H-64 | 50~800 | |||
| 电动楔式闸阀 | Z940Y-64I | 6.4 | 油品 | 550 | 300~500 |
| 楔式闸阀 | Z40Y-64I | 50~250 | |||
| 楔式闸阀 | Z40Y-100 | 10.0 | 油品蒸汽水 | 450 | 50~200 |
| 正齿轮传动楔式闸阀 | Z440Y-100 | 250~300 | |||
| 电动楔式闸阀 | Z940Y-100 | 50~300 | |||
| 承插焊楔式闸阀 | Z61Y-160 | 16.0 | 油品 | 15~40 | |
| 楔式闸阀 | Z41H-160 | 15~40 | |||
| 楔式闸阀 | Z40Y-160 | 50~200 | |||
| 电动楔式闸阀 | Z940Y-160 | 50~300 | |||
| 楔式闸阀 | Z40Y-160I | 550 | 50~200 | ||
| 电动楔式闸阀 | Z940-160I | 50~200 |
答:启闭件为阀瓣,由阀杆带动,沿阀座(密封面)轴线做升降运动的阀门,称为截止阀。
截止阀的特点:截止阀具有结构简单、安装尺寸小、密封性能好、密封面检修方便等特点;缺点是介质流动阻力大,常用于 DN≤200mm 的管路上。
截止阀的应用:截止阀是最常用的阀门之一,可广泛用于各种参数的蒸汽、水、空气、氨、氧气、油品以及腐蚀性介质的管路上。由于截止阀大量应用于蒸汽管路,所以截止阀有“汽阀”、“汽门”之称。
截止阀的安装:截止阀安装有方向性,一般阀门上都标有箭头、箭头方向代表介质流动的方向。若无标注,则应按“低进高出”的原则进行安装。截止阀宜水平安装,阀杆朝上,阀杆不得朝下安装。
答:1)截止阀的分类是:
1)按连接方式分:截止阀按连接方式的不同可分为螺旋纹截止阀(图 2-8)、法兰截止阀(图 2-9)、卡套截止阀。

图 2-8
1-阀座;2-阀盘;3-铁丝圈;4-阀体;5-阀盖;6-阀杆;7-填料;8-填料压盖螺母;9-填料压盖;10-手轮

图 2-9
2)按结构形式分:截止阀按结构形式可分为上螺纹阀杆截止阀、下螺纹阀杆截止阀、直通式截止阀、角式截止阀、直流式截止阀、柱塞式截止阀、针形截止阀、内压自封式阀盖截止阀和螺纹焊接阀盖截止阀。
常用截止阀型号及参数见表 2-57 所示。
| 名称 | 型号 | 公称压力 PN/MPa | 适用介质 | 适用温度/℃≤ | 公称直径 DN/mm |
| 衬胶直流式截止阀 | J45J-6 | 0.6 | 酸、碱类 | 50 | 40~150 |
| 衬铅直流式截止阀 | J45Q-6 | 硫酸类 | 100 | 25~150 | |
| 焊接波纹管式截止阀 | WJ61W-P | 硝酸类 | 10~25 | ||
| 波纹管式截止阀 | WJ41W-6P | 32~50 | |||
| 内螺纹截止阀 | J11W-16 | 1.6 | 油品 | 100 | 15~65 |
| 内螺纹截止阀 | J11T-16 | 蒸汽、水 | 200 | 15~65 | |
| 截止阀 | J41W-16 | 油品 | 100 | 25~150 | |
| 截止阀 | J41T-16 | 蒸汽、水 | 200 | 25~150 | |
| 截止阀 | J41W-16P | 硝酸类 | 100 | 80~150 | |
| 截止阀 | J41W-16R | 醋酸类 | 100 | 80~150 | |
| 外螺纹截止阀 | J21W-25K | 2.5 | 氨、氨液 | -40~150 | 6 |
| 外螺纹角式截止阀 | J24W-25K | 6 | |||
| 外螺纹截止阀 | J21B-25K | 10~25 | |||
| 外螺纹角式截止阀 | J24B-25K | 10~25 | |||
| 截止阀 | J41B-25Z | 32~200 | |||
| 角式截止阀 | J44B-25Z | 32~50 | |||
| 波纹管式截止阀 | WJ41W-25P | 硝酸类 | 100 | 25~150 | |
| 直流式截止阀 | J45W-25P | 25~100 | |||
| 外螺纹截止阀 | J21W-40 | 4.0 | 油品 | 200 | 6~10 |
| 卡套截止阀 | J91W-40 | 6~10 | |||
| 卡套截止阀 | J91H-40 | 油品、蒸汽、水 | 425 | 15~25 | |
| 卡套角式截止阀 | J94W-40 | 油品 | 200 | 6~10 | |
| 卡套角式截止阀 | J94H-40 | 油品、蒸汽、水 | 425 | 15~25 | |
| 外螺纹截止阀 | J21H-40 | 油品、蒸汽、水 | 425 | 15~25 | |
| 外螺纹角式截止阀 | J24W-40 | 油品 | 200 | 6~10 | |
| 外螺纹角式截止阀 | J24H-40 | 油品、蒸汽、水 | 425 | 15~25 | |
| 外螺纹截止阀 | J21W-40P | 硝酸类 | 100 | 6~25 | |
| 外螺纹截止阀 | J21W-40R | 硝酸类 | 6~25 | ||
| 外螺纹角式截止阀 | J24W-40P | 硝酸类 | 6~25 | ||
| 外螺纹角式截止阀 | J24W-40R | 硝酸类 | 6~25 | ||
| 承插焊截止阀 | J61Y-40 | 油品、蒸汽、水 | 425 | 10~25 | |
| 截止阀 | J41H-40 | 10~150 | |||
| 截止阀 | J41W-40P | 硝酸类 | 100 | 32~150 | |
| 截止阀 | J41W-40R | 醋酸类 | 32~150 | ||
| 电动截止阀 | J94H-40 | 油品、蒸汽、水 | 425 | 50~150 | |
| 截止阀 | J41H-40Q | 350 | 32~150 | ||
| 角式截止阀 | J44H-40 | 425 | 32~50 | ||
| 截止阀 | J41H-64 | 6.4 | 50~100 | ||
| 电动截止阀 | J941-64 | 50~100 | |||
| 截止阀 | J41H-100 | 10.0 | 450 | 10~100 | |
| 电动截止阀 | J941H-100 | 50~100 | |||
| 角式截止阀 | J44H-100 | 32~50 | |||
| 承插焊截止阀 | J61Y-160 | 16.0 | 油品 | 15~40 | |
| 截止阀 | J41H-160 | 15~40 | |||
| 截止阀 | J41Y-1601 | 550 | 15~40 | ||
| 外螺纹截止阀 | J21W-160 | 200 | 6~10 |
答:启闭件为球体,绕垂直于通路的轴线转动的阀门称为球阀。
球阀的特点:如图 2-10 所示,球体中部有一圆形孔道,操纵手柄旋转 90° 即可全开或全关,它具有结构简单、体积小、流道阻力小、密封性能好、操作方便、启闭迅速、便于维护等优点;缺点是高温时启闭困难、水击严重、易磨损。

图 2-10 球阀
a)浮动式球阀;b)固定式球阀
1-阀体;2-球体;3-调料;4-阀杆;5-阀盖;6-手柄
答:球阀是由旋塞演变而来,传统意义的球阀主要用于切断、分配和改变介质的流动方向。由于计算机铺助设计(CAD)和计算机辅助制造(CAM)以及柔性制造系统(FMS)在阀门行业的应用,使球阀的使用突破了他原有的使用空间和应用范围,在美、日、德、法、意、西等工业发达国家,球阀的应用非常广泛,并向高温、高压、大口径、高密封性能、长寿命、优良的调节性能以及一阀多用多功能的方向发展,其密封性能及使用的安全可靠性均达到了较高的水平。
答:球阀的分类为:
1)按连接方法分类:球阀按连接方式可分为螺纹球阀、法兰球阀、对夹球阀、卡套球阀、卡箍球阀、焊接球阀等。
2)按结构形式分类:球阀按结构形式可分为浮动球式、固定球式、带浮动球和弹性活动套筒阀座式、升降杆式、变孔径式、三通浮动球式、夹套浮动球球阀。
常用球阀型号及参数见表 2-58 所示。
| 名称 | 型号 | 公称压力 PN/MPa | 适用介质 | 适用温度/℃≤ | 公称直径 DN/mm |
| 内螺纹球阀 | Q11F-16 | 1.6 | 油品、水 | 100 | 15~65 |
| 球阀 | Q41F-16 | 32~50 | |||
| 电动球阀 | Q941F-16 | 50~150 | |||
| 球阀 | Q41F-16P | 硝酸类 | 100~150 | ||
| 球阀 | Q41F-16R | 醋酸类 | 100~150 | ||
| L 形三通式球阀 | Q44F-16Q | 油品、水 | 15~150 | ||
| T 形三通式球阀 | Q45F-16Q | 15~150 | |||
| 涡轮转动固定式球阀 | Q347F-25 | 2.5 | 150 | 200~500 | |
| 气动固定式球阀 | Q647F-25 | 200~500 | |||
| 电动固定式球阀 | Q947F-25 | 200~500 | |||
| 外螺纹球阀 | Q21F-40 | 4.0 | 10~25 | ||
| 外螺纹球阀 | Q21F-40P | 硝酸类 | 100 | 10~25 | |
| 外螺纹球阀 | Q21F-40R | 醋酸类 | 10~25 | ||
| 球阀 | Q41F-40Q | 硝酸类 | 150 | 32~100 | |
| 球阀 | Q41F-40P | 醋酸类 | 100 | 32~200 | |
| 球阀 | Q41F-40R | 油品、水 | 32~200 | ||
| 气动球阀 | Q641F-40Q | 油品、水 | 150 | 50~100 | |
| 电动球阀 | Q941F-40Q | 50~100 | |||
| 球阀 | Q41N-64 | 6.4 | 油品、天然气 | 80 | 50~100 |
| 气动球阀 | Q641N-64 | 50~100 | |||
| 电动球阀 | Q941N-64 | 50~100 | |||
| 气动固定式球阀 | Q647F-64 | 125~200 | |||
| 电动固定式球阀 | Q947F-64 | 125~500 | |||
| 气-液动固定式球阀 | Q247F-64 | 125~500 | |||
| 电-液动固定式球阀 | Q847F-64 | 125~500 | |||
| 气-液动焊接固定式球阀 | Q867F-64 | 400~700 | |||
| 电-液动焊接固定式球阀 | Q267F-64 | 400~700 |
答:启闭件为蝶板,绕固定轴转动的阀门为蝶阀。蝶阀具有多种叠板结构形式。其蝶板结构是直接随阀杆转作启闭运动的,也可以通过杠杆机构使蝶板做启闭运动。
蝶阀的特点是结构简单,体积小,重量轻,节省材料,安装空间小,而且驱动力矩小,操作简便、迅速。蝶阀结构如图 2-11 所示。

图 2-11 蝶阀
1-阀体;2-蝶板;3-密封圈;4-阀杆
答:(1)蝶阀的分类
1)按结构形式分类:蝶阀按结构形式分为对称轴蝶阀、偏心距蝶阀、管状蝶阀、转动式蝶阀、倾斜旋转式蝶阀等。
2)按密封面材料分类:蝶阀按其密封面材料可分为软密封(密封副由非金属软质材料对非金属软质材料或金属硬质材料对金属软质材料构成)、硬密封(密封副由金属硬质材料对金属硬质材料构成)。
蝶阀型号及参数见表 2-59。
| 名称 | 型号 | 公称压力 PN/MPa | 适用介质 | 适用温度/℃≤ | 公称尺寸 DN/mm |
| 液动蝶阀 | D741X-2,5 | 0.25 | 油品、水 | 50 | 2200~3000 |
| 电动蝶阀 | D941X-2,5 | 1600~3000 | |||
| 电动蝶阀 | D941X-6 | 0.6 | 1200~1400 | ||
| 电动蝶阀 | D941X-10 | 1.0 | 250~1000 | ||
| 气动蝶阀 | D641X-10 | 250~1000 | |||
| 涡轮传动蝶阀 | S341X-10 | 250~1000 | |||
| 蝶阀 | D41X-10 | 100~200 |
(2)蝶阀的应用
传统意义上的蝶阀是一种简单的且关闭不严的挡板阀,通常用于水管路系统中作为流量调节和阻尼用。近十几年来,蝶阀制造技术发展迅速,在美、日、德、法等发达国家,蝶阀的使用非常广泛,其使用品种也在不断扩大,并向高温、高压、大口径、密封阀、长寿命、优良的调节性以及一阀多功能的方向发展,其密封性及安全可靠性均达到了较高的水平,并已部分地取代了截止阀、闸阀和球阀。传统意义上的蝶阀已不复存在。因此,蝶阀广泛应用于给水、油品、燃气等管路。
答:旋塞阀利用阀件内所插的中央穿孔的锥形栓塞的控制启闭的阀件,称为旋塞阀。旋塞阀的结构如图 2-12 所示。

图 2-12 旋塞阀
1-旋塞;2-压环;3-填料;4-阀体;5-退塞螺栓
旋塞阀的特点:结构简单,外形尺寸小,介质流动方向不限,启闭时只需旋转 90°,十分快捷,这种直通式旋塞阀通道不缩小,介质在阀内流向不改变。流体阻力小,还可制作成三通路或四通路阀门,可作为分配换向用。但密封面易磨损,开关力较大。
旋塞阀不适用于输送高温、高压介质(如蒸汽)、只适用于一般低温、低压流体,作开闭用,不宜做调节流量用。
旋塞阀应用于油田开采、输送和精炼设备中,同时也广泛用于石油、化工、燃气、水暖等管路中。
旋塞阀公称直径范围为 15~150mm,公称压力有 0.6MPa、1.0MPa、1.6MPa 三个等级,工作温度在 100℃ 以内。
答:止回阀只用于阻止介质倒流的阀门,又称逆止阀、单向阀,它包括各种结构的止回阀(如升降式、旋启式、蝶式止回阀和底阀等)。升降式止回阀和旋启式止回阀的结构如图 2-13 和如图 2-14 所示。

图 2-13 升降式止回阀
1-阀体;2-阀座;3-导向套简;4-阀瓣;5-阀盖

图 2-14 旋启式止回阀
1-阀体;2-阀盖;3-阀瓣;4-摇杆;
止回阀的特点:升降式止回阀比旋启式止回阀的密封性好,流体阻力大;卧式的宜装在水平管线上,立式的应装在垂直管线上;旋启式止回阀,不宜制成小口径阀门,他安装在水平,垂直或倾斜的管线上,如装在垂直管线上,介质流向应由下至上。
止回阀仅能安装在输送清洁介质的管道上,对于有某种颗粒和粘度较大的介质是不适用的,因为这种介质会降低止回阀的密封性能。
答:减压阀是一种能将介质压力降低到一定数值的自动阀门。减压阀根据敏感元件及结构不同可分为弹簧薄膜式减压阀、活塞式减压阀、波纹管式减压阀、杠杆式减压阀等。
这里将活塞式减压阀的机构及工作原理介绍如下:
活塞式减压阀的结构及工作原理如图 2-15a、b 所示,其主要由阀体、阀盖、弹簧、活塞、主阀、副阀(脉冲阀)等部分组成。在阀体的下部装有主阀弹簧 11 用以支承主阀 10,使主阀与阀座处于密封状态。阀体上部装有活塞 8,活塞与主阀 10 的阀杆相配合,待活塞 8 受到介质压力推动主阀 10,使主阀开启。阀盖内装有压缩弹簧、脉冲阀及膜片,帽盖内装有调节螺钉、调节弹簧以调节需要的工作压力。

图 2-15 活塞式减压阀
a)活塞式减压阀;b)活塞式减压阀工作原理
1-调节螺钉;2-调节弹簧;3-上盖;4-膜片;5-脉冲阀;6-阀盖;7-活塞环;8-活塞;9-阀体;10-主阀;11-主阀弹簧;12-底阀盖
活塞式减压阀的工作原理如图 2-15b 所示,当阀门工作时,顺时针方向旋转调节螺钉 1,压下磨片 4,顶开脉冲阀 5、阀前压力为 p1 的介质经过阀体内通道 a 经小室 e、小室 d 和阀内通道 b 到达活塞的上部空间,克服下弹簧力、推下活塞 8,打开主阀 10。介质流过主阀,压力下降为 p2 升高时。薄膜片由于下面的作用力变大而向上弯,脉冲阀关小,是的介质进入小室 e 和小室 d 的通道变窄,活塞口的下推力下降,主阀上升关小,压力 p2 自动降下来。反之亦然。活塞式减压阀可保持压力 p2 在一定的范围内波动。
活塞式减压阀的特点是工作可靠、维修量小,减压范围较大,占地面积小,使用范围广。活塞式减压阀工作时,由于活塞在气缸中的摩擦力较大,因此,它适用于温度较高、压力较大的蒸汽和空气等介质的管道工程上。活塞式减压阀的缺点是灵敏度较差。
弹簧薄膜式减压阀、波纹管式减压阀、减压稳压分别如图 2-16、图 2-17、图 2-18 所示。

图 2-16 弹簧播模式减压阀
1-阀体;2-阀盖;3-薄膜;4-阀杆;5-阀瓣;6-主阀弹簧;7-调节弹簧;8-调整螺栓

图 2-17 波纹管式截止阀
1-调整螺栓;2-调节弹簧;3-波纹管;4-压力通道;5-阀瓣;6-定金弹簧

图 2-18 减压稳压阀
1-阀体;2-密封垫;3-导套;4-限位母;5-阀瓣;6-密封圈;7-阀座;8-阀杆;9-活塞套;10-O 形密封圈;11-膜片;12-托盘;13-压缩弹片;14-弹簧;15-调节螺杆;16-弹簧座;17-盖形;18-密封垫;19-下阀盖;20-螺母
答:启闭件为隔膜,由阀杆带动沿阀杆轴线作升降运动并将使动作机构与介质隔开的阀门,可称隔膜阀。
隔膜阀的结构如图 2-19 所示,隔膜阀用橡胶、塑料、搪瓷等耐腐蚀材料做衬里,隔膜阀的优点是结构简单、便于维修、流动阻力下,多用于输送酸类介质和带悬浮物的工业管路上,其适用范围为 PN≤0.6MPa,DN≤300mm。
隔膜阀结构形式如图 2-19、图 2-20、图 2-21 所示。

图 2-19 屋脊式隔膜阀
1-阀体;2-阀杆;3-隔膜;4-衬里

图 2-20 堰式隔膜阀
1-阀体;2-阀体衬里;3-隔膜;4-螺钉;5-阀盖;6-阀瓣;7-阀杆;8-阀杆螺母;9-指示器;10-手轮;

图 2-21 直通式隔膜阀
隔膜阀型号及参数见表 2-60。
| 名称 | 型号 | 公称压力 PN/MPa | 适用介质 | 适用温度/℃≤ | 公称尺寸 DN/mm |
| 隔膜阀 | G41W-6 | 0.6 | 酸、碱类 | 65 | 15~200 |
| 衬胶隔膜阀 | G41J-6 | 25~300 | |||
| 气动衬胶隔膜阀 | G641-6 | 25~200 | |||
| 气动常开式衬胶隔膜阀 | G6h41J-6 | 25~200 | |||
| 气动常闭式衬胶隔膜阀 | G6B41J-6 | 25~200 | |||
| 电动衬胶隔膜阀 | G941J-6 | 50~200 | |||
| 搪瓷隔膜阀 | G41C-6 | 100 | 25~200 |
2-66 什么是节流阀?结构特征是什么?型号及参数有哪些?
答:通过启闭件(阀瓣)来改变阀门的通路面积,以调节流量、压力的阀门称为节流阀。
节流阀如图 2-22 所示,从结构特征看,节流阀也属于截止阀类,阀瓣有窗形、塞形和针形,如图 2-23 所示。窗形用于大通径,塞形用于中通径,针形用于小通径。节流阀的作用是节流减压,使介质膨胀,因此,也称膨阀。

图 2-22 节流阀
a)L21SA-25K 外螺纹节流阀;b)角式节流阀

图 2-23 节流阀阀瓣
虽然节流阀在结构特征上与截止阀相似,但节流阀不能当截止阀使用,截止阀也不可代替节流阀。
同截止阀一样,节流阀安装具有方向性,安装时可按“低进高出”的原则进行安装。
节流阀型号及参数见表 2-61。
| 名称 | 型号 | 公称压力 PN/MPa | 适用介质 | 适用温度/℃≤ | 公称尺寸 DN/mm |
| 外螺纹节流阀 | L21W-25K | 2.5 | 氨、氨液 | -40~150 | 10~15 |
| 外螺纹角式节流阀 | L24W-25K | 10~15 | |||
| 外螺纹节流阀 | L21B-25K | 20~25 | |||
| 外螺纹角式节流阀 | L24B-25K | 20~25 | |||
| 节流阀 | L41B-25Z | 32~50 | |||
| 角式节流阀 | L44B-25Z | 32~50 | |||
| 外螺纹节流阀 | L21W-40 | 4.0 | 油品 | 200 | 6~10 |
| 卡套节流阀 | L91W-40 | 6~10 | |||
| 外螺纹节流阀 | L21W-40P | 硝酸类 | 100 | 6~25 | |
| 外螺纹节流阀 | L21W-40R | 醋酸类 | 6~25 | ||
| 外螺纹节流阀 | L21H-40 | 油品、蒸汽、水 | 425 | 15~25 | |
| 卡套节流阀 | L91H-40 | 15~25 | |||
| 节流阀 | L41H-40Q | 350 | 32~50 | ||
| 节流阀 | L41H-40 | 425 | 10~50 | ||
| 节流阀 | L41W-40P | 硝酸类 | 100 | 32~50 | |
| 节流阀 | L41W-40R | 醋酸类 | 32~50 | ||
| 节流阀 | L41H-100 | 10.0 | 油品、蒸汽、水 | 450 | 10~50 |
2-67 什么是疏水阀?结构及工作原理如何?型号及参数有哪些?
答:自动排放凝结水并组织蒸汽通过的阀门是疏水阀。疏水阀是一个自动调节阀门,它能自动排出凝结水,组织蒸汽通过。疏水阀又名阻汽排水阀。
浮桶式蒸汽疏水阀的结构就工作原理如图 2-24 所示。桶装浮子的开口朝上配置。开始通汽时,产生的凝结水被蒸汽压力推到,流入疏水阀内部吊桶的四周,随着凝结水量的增加又逐渐流入桶内。当浮桶内贮存的水达到所规定的数量时,浮桶失去了浮力,便下沉,从而打开了连接在浮桶上的阀瓣,浮桶内的水通过集水管,由疏水阀的出口排出。当浮桶内的凝结水大部分被排除之后,浮桶又恢复了浮力。向上浮起,关闭蒸汽疏水阀。
疏水阀型号及参数见表 2-62。
| 名称 | 型号 | 公称压力 PN/MPa | 允许背压/%≤ | 适用温度/℃≤ | 公称尺寸 DN/mm | ||||||
| 浮球式疏水阀 | S41H-16 | 1.6 | 80 | 200 | 15 | 20 | 25 | 32 | 40 | 50 | 80 |
| S41H-16Q | 350 | △ | △ | △ | △ | △ | △ | ||||
| S41H-25 | 2.5 | △ | △ | △ | △ | △ | △ | △ | |||
| S41H-40 | 4.0 | 425 | △ | △ | △ | △ | △ | △ | △ | ||
| S41H-60 | 6.4 | △ | △ | △ | △ | △ | △ | ||||
| S41H-160I | 16 | 550 | △ | △ | △ | △ | △ | △ | |||
| 浮桶式疏水阀 | S43H-6 | 0.6 | 200 | △ | △ | △ | △ | △ | △ | ||
| S43H-10 | 1.0 | △ | △ | △ | △ | △ | △ | ||||
| 内螺纹倒吊桶式疏水阀 | S15H-16 | 1.6 | △ | △ | △ | △ | △ | △ | |||
| 双金属片式疏水阀 | S47H-16 | 50 | △ | △ | △ | △ | △ | △ | |||
| S47H-25 | 2.5 | 350 | △ | △ | △ | △ | △ | △ | |||
| 内螺纹脉冲式疏水阀 | S18H-25 | 25 | △ | △ | △ | △ | △ | ||||
| 内螺纹圆盘式疏水阀 | S19H-16 | 1.6 | 50 | 200 | △ | △ | △ | △ | △ | △ | |
| 圆盘式疏水阀 | S49H-16 | △ | △ | △ | △ | △ | △ | ||||
| 内螺纹圆盘式疏水阀 | S19H-40 | 4.0 | 425 | △ | △ | △ | △ | △ | |||
| 圆盘式疏水阀 | S49H-40 | △ | △ | △ | △ | △ | |||||
| 承插焊圆盘式疏水阀 | S69H-40 | △ | △ | △ | △ | ||||||
| 圆盘式疏水阀 | S49H-64 | 6.4 | △ | △ | △ | ||||||
| S49Y-100 | 10.0 | 450 | △ | △ | △ | ||||||
| 承插焊圆盘式疏水阀 | S69Y-100 | △ | △ | △ | |||||||
| 圆盘式疏水阀 | S49Y-160I | 16.0 | 550 | △ | △ | △ | |||||
| 承插焊圆盘式疏水阀 | S69Y-160I | △ | △ | △ | |||||||
答:当系统压力超过调定值时自动开启的阀称为安全阀,安全阀用来限制气罐或回路的最高压力以保证安全,结构上与座阀式直动溢流阀相同。对安全阀来说,反应快是最重要的。溢流阀的调定压力是溢流阀达到公称流量时的压力,但安全阀的调定压力是开启压力。
当管道或设备内的介质压力超过规定数值时,启闭件(阀瓣)能自动开启排放,低于规定值时,自动关闭,对管道或设备起保护作用的阀门是安全阀。
安全阀的各种结构功能:安全阀的种类很多,通常大都以安全阀的结构特点或阀瓣最大开启高度与阀座直径之比(h/d)进行分类,安全阀一般可分为杠杆重锤式安全阀、弹簧安全式、微启式安全阀、全启式安全阀、脉冲式安全阀、先导式安全阀等。这里将前四种安全阀的结构功能介绍如下,供管理、维修、检验、订购参考。
1)杠杆重锤式安全阀:杠杆重锤式安全阀如图 2-25 所示。重锤的作用力通过杠杆放大后加载于阀瓣。在阀门开启和关闭过程中载荷的大小不变,因此由阀杆传来的力基本是不变的。其缺点是对振动较敏感,且回座性能差。这种结构的安全阀只能用在固定设备上,重锤的质量一般不应超过 60kg,以免操作困难。铸铁制重锤式安全阀适用于公称压力 PN≤1.6MPa,介质温度 t≤200℃;碳钢制重锤式安全阀适用于公称压力 PN≤1.6MPa,介质温度 t≤450℃。重锤式安全阀主要用于水、汽等介质。

图 2-25 杠杆重锤式安全阀
1-阀体;2-阀座;3-阀盘;4-导向套筒;5-阀杆;6-重锤;7-杠杆;8-阀盖
2)微启式安全阀:阀瓣的开启高度为阀座通径的 1/40~1/20 的安全阀是微启式安全阀。微启式安全阀又分为不带调节圈的微启式安全阀和带调节圈的微启式安全阀,不带调节圈的微启式弹簧安全阀如图 2-26 所示,带调节圈的微启式安全阀弹簧安全阀如图 2-27 所示,带调节圈的弹簧安全阀可利用调节圈对排放压力即启闭压差进行调节。

图 2-26 不带调节阀的微启式弹簧安全阀
1-阀体;2-阀瓣;3-阀座;4-弹簧;5-下弹簧阀座;6-上弹簧阀座;7-阀盖

图 2-27 带调节圈的微启式弹簧安全阀
1-阀体;2-阀座;3-调节圈;4-定位螺钉;5-阀瓣;6-阀盖;7-保险铁丝;8-保险铅封;9-紧锁螺母;10-套筒螺丝;11-安全护罩;12-上弹簧座;13-弹簧;14-阀杆;15-下弹簧座;16-导向套;17-反向冲
3)圈其实安全法:阀瓣的开启高度为阀座通径的 1/4~1/3 的安全阀是全启式安全阀。全启式安全阀如图 2-28 所示,在安全阀的阀瓣处设有反冲盘,借助于气体介质的膨胀冲力,使阀瓣开启到足够的高度,从而达到排量要求。这种结构的安全阀使用较多,灵敏度亦较高。

图 2-28 全启式安全阀
1-阀体;2-阀座;3-调节阀;4-定位螺钉;5-阀瓣;6-反冲盘;7-保险铁丝;8-保险铅封;9-紧锁螺母;10-套筒螺钉;11-安全护套;12-上弹簧座;13-弹簧;14-阀杆;15-阀盖;16-下弹簧座
答:安全阀的安装要求是:
1)安全法必须垂直安装,并尽量靠近被保护的设备或管道,自被保护的设备到安全阀入口管道最大压力损失不得超过安全阀定压的 3%。
2)安全阀入口管道的管径必须大于或等于安全阀入口管径,其连接的大小头应尽量设在靠近安全阀的入口处。
3)安全阀向大气排放时,排放的管道要高出已排放口为中心的 7.5m 半径范围内的操作平台、设备或地面 2.5m 以上。而对于有腐蚀性、易燃或有毒的介质,排放口要高出 15m 半径范围内的操作平台、设备或地面 3m 以上。
4)安全阀排放管排入大气时,端部要切成平口,同时,在安全阀出口弯头附近的低处要开设 φ6~φ10mm 的小孔,以免雨、雪或冷凝液积聚在排出管内。
5)安全阀排放液体时,要引向装置内最近的合适的工艺废料系统,不允许直接排放大气。
6)安全阀要装在易于检修和调节处,周围要有足够的操作空间。
7)安全阀入口出不允许设置切断阀,若出于检修或其他方面的原因(如排放的介质中含有固体颗粒,影响安全阀跳开后不能再关闭,需要拆开检修;或用于粘性、腐蚀性介质),可加切断阀并设检查阀,切断阀必须处于劝其状态,并加铅封,且应有醒目的标志。
8)对有可能使用蒸汽吹扫的泄压过道,应考虑由于蒸汽吹扫产生的热膨胀。
答:安全阀型号及参数见表 2-63。
| 名称 | 型号 | 公称压力 PN/MPa | 密封压力/MPa | 适用介质 | 适用温度/℃≤ | 公称尺寸 DN/mm |
| 外螺纹弹簧式安全阀 | A27W-10T | 1.0 | 0.4~1.0 | 空气 | 120 | 15~20 |
| 外螺纹弹簧式带扳手安全阀 | A27H-10K | 0.1~1.0 | 空气、蒸汽、水 | 200 | 10~40 | |
| 弹簧式带扳手安全阀 | A47H-16 | 1.6 | 0.6~1.6 | 40~100 | ||
| 外螺纹弹簧封闭式安全阀 | A21H-16C | 空气、氨气、水、氨液 | 10~25 | |||
| 外螺纹弹簧封闭式安全阀 | A21W-16P | 硝酸等 | 10~25 | |||
| 弹簧封闭式安全阀 | A41H-16C | 空气、氨气、水、氨液、油品 | 300 | 32~80 | ||
| 弹簧封闭式安全阀 | A41W-16P | 硝酸等 | 200 | 32~80 | ||
| 弹簧式带扳手安全阀 | A47H-16C | 空气、蒸汽、水 | 350 | 40~80 | ||
| 双联弹簧封闭式安全阀 | A43H-16C | 空气、蒸汽 | 80~100 | |||
| 弹簧全启式安全阀 | A40H-16C | 油品、空气 | 450 | 50~150 | ||
| 弹簧全启式安全阀 | A40Y-16I | 550 | 50~150 | |||
| 弹簧封闭全启式安全阀 | A42H-16C | 0.06~1.6 | 300 | 40~200 | ||
| 弹簧封闭全启式安全阀 | A42W-16P | 硝酸等 | 200 | 40~200 | ||
| 弹簧封闭带扳手全启式安全阀 | A44H-16C | 0.1~1.6 | 油品、空气 | 300 | 50~150 | |
| 弹簧全启式安全阀 | A48H-16C | 空气、蒸汽 | 350 | 50~150 | ||
| 外螺纹弹簧封闭式安全阀 | A21H-40 | 4.0 | 1.6~4.0 | 空气、氨气、水、氨液 | 200 | 15~25 |
| 外螺纹弹簧封闭式安全阀 | A21W-40P | 硝酸等 | 15~25 | |||
| 弹簧封闭式安全阀 | A41H-40 | 1.3~4.0 | 空气、氨气、水、氨液、油品 | 300 | 32~80 | |
| 弹簧封闭式安全阀 | A41W-40P | 1.6~4.0 | 硝酸等 | 200 | 32~80 | |
| 弹簧式带扳手安全阀 | A47H-40 | 1.3~4.0 | 空气、蒸汽 | 350 | 40~80 | |
| 双联弹簧封闭式安全阀 | A43H-40 | 80~100 | ||||
| 弹簧全启式安全阀 | A40H-40 | 0.6~4.0 | 油品、空气 | 450 | 50~150 | |
| 弹簧全启式安全阀 | A43Y-40I | 550 | 50~150 | |||
| 弹簧封闭全启式安全阀 | A42H-40 | 1.3~4.0 | 300 | 40~150 | ||
| 弹簧封闭全启式安全阀 | A42W-40P | 1.6~4.0 | 硝酸等 | 200 | 40~150 | |
| 弹簧封闭带扳手全启式安全阀 | A44H-40 | 1.3~4.0 | 油品、空气 | 300 | 50~150 | |
| 弹簧全启式安全阀 | A48H-40 | 空气、蒸汽 | 350 | 50~150 | ||
| 弹簧封闭式安全阀 | A41H-100 | 10.0 | 3.2~10 | 空气、水、油品 | 300 | 32~50 |
| 弹簧全启式安全阀 | A40H-100 | 1.6~8.0 | 油品、空气 | 450 | 50~100 | |
| 弹簧全启式安全阀 | A40Y-100I | 550 | 50~100 | |||
| 弹簧全启式安全阀 | A40H-100P | 600 | 50~100 | |||
| 弹簧封闭全启式安全阀 | A42H-100 | 3.2~10 | 氮氢气、油品、空气 | 300 | 40~100 | |
| 弹簧封闭带扳手全启式安全阀 | A44H-100 | 油品、空气 | 50~100 | |||
| 弹簧全启式安全阀 | A48H-100 | 空气、蒸汽 | 350 | 50~100 | ||
| 弹簧封闭式安全阀 | A41H-160 | 1.6 | 10~16 | 空气、氮氢气、水、油品 | 200 | 15~32 |
| 弹簧全启式安全阀 | A40H-160 | 油品、空气 | 450 | 50~80 | ||
| 弹簧全启式安全阀 | A40Y-160I | 550 | 50~80 | |||
| 弹簧全启式安全阀 | A40Y-160P | 600 | 50~80 | |||
| 弹簧封闭全启式安全阀 | A42H-160 | 氮氢气、油品、空气 | 300 | 15~80 | ||
| 弹簧封闭式安全阀 | A41H-320 | 32.0 | 16~32 | 空气、氮氢气、水、油品 | 200 | 15~32 |
| 弹簧封闭式安全阀 | A42H-320 | 空气、氮氢气、油品 | 15~32 |
答:柱塞阀的柱塞与密封圈间采用过盈配合,通过调节阀盖上连接螺栓的压紧力,是密封圈上所产生的径向分力大于流体的压力。从而保证了密封性,杜绝了外泄漏。
柱塞阀的特点:具有结构紧奏启闭灵活、寿命长、维修方便等特点。柱塞阀是国际上近代发展的新颖结构阀门,受到广泛重视。
答:根据外来信号或流体压力的传递推动调节机构,以改变流体流量的阀门称为调节阀。
调节阀:指主要用于调节介质的流量、压力的阀门。它包括节流阀、减压阀。
答:平衡阀是专用于供热系统上的调节阀门。使用平衡阀后就能有效地解决水力失调问题。平衡阀分静态平衡阀(简称平衡阀)和自动式平衡阀(也称自力式流量调节阀)。
平衡阀的内部结构也是由阀瓣和阀座组成,外形与普通阀一样。
答:柱塞阀型号和技术性能及生厂商见表 2-64。
| 产品名称 | 型号 | 规格 DN/mm | 主要技术性能 | 阀体材料 | 参考重量/kg | 生产厂 | ||
| 公称压力 PN/MPa | 适用介质 | 适用温度/℃ | ||||||
| 内螺纹联接柱塞阀 | U11F-16 | 15-65 | 1.6 | 油品、水、蒸汽等 | ≤150 | 灰铸铁 | 1.1 | 湖州第二阀门厂 DN15-DN50、浙江省玉环县飞乐节能阀门厂 DN15-DN50、浙江玉环县防腐阀门厂 DN25、浙江玉环飞环阀门厂 |
| U11F-16Q | 15-50 | 球墨铸铁 | 浙江省玉环县飞乐节能阀门厂、浙江玉环县防腐阀门厂 DN25、郑州市荥阳通用阀门厂 | |||||
| U11F-25Q | 15-50 | 2.5 | ≤250 | 铸铁、铸钢 | 郑州市荥阳通用阀门厂 | |||
| U11S-16 | 15~65 | 1.6 | ≤250 | 灰铸铁 | 湖州第二阀门厂 DN15-DN50、永嘉县瓯北机械阀门厂 DN15-DN50、台州振华阀门厂、浙江玉环县防腐阀门厂 DN25、台州振华阀门厂、浙江玉环县防腐阀门厂 DN15-DN50、玉环柱塞阀制造有限公司 DN15-DN50、浙江玉环飞环阀门厂 | |||
| U11SM-16 | ||||||||
| U11S-16Q | 15~50 | ≤250 | 球墨铸铁 | 1.5 | 永嘉县瓯北机械阀门厂 DN15-DN50、浙江玉环县防腐阀门厂 DN25、玉环柱塞阀制造有限公司 DN15-DN50 | |||
| U11SM-16Q | ||||||||
| U11S-16C | 15~50 | 碳钢 | 4 | 永嘉县瓯北机械阀门厂 | ||||
| U11SM-16C | ||||||||
| U11S-25 | 15~50 | 2.5 | 10 | |||||
| U11SM-25 | ||||||||
| U11S-40 | 15~50 | 4.0 | 1.1 | |||||
| U11SM-40 | ||||||||
| 内螺纹联接不锈钢柱塞阀 | U11S-16P | 15~50 | 1.6 | 油品、水、蒸汽等 | ≤250 | 铬镍钛钢 | 永嘉县瓯北机械阀门厂 | |
| U11SM-16P | ||||||||
| U11S-25P | 15~50 | 2.5 | 6.5 | |||||
| U11SM-25P | 10 | |||||||
| 手动内螺纹联接柱塞阀 | U11S-40P | 15~50 | 4.0 | 油品、水、蒸汽等 | ≤250 | 铬镍钛钢 | 永嘉县瓯北机械阀门厂 | |
| U11SM-40P | ||||||||
| 柱塞阀 | U41S-10 | 40-250 | 1.0 | ≤200 | 灰铸铁 | 25 | 台州振华阀门厂 | |
| U41F-16 | 15~300 | 1.6 | ≤180 | 6.5-210 | 湖州第二阀门厂 DN15-DN50,台州振华阀门厂 DN40-DN250、永嘉县瓯北机械阀门厂 DN15-DN200、自贡迎江机械阀门制造有些公司 DN15-DN200、广州阀门厂 DN20-DN150、郑州市宇明工业总公司 | |||
| U41F-16Q | 15-300 | 1.6 | ≤180 | 球墨铸铁 | 3.5 | 浙江玉环县飞乐节能阀门厂、自贡迎江机械阀门制造有限公司 DN15-DN200、郑州市荥阳通用阀门厂、广州阀门厂 DN20-DN150 | ||
| 42 | ||||||||
| 73 | ||||||||
| 105 | ||||||||
| U41F-25Q | 2.5 | ≤250 | 铸铁、铸钢 | 郑州市荥阳通用阀门厂 | ||||
| U41S-16 | 15-300 | 1.6 | ≤250 | 灰铸铁 | 70 | 河北省晋江市阀门厂 DN20-DN50、唐山迁西阀门厂 DN20-DN150、永嘉县瓯北机械阀门厂 DN15-DN200、浙江玉环县飞环阀门厂 DN40-DN300、玉环柱塞阀制造有限公司 DN15-DN50、淄博防腐阀门厂 DN15-DN150、上海标一阀门厂 | ||
| U41SM-16 | 360 | |||||||
| U41S-16C | 15-250 | 1.6 | ≤425 | 碳钢 | 70 | 永嘉县瓯北机械阀门厂 、浙江玉环县飞环阀门厂、开封高压阀门厂 DN15-DN200 | ||
| U41SM-16C | 100 | |||||||
| U41SM-16Q | 15-200 | 1.6 | ≤225 | 灰铸铁 | 永嘉县瓯北机械阀门厂 、南昌八一阀门有限公司 DN25-DN100 | |||
| U41F-25 | 15-300 | 2.5 | ≤250 | 碳钢 | 7.5 | 湖州第二阀门厂 DN15-DN150、玉环柱塞阀制造有限公司、浙江玉环县飞乐节能阀门厂、浙江玉环县防腐阀门厂 DN50、自贡迎江机械阀门制造有限公司 DN15-DN200 | ||
| 9.5 | ||||||||
| U41F-25Q | 15-300 | ≤250 | 球墨铸铁 | 2.5 | 玉环柱塞阀制造有限公司、浙江省玉环县飞乐节能阀门厂、浙江玉环县防腐阀门厂 DN50、郑州市荥阳通用阀门厂、自贡迎江机械阀门制造有限公司 DN15-DN200、郑州市宇明工业总公司 | |||
| 4 | ||||||||
| 290 | ||||||||
| 360 | ||||||||
| U41S-25 | 15-300 | 油品、蒸汽等 | ≤425 | 碳钢 | 15 | 上海精密阀门厂 DN15-DN100、永嘉县瓯北机械阀门厂 DN15-DN200、浙江玉环县飞环阀门厂 N15-DN250、玉环柱塞阀制造有限公司 、贡迎江机械阀门制造有限公司 DN15-DN200、开封高压阀门厂 DN15-DN200 | ||
| U41SM-25 | ||||||||
| U41S-25Q | 15-300 | 油品、水、蒸汽等 | ≤250 | 球墨铸铁 | 玉环柱塞阀制造有限公司 、贡迎江机械阀门制造有限公司 DN15-DN200 | |||
| U41F-40 | 15-200 | 4.0 | ≤180 | 碳钢 | 4 | 上海精密阀门厂 DN15-DN100、湖州第二阀门厂 DN15-DN150、浙江玉环县飞乐节能阀门厂 DN15-DN200、郑州高山水暖器材厂 DN15-DN200 | ||
| U41S-40 | 15-300 | ≤425 | 2.5 | 上海精密阀门厂 DN15-DN100、永嘉县瓯北机械阀门厂 DN15-DN200、浙江玉环县防腐阀门厂 DN50、浙江玉环县飞环阀门厂 N15-DN250、玉环柱塞阀制造有限公司 、自贡迎江机械阀门制造有限公司 DN15-DN200、淄博防腐阀门厂 DN15-DN150、开封高压阀门厂 DN15-DN200 | ||||
| U41SM-40 | ||||||||
| 不锈钢柱塞阀 | U41F-16P | 50-200 | 1.6 | 硝酸类 | ≤180 | 铬镍钛钢 | 锡山市阀门厂、浙江玉环县防腐阀门厂 DN50、浙江玉环县飞乐节能阀门厂、浙江求精泵阀制造有限公司 | |
| U41F-25P | 15-200 | 2.5 | 永嘉县瓯北机械阀门厂、浙江玉环县飞乐节能阀门厂、浙江玉环县防腐阀门厂 DN50、浙江求精泵阀制造有限公司、自贡迎江机械阀门制造有限公司 | |||||
| U41F-40P | 15-200 | 4.0 | 浙江玉环县防腐阀门厂 DN50、浙江玉环县飞乐节能阀门厂、浙江求精泵阀制造有限公司、自贡迎江机械阀门制造有限公司 | |||||
| U41F-16R | 15-200 | 1.6 | 腐蚀性介质 | ≤150 | 铬镍钼钛钢 | 锡山市阀门厂、浙江求精泵阀制造有限公司 | ||
| U41S-16P | 15-300 | 1.6 | 油品、水、蒸汽等 | ≤250 | 铬镍钛钢 | 上海精密阀门厂 DN15-DN100、锡山市阀门厂 DN15-DN200、浙江玉环县防腐阀门厂 DN50、浙江玉环县飞乐节能阀门厂、浙江玉环县防腐阀门厂 DN50、浙江求精泵阀制造有限公司 DN15-DN200、 | ||
| U41S-25P | 15-300 | 2.5 | 油品、水、蒸汽等 | ≤250 | 铬镍钛钢 | 上海精密阀门厂 DN15-DN100、锡山市阀门厂 DN15-DN200、永嘉县瓯北机械阀门厂 DN15-DN200、浙江玉环县飞乐节能阀门厂、浙江玉环县防腐阀门厂 DN50、自贡迎江机械阀门制造有限公司 DN15-DN200 | ||
| U41S-40P | 15-200 | 4.0 | 上海精密阀门厂 DN15-DN100、锡山市阀门厂、浙江玉环县飞乐节能阀门厂、浙江玉环县防腐阀门厂 DN50、自贡迎江机械阀门制造有限公司 | |||||
| U41S-16R | 15-200 | 1.6 | 腐蚀性介质 | ≤150 | 铬镍钼钛钢 | 锡山市阀门厂 | ||
| 沉浮塑料柱塞阀 | SFUF46-16 | 15-200 | 1.6 | 腐蚀性介质 | ≤150 | 钢碳 | 上海耐莱斯阀门有限公司 | |
| 手动快开排污塞阀 | KUB41S-16 | 25 | 1.6 | 油品、水、蒸汽等 | ≤250 | 球墨铸铁 | 玉环柱塞阀制造有限公司 DN25、DN40、DN50 | |
| 40 | ||||||||
| 50 | ||||||||
| KUB41S-25 | 25 | 2.5 | 球墨铸铁 | |||||
| 40 | ||||||||
| 50 | ||||||||
| KUB41S-40 | 25 | 4.0 | 钢碳 | |||||
| 40 | ||||||||
| 50 | ||||||||
答:阀门故障分类方法如下:

答:阀门故障模式见表 2-65。
| 类别 | 故障模式 | 故障分析 | 故障举例 |
| 损坏型 | 断裂 | 阀门零件在外力或内应力作用下断开 | 轴类、杆类、支架、弹簧等断裂 |
| 碎裂 | 阀门零件在外力的作用下,超过强度极限而被破坏形成碎块 | 轴承、缸套等的碎裂 | |
| 裂纹 | 阀门零件表面或内层产生细微纹路 | 轴类、杆类、支架等的裂纹 | |
| 塑性变形 | 阀门零件的许用应力超过弹性极限而产生永久变形 | 轴类、杆类、弹簧等塑性变形 | |
| 开裂 | 阀门零件因强度不够,裂开可见的缝隙 | 橡胶件的开裂 | |
| 点蚀 | 阀门零件表面在循环变化的接触应力作用下,由于疲劳而产生的点状剥落 | 凸轮、轴承管道等出现的点蚀 | |
| 滑扣 | 螺纹紧固件因螺纹损坏而不能拧紧 | 阀杆螺母的螺母磨平滑扣 | |
| 粘附 | 阀门零件间的接触表面因为过热得等原因,便接触表面处材料分子转移而产生局部吸附 | 阀瓣与阀座的粘附 | |
| 开焊 | 焊缝或焊缝与基体间出现螺纹或开裂 | 法兰与阀体接缝的开裂 | |
| 咬住 | 阀门零件间接触表面由于粘附或滞卡严重,产生阻力而导致相对运动中断 | 紧固件、螺纹连接处的咬住 | |
| 失调型 | 干涉 | 阀门运动件与运动件之间或运动件与固件之间发生碰撞或摩擦,多因安装设计不当造成 | 设计问题 |
| 行程过大或过小 | 阀门操纵件或运动件所能到达极限位置之间的距离不符合技术要求,多因安装调整不当造成 | 阀瓣开启高符不符合要求,阀瓣振颤 | |
| 间隙过大或过小 | 阀门配合间隙不符合技术要求 | 导向件之间配合问题 | |
| 指示不准或无指示 | 阀门检测仪表指示值与实际情况值不符 | 阀门阀瓣实际开启高度与指示值不对应 | |
| 松脱型 | 松动 | 阀门紧固件、联接件丧失应有的紧固力 | 法兰螺栓、铆钉等连接件的松动 |
| 脱落 | 因连接失效造成被连接阀门零件与原安装位置分离 | 法兰螺栓、铆钉等连接件的脱落 | |
| 退化型 | 锈蚀 | 由于水或杂质的原因使阀门零件表面发生化学反应生锈被腐蚀 | 阀轴腐蚀 |
| 剥落 | 金属或涂层因承受搞得接触应力,以薄片状从零件表面脱落 | 阀瓣堆焊层金属的剥落 | |
| 老化 | 阀门非金属因机械磨损和热磨损,与工作环境因素有关 | 橡胶零件(隔膜,垫片、填料环)因失去弹性而老化 | |
| 异常磨损 | 因为设计、制造、装配或使用等原因是运动件表面产生超过正常磨损 | 紧固件在运动中异常磨损 | |
| 堵塞与渗漏型 | 外漏 | 由于密封面有划痕、填料压盖不合格、阀体破裂、法兰变形以及安装不当等引起 | 阀体、发料、法兰密封面的外漏 |
| 内漏 | 由于焊接缺陷、选材不当、热处理不当或铸件缺陷,在阀瓣上落入异物、预紧力降低等问题引起密封不严而使介质泄漏 | 阀体与隔膜,阀瓣与阀座间的泄露 | |
| 堵塞 | 阀门管路中有异物阻挡,造成液体或气体不能流动或流动不畅 | 控制管线的堵塞,如先导阀脉冲管堵塞 |
答:安全阀主要故障模式见表 2-66。
| 类别 | 故障模式 | 原因分析 | 备注 |
| 损坏型 | 弹簧塑性变小 | 弹簧刚性降低,许用应力超过弹性极限,承受热交变应力 | 渐进故障 |
| 阀瓣未到整定值突然开启 | 阀体和阀盖体上有砂眼、松散组织、夹渣、焊接不良或应力裂纹等缺陷 | 渐进故障 | |
| 失调型 | 阀瓣起跳、回座压力偏高或偏低不能达到完全开启状态 | 弹簧断裂或整定不当 | 突然故障 |
| 整定值偏低或有异物卡塞阀瓣驱动机构 | 运行故障 | ||
| 严重故障 | |||
| 振颤 | 调整不当,安全阀入口处理不当或距离上游侧弯头太近,导致气流产生涡流而引起扰动 | 运行故障 | |
| 蹦跳 | 调整不当或排气管水平段太长,选型不当 | 严重故障 | |
| 运行故障 | |||
| 管道系统振动 | 管道系统防振措施达不到要求 | 结构故障 | |
| 拒动 | 控制部分失败(如电池阀不动作),或有异物卡塞阀瓣驱动机构,或相关部件配合间隙太小 | 突然故障 | |
| 致命故障 | |||
| 退化型 | 弹簧磨损变形 | 介质腐蚀磨损 | 渐进故障 |
| 堵塞与渗漏型 | 阀体与阀盖间密封件泄漏 | 没有按照相关产品说明或现场实际情况进行正确的调整 | 严重故障 |
| 阀瓣与阀座之间的密封面泄漏 | 阀瓣的侵蚀性磨损或腐蚀,密封面硬质合金磨损或脱落,研磨质量欠佳 | 渐进故障 |
答:减压阀按作用原理分为直接作用式和先导式。直接作用式减压阀是利用出口压力的变化直接控制阀瓣的运动。先导式减压阀由导阀和主阀组成,出口压力的变化通过导阀放大来控制主阀的运动,其性能对比见表 2-67。
| 类型 | 直接作用式 | 先导式 | |||
| 波纹管 | 薄膜 | 活塞 | 波纹管 | 薄膜 | |
| 适用介质 | 蒸汽 | 空气、水 | 蒸汽、空气、水 | 蒸汽、空气 | 蒸汽 |
| 使用压力 | 低压 | 中低压 | 各种压力 | 低压 | 中低压 |
| 适用口径/mm | 20-50 | 15-200 | 15-200 | 20-65 | 20-50 |
| 精度 | 低 | 中 | 高 | 高 | 高 |
| 流通能力 | 中 | 小 | 大 | 大 | 中 |
| 密封性能 | 中 | 好 | 中 | 中 | 中 |
| 灵敏性 | 中 | 高 | 低 | 中 | 高 |
| 成本 | 中 | 低 | 高 | 高 | 较高 |
答:常用阀门的选用见表 2-68。
| 阀门种类 | 图例 | 主要用途 |
| 闸阀 | ![]() | 截断介质,允许双向流动,全启全闭,不适于调节流量 |
| 截止阀 | ![]() | 截断介质,不允许双向流动;调节参数不严格时,可代做调节阀,但不再起关闭作用;密封性较闸阀好 |
| 球阀 | ![]() | 截断介质,启闭迅速,允许做节流用 |
| 旋塞阀 | ![]() | 一般用途同球阀,三通、四通旋塞还可用作分配和换向 |
| 蝶阀 | ![]() | 截断介质,启闭迅速,也可做节流用 |
| 隔膜阀 | ![]() | 用于腐蚀性介质的启闭和节流,也可用于带悬浮物介质 |
| 柱塞阀 | 截断介质、全启全闭,也可调解流量;密封性好,泄漏少(注:GB 没有规定图例) | |
| 节流阀 | ![]() | 调节介质流量计压力,但调节精度不高,没有调节阀的调节特性,不做截断用 |
| 调节阀 | ![]() | 调节介质流量及压力(注:图例表示带弹簧薄膜元件的调节阀) |
| 止回阀 | ![]() | 自动防止介质倒流(注:图例中流向有空白三角形至非空白三角形) |
| 安全阀 | ![]() | 用作设备或管路的超压保护,能自动维持压力在安全值以下(注:图例中左为弹簧式,右为重锤式) |
| 减压阀 | ![]() | 可自动将介质压力减低至所需压力(注:图例中小三角形为高压端) |
| 疏水阀 | ![]() | 可自动排除蒸汽管路或系统中的凝结水,并阻止蒸汽逸漏,同时也可排除管路系统中的空气和其他水凝性气体(注:图例中左为 GB141,右为 ISO) |
答:浮球阀也称漂子门,是一种自动补水阀门,用作高位水箱及各种贮水器中进水的自动开关设备,其结构如图 2-29 所示,它是由浮球、杠杆、阀瓣、阀座四个部分组成。浮球阀在水面上,如水面升高,球阀也随之升高,浮球带动杠杆式阀瓣压在阀座上,将阀座关闭,停止进水。当水位低于规定位置时,浮球也随之下降,带动杠杆使阀瓣离开阀座,让水进入水箱。如此周而复始的动作,就实现了水位的自动控制。

图 2-29 浮球阀
答:管线是指各种管道与电气路线。管道包括动力管道与工艺管道;电气线路包括架空线路和电缆线路两种。
3-2 管线基本单元如何划分?
答:工厂企业要本着方便维修和管理的原则,结合各种管线的自然特点(大型企业可把管线划分为若干个基本单位),按规定进行编号和入账,划分原则如下。
(1)动力管道和工艺管道
1)从站房外阀门或分气缸(或储气罐)的配出阀门到该管路上的第一阀门(包括第一阀门)的管道为一个单元。
2)从第一阀门到第二阀门(包括第二阀门),或者从一阀门倒下一阀门(包括下一阀门)的管道为一个单元。
3)该管道每一入户管段至各固点使用电的管路为一单元。
4)各管路应包括有关附件。
(2)上门管道
1)自备泵房的上水管道:①从水塔下管道阀门(或从水塔)到管路上第一阀门(包括第一阀门)为一单元;②深井泵的总配出阀门到管道上第一阀门的管道为第一单元;③从一阀门到下一阀门(包括下一阀门)的水管为一单元;④水管每一入户管段到各固定使用点的水管为一单元;⑤水塔及深井泵的总配出阀门属泵房,不列入管路单元。
2)城市给水管道:①从进场水管总阀门到管路上第一阀门(包括第一阀门)的水管为一单元;②从一阀门到下一阀门(包括下一阀门)的水管为一单元;③水管末级阀门到各固定使用点的水管为一单元。
(3)电力线路
1)配电间每一路引出母线或电缆(或两次侧开关后端接点引出母线或电缆),包括分支干线为一单元;上述线路应包括瓷件、横担、电缆头、电缆中间接头等附件。
2)变配点所的变压器一次侧高压隔离开关(或跌落熔断器)至该配电所二次侧引出母线开关的末端接点为变配点所的复数线路,不单独编号。
3)动力配电箱(板)及引入、引出线为该箱(板)附设线路,不单独编号。
(4)照明线路:一个照明控制箱(开关)及控制的灯具、线路等为一单元。
(5)电话线路:从交换机(总机)配线架分出的每一个电缆线路(包括各分线盒、中间接头)各为一单元。
答:管线图样管理的要求是:
为加强各种管线的管理,确保安全运行,应按要求整顿各类管线和绘制动力管线图,并责成有关部门指定专人管理。
各种管线图应统一以全厂建筑物平面布置图为底图进行绘制。全场平面图的绘制应符合国标 GB/T 50104-2001《建筑制图标准》,并采用建筑坐标进行标注,各管线应对建筑物标注距离尺寸或用建筑坐标标注其方位。
管线图中各管道口径(公称直径)和电线电缆直径以 mm 为单位,其余尺寸一律以 m 为单位,并精准到小数点后两位进行标注,原有的建筑物和各种管线可放宽到小数点后一位进行标注。各类管线图可分类、分片进行绘制,也可合成在一张平面图上。
答:(1)管道图绘制规定
1)各类动力管道中的管件符号应按国标 GB/T 6567.3-2008 的规定绘制。
2)输送液体与气体管路符号的规定:输送各种液体与气体的管路一律用实线表示,为了区别各种不同的管路,在线的中间须注上汉语拼音字母的规定符号。
3)上水管的符号为“S”:①S 为上水管(不分类型);②S1 为生产上水管;③S2 为生活上水管;④S3 为生产、生活消防上水管;⑤S4 为生产消防上水管;⑥S5 为生活消防上水管;⑦S6 为消防水上管;⑧S7 为高压供水管;⑨S8 为软化水管;⑩S9 为冲洗水管;⑪S10 为低温水管;⑫S11 为城市上水管;⑬S12 为原有上水管(利用);⑭S13 为原有上水管(废除)。
4)下水管的符号为“X”:①X 为下水管(不分类型);②X1 为生产下水管(自流);③X2 为生产下水管(压力);④X3 为生活下水管(自流);⑤X4 为生活下水管(压力);⑥X5 为生产生活下水管(自流);⑦X6 为生产生活下水管(压力);⑧X7 为生产雨水下水管(自流);⑨X8 为生产雨水下水管(压力)。
5)循环水管的符号为 “XH”。
6)化工管的符号为“H”。
7)热水管的符号为“R”:①R 为热水管(不分类型);②R1 为生产热水管(循环自流);③R2 为生产热水管;④R3 为生活热水管;⑤R4 为热水回水管;⑥R5 为采暖温水送水管;⑦R6 为采暖温水回水管。
8)凝结水管的符号为“N”:①N1 为凝结水管;②N2 为凝结回水管(自流);③N3 为凝结回水管(压力)。
9)冷冻水管的符号为“L”:①L1 为冷冻水管;②L2 为冷冻回水管。
10)蒸汽管的符号为“Z”。
11)煤气管的符号为“M”:①M1 为高炉煤气管;②M2 为焦炉煤气管;③M3 为发生炉热煤气管;④M4 为发生炉冷媒气管;⑤M5 为发生炉水煤气管。
12)压缩空气的符号为“YSj”。
13)氧气管的符号为“YQ”。
14)氮气管的符号为“DQ”。
15)氢气管的符号为“QQ”。
16)乙炔管的符号为“YJ”。
17)鼓风管的符号为“GF”。
18)通风管的符号为“TF”
19)油管的符号为“Y”:①Y1 为原油罐;②Y3 为车用汽油管;③Y5 为燃料油管;④Y7 为柴油管;⑤Y9 为重油管;⑥Y11 为润滑油管。
20)图上管路的直径尺寸、流体参数和代号可按图 3-1 所示方法标注。

图 3-1 管道标识方法示意图
管道的规定符号一般用汉语拼音字母表示。阿拉伯数字表述流体参数。例如:
S1DN100,标示生产上水管。其公称直径为 100mm。
13Z DN200,表示 13 个绝对大气压的公称直径为 200mm 的蒸汽管道。
1400M3DN500,表示发生炉热煤气其热值为 1400kcal/m³(1cal=4.1868J),公称直径为 500mm 的发生炉煤气管路;
90R DN100,表示 90℃ 的公称直径 100mm 的热水管路。
21)图上同时出现地面和埋地管线时,埋地管路可用虚线表示,但用实线表示时必须注上标高,每线图一般要列出所用规定符号的说明,同一图上的管道不论管子大小必须用同等粗细的线条画出,其辅助图例及符号见表 3-1。
| 序号 | 名称 | 图例 | 备注 |
| 1 | 保湿管 | ![]() | 全部的可用直线或文字说明 |
| 2 | 地沟管 | ![]() | 全部的可用直线或文字说明 |
| 3 | 架空管 | ![]() | 有了飙高可不注符号 |
| 4 | 原有管 | ![]() | 2、15 为线距及线段长度 |
| 5 | 埋地管 | ![]() | 可用实线表示,但必须注上标高 |
| 6 | 管路坡度及方向 | ![]() | |
| 7 | 暖气管井 | ![]() | 原有的井可用虚线表示 |
| 8 | 上水管井/下水管井/排水沟井 | ![]() | 原有的井可用虚线表示 |
| 9 | 消火栓井 | ![]() | 原有的井可用虚线表示 |
| 10 | 化粪池 | ![]() | 原有的池可用虚线表示 |
| 11 | 雨水井 | ![]() | 原有的井可用虚线表示 |
22)管道零件、附件及热力工程的规定符号如下:①管道及其联接的一般符号规定如图 3-2 所示。

图 3-2 管道连接符号示意
23)动力管道中各阀门、表针均应单独在图上标注方位尺寸、型号规格及有关编号。
24)动力管道上(厂区或车间)均应画到各固定使用点,给水管道画到各用户龙头,压缩空气管道画到各用气设备的进口阀门等。
(2)电力线路图绘制要求
1)企业应绘制变配电一、二次接线图,原理图,电力配电线路图(包括照明路灯图)。
2)电力线路途中符号应按 GB/T4728.5-2005 和 GB/T4728.11-2008 的规定绘制。
3)电气符号通常包括电气系统图图形符号、电工设备文字符号和电工系统图的回路标号三种。
电气系统图中的图形符号见表 3-3;用以区分电气系统中的设备、装置元件及线路的名称、性能、作用、位置、安装方式和文字符号见表 3-4;电气系统平面布置图中用的标注符号见表 3-5。