高压卡套球阀
GB标准气动球阀
销售:13671530603
咨询:021-57522756
邮箱:sw@wotuo.net
地址:上海市奉贤区川南奉公路9860号
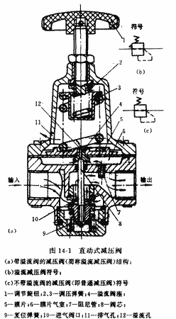
直动式减压阀的工作原理

减压阀工作原理比较复杂,下面为大家介绍一下直动式减压阀的工作原理。
图14—1a所示为直动式带溢流阀的减压阀(简称溢流减压阀)的结构图。压力为P1的压缩空气,由左端输入经阀口10节流后,压力降为P2输出。P2的大小可由调压弹簧2、3进行调节。顺时针旋转旋钮1,压缩弹簧2、3及膜片5使阀芯8下移,增大阀口10的开度使P2增大。若反时针旋转旋钮1,阀口10的开度减小,P2随之减小。
若P1瞬时升高,P2将随之升高,使膜片气室6内压力升高,在膜片5上产生的推力相应增大,此推力破坏了原来力的平衡,使膜片5向上移动,有少部分气流经溢流孔12、排气孔11排出。在膜片上移的同时,因复位弹簧9的作用,使阀芯8也向上移动,关小进气阀口10,节流作用加大,使输出压力下降,直至达到新的平衡为止,输出压力基本又回到原来值。若输入压力瞬时下降,输出压力也下降、膜片5下移,芯8随之下移,进气阀口10开大,节流作用减小,使输出压力也基本回到原来值。逆时针旋转旋钮1。使调节弹簧2、3放松,气体作用在膜片5上的推力大于调压弹簧的作用力,膜片向上曲,靠复位弹簧的作用关闭进气阀口10。再旋转旋钮1,进气阀芯8的顶端与溢流阀座4将脱开,膜片气室6中的压缩空气便经溢流孔12、排气孔11排出,使阀处于无输出状态。
总之,溢流减压阀是靠进气口的节流作用减压,靠膜片上力的平衡作用和溢流孔的溢流作用稳压;调节弹簧即可使输出压力在一定范围内改变。为防止以上溢流式减压阀徘出少量气体对周围环境的污染,可采用不带溢流阀的减压阀(即普通减压阀)。