球阀,蝶阀,截止阀,气动球阀,气动角座阀

加入收藏 TEL: 13671530603

产品中心 Products

推荐文章

more +

推荐产品

more +

销售:13671530603

咨询:021-57522756

邮箱:sw@wotuo.net

地址:上海市奉贤区川南奉公路9860号

阀门填料函泄漏的原因与解决办法

阀门填料函泄漏的原因与解决办法

    在阀盖(或阀体)上充填填料的结构,用来阻止介质由阀杆处泄漏,介质为水、油、气的通用铸钢闸阀、铸钢截止阀填料函结构较为简单;真空闸阀、真空截止阀、在有放射性介质,有毒化学介质场合的波纹管截止阀,振动频繁工作的电动球阀和气动球阀等,其填料函的泄漏要求十分严格,结构也复杂,为防止压盖螺纹和螺栓产生松动;在填料压盖上增加弹簧、弹簧垫圈、止动圈和背帽等防松装置。

    填料函孔在使用过程中产生损坏的主要原因有:工作介质的腐蚀;因介质泄漏而冲蚀;因装拆填料不当产生机械性损坏;阀门填料函泄漏的原因与解决办法因填料与孔壁的接触而产生的电腐蚀或化学腐蚀等。如果填料函孔损坏严重时,可将阀杆孔用低碳钢材料堵死,再在函孔底部堆焊,填料函材料是碳钢时可用D507焊条,是合金钢可用奥氏体不锈钢焊条,然后在车床上校正后复车。填料函孔壁有轻微损伤,可用砂布打磨或用刮刀修刮。

      3-13121ZZ11E62.jpg                                       

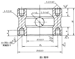
    加长阀盖的低温阀门或者有放射性介质,有毒化学介质场合的波纹管截止阀等阀门的填料函中采用了隔环(分流环),在需要更换或修理时,可按原隔环尺寸复制,也可按技术标准选用。机械部JB1708标准中规定了填料函用隔环的结构型式、尺寸和技术要求。适于相应的公称压力和公称通径的阀门的填料函使用。材料采用1cr13、304、316等材料制作。隔环的结构型式可参照图1。如果需车制隔环时,一定要注意环的两个隔面的平行,并且要与环的外圆和内孔垂直。


在线咨询
扫一扫
关注公众号